LEMON Manuals: Even more car manuals for everyone: 1960-2025
Home >> Toyota >> 2004 >> RAV4 Base, AWD, Standard >> Repair and Diagnosis >> Transmission >> Manual Trans >> Manual Transaxle >> Manual Transaxle Assembly >> Replacement
April 5, 2026: LEMON Manuals is launched! Read the announcement.

Manual Transaxle Assembly: Replacement

  1. REPLACE INPUT SHAFT FRONT BEARING AND OIL SEAL 
    1. Remove the 3 bolts and transaxle case receiver.
    2. Using SST, pull out the bearing.

      SST 09612-65014 (09612-01040, 09612-01050)

    3. Fig 1: Pulling Out Bearing
      G02925865Courtesy of © TOYOTA, LICENSE AGREEMENT TMS1002
    4. Using a screwdriver, remove the oil seal.
    5. Using SST, drive in a new oil seal.

      SST 09608-00081, 09950-70010 (09951-07150)

    6. Fig 2: Driving In New Oil Seal
      G02925866Courtesy of © TOYOTA, LICENSE AGREEMENT TMS1002
    7. Coat the lip of seal with MP grease.
    8. Using SST, drive in a new bearing.

      SST 09950-60010 (09951-00580), 09950-70010 (09951-07150)

    9. Fig 3: Driving In New Bearing
      G02925867Courtesy of © TOYOTA, LICENSE AGREEMENT TMS1002
    10. Install the transaxle case receiver.
    11. Install and torque the 3 bolts.

      Torque: 7.0 N.m (71 kgf.cm, 62 in.lbf) 

  2. REPLACE OUTPUT SHAFT FRONT BEARING OUTER RACE AND OUTPUT SHAFT FRONT COVER 
    1. Using SST, pull out the output shaft front bearing outer race.

      SST 09308-00010

    2. Fig 4: Removing Output Shaft Front Bearing Outer Race
      G02925868Courtesy of © TOYOTA, LICENSE AGREEMENT TMS1002
    3. Remove the output shaft cover.
    4. Install a new output shaft cover.
      Fig 5: Installing New Output Shaft Cover
      G02925869Courtesy of © TOYOTA, LICENSE AGREEMENT TMS1002

      HINT:

      Install the output shaft cover projection into the case side groove.

    5. Using SST and a hammer, drive in a new output shaft front bearing outer race.

      SST 09316-6001 1 (09316-00011, 09316-00021)

      Fig 6: Installing New Output Shaft Front Bearing Outer Race
      G02925870Courtesy of © TOYOTA, LICENSE AGREEMENT TMS1002
  3. REPLACE REVERSE RESTRICT PIN 
    1. Using a hexagon wrench (6 mm), remove the screw plug.
    2. Fig 7: Removing Screw Plug
      G02925871Courtesy of © TOYOTA, LICENSE AGREEMENT TMS1002
    3. Using a pin punch (5 mm) and hammer, drive out the slotted spring pin.
    4. Replace the reverse restrict pin.
    5. Using a pin punch (5 mm) and hammer, drive in the slotted spring pin.
    6. Fig 8: Driving In Slotted Spring Pin
      G02925872Courtesy of © TOYOTA, LICENSE AGREEMENT TMS1002
    7. Apply sealant to the screw plug threads.

      Sealant: 

      Part No. 08833-00080, THREE BOND 1344, LOCTITE 242 or equivalent 

    8. Using a hexagon wrench (6 mm), install and torque the screw plug.

      Torque: 13 N.m (130 kgf.cm, 9 ft.lbf) 

  4. REPLACE CONTROL SHAFT COVER OIL SEAL AND BUSHING 
    1. Using a screwdriver, pry out the oil seal.
      Fig 9: Prying Out Oil Seal
      G02925873Courtesy of © TOYOTA, LICENSE AGREEMENT TMS1002
    2. Using SST and a press, press out the bushing.

      SST 09950-60010 (09951-00200, 09951-00210), 09950-70010 (09951-07150)

      Fig 10: Pressing Out Bushing
      G02925874Courtesy of © TOYOTA, LICENSE AGREEMENT TMS1002
    3. Using SST and a press, press in a new bushing.

      SST 09950-60010 (09951-00200), 09950-70010 (09951-07150)

      Depth: 0.65 +/- 0.25 mm (0.0256 +/- 0.0098 in.) 

      Fig 11: Pressing In New Bushing
      G02925875Courtesy of © TOYOTA, LICENSE AGREEMENT TMS1002
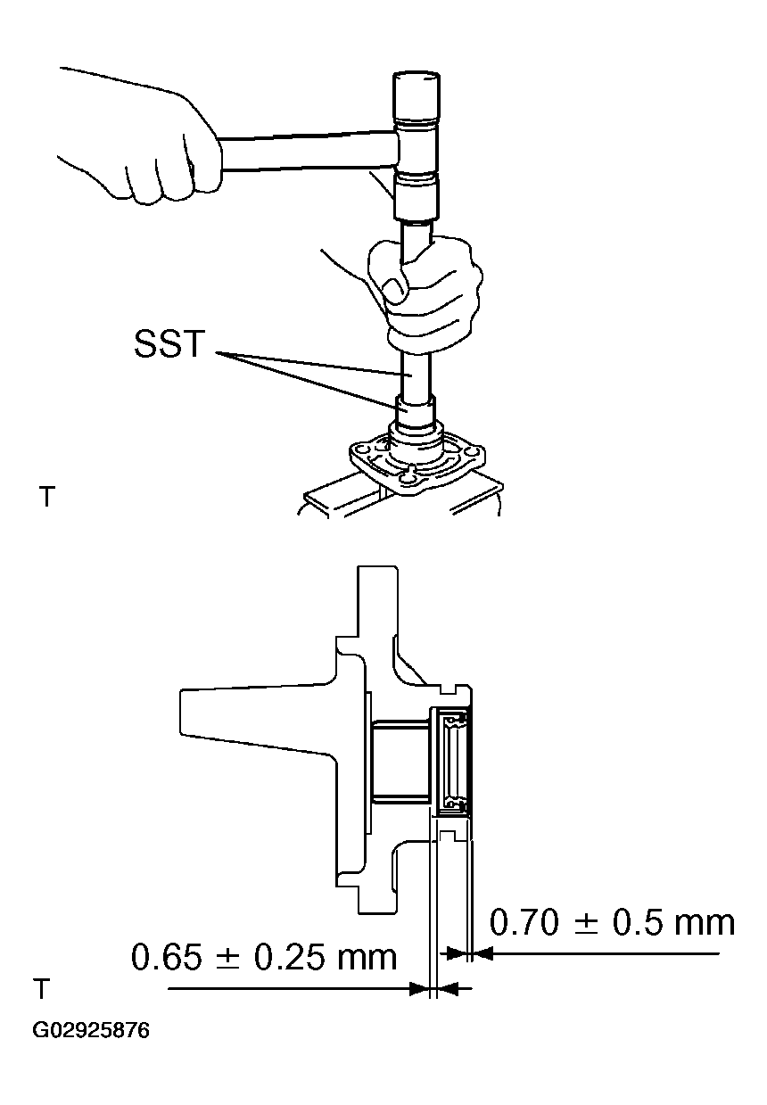
    4. Using SST and a plastic-faced hammer, carefully tap in a new oil seal.

      SST 09950-60010 (09951-00270), 09950-70010 (09951-07150)

      Depth: 0.70 +/- 0.50 mm (0.0276 +/- 0.0197 in.) 

      Fig 12: Tapping In New Oil Seal
      G02925876Courtesy of © TOYOTA, LICENSE AGREEMENT TMS1002