LEMON Manuals: Even more car manuals for everyone: 1960-2025
Home >> Toyota >> 2004 >> Sequoia Limited, RWD >> Repair and Diagnosis >> Body & Frame >> Windows >> Power Window Control System >> Inspection
April 5, 2026: LEMON Manuals is launched! Read the announcement.

Power Window Control System: Inspection

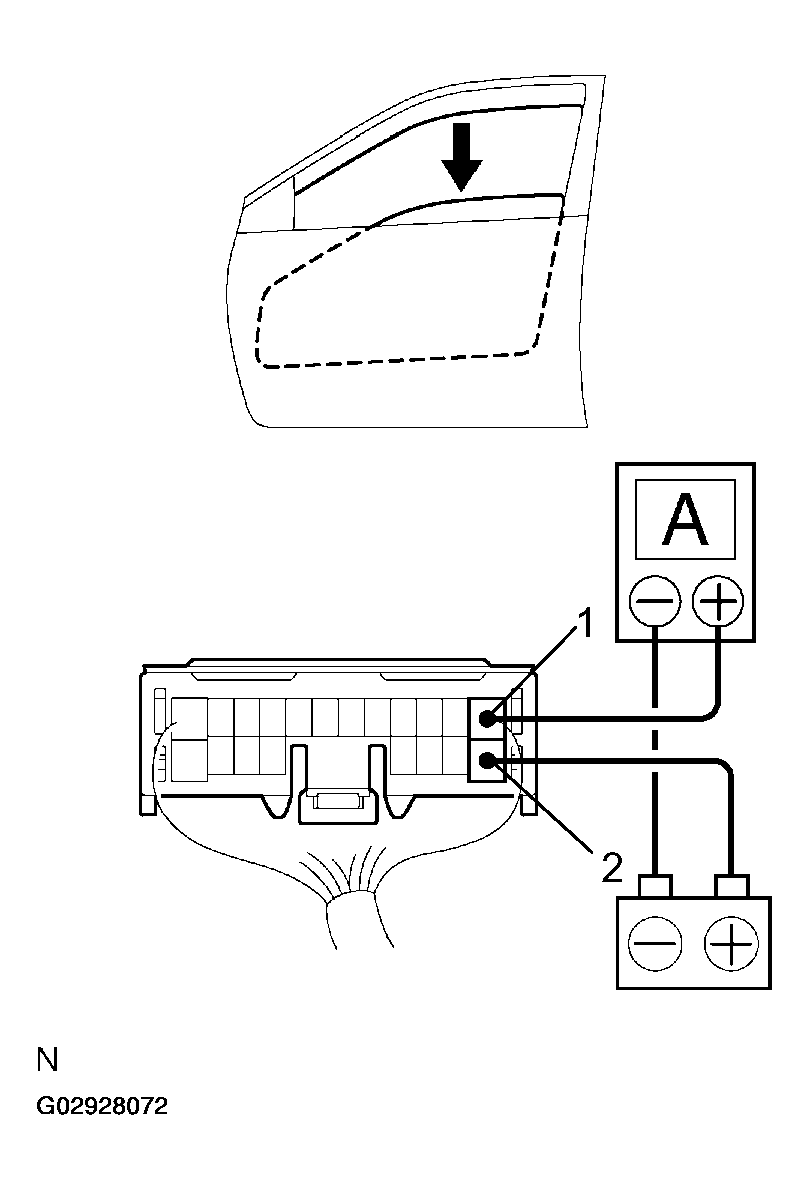
  1. INSPECT ONE-TOUCH POWER WINDOW SYSTEM CURRENT OF CIRCUIT (Using an ammeter) 
    1. Disconnect the connector from the master switch.
    2. Connect the positive (+) lead from the ammeter to terminal 1 on the wire harness side connector and the negative (-) lead to negative (-) terminal of the battery.
    3. Connect the positive (+) lead from the battery to terminal 2 on the wire harness side connector.
    4. As the window goes down, check that the current flow is approximately 7 A.
    5. Check that the current increases up to approximately 14.5 A or more when the window stops going down.
    NOTE: The PTC opens some 4 - 90 seconds after the window stops going down, so that check must be made before the PTC operates.

    If the operation is not as specified, replace the master switch.

    Fig 1: Inspecting One-Touch Power Window System Current Of Circuit
    G02928072Courtesy of © TOYOTA, LICENSE AGREEMENT TMS1002
  2. INSPECT REAR DOOR POWER WINDOW SWITCH CONTINUITY 
    TESTER CONNECTION SPECIFIED CONDITION

    Switch Position Tester Connection Specified Condition
    UP 2 - 3, 4 - 5 Continuity
    OFF 2 - 3 - 5 Continuity
    DOWN 2 - 4, 3 - 5 Continuity

    If continuity is not as specified, replace the switch.

  3. INSPECT POWER WINDOW SWITCH CIRCUIT 
    1. (Driver's Door: See  POWER SOURCE CIRCUIT  ) 
    2. (Passenger's Door: See  POWER SOURCE CIRCUIT  ) 
    3. (Rear Door: See  REAR POWER WINDOW SWITCH CIRCUIT  ) 
    4. (Back Door: See  BACK DOOR POWER WINDOW SWITCH CIRCUIT  ) 
    Fig 2: Identifying Rear Door Power Window Switch Connector Terminals
    G02928073Courtesy of © TOYOTA, LICENSE AGREEMENT TMS1002
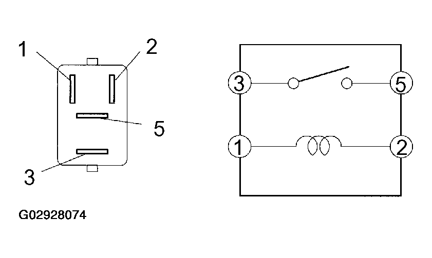
  4. INSPECT POWER MAIN RELAY CONTINUITY 
    TESTER CONNECTION SPECIFIED CONDITION

    Condition Tester Connection Specified Condition
    Always 1 - 2 Continuity
    Always 3 - 5 No Continuity
    Apply B+ Between Terminals 1 And 2. 3 - 5 Continuity

    If continuity is not as specified, replace the relay.

    Fig 3: Checking Power Main Relay Continuity
    G02928074Courtesy of © TOYOTA, LICENSE AGREEMENT TMS1002
  5. Driver's Door: 
    1. INSPECT POWER WINDOW MOTOR OPERATION 
    1. Connect the positive (+) lead from the battery terminal 1 and the negative (-) lead to terminal 2, and check that the motor turns clockwise.
      Fig 4: Inspecting Power Window Motor Operation Driver's Door (Rotating Clockwise)
      G02928075Courtesy of © TOYOTA, LICENSE AGREEMENT TMS1002
    2. Reverse the polarity, check that the motor turns counterclockwise.

    If operation is not as specified, replace the power window motor.

    NOTE: Since the jam protection may not work properly, be sure to conduct procedures described in "HOW TO RESET POWER MOTOR (RESET AND PULSE SWITCH)" after this inspection.
    Fig 5: Inspecting Power Window Motor Operation (Driver's Door Rotating Counterclockwise)
    G02928076Courtesy of © TOYOTA, LICENSE AGREEMENT TMS1002
  6. Passenger's Door: 
    1. INSPECT POWER WINDOW MOTOR OPERATION 
    1. Connect the positive (+) lead from the battery to terminal 1 and the negative (-) lead to terminal 2, and check that the motor turns clockwise.
      Fig 6: Inspecting Power Window Motor Operation Passenger's Door (Rotating Clockwise)
      G02928077Courtesy of © TOYOTA, LICENSE AGREEMENT TMS1002
    2. Reverse the polarity, check that the motor turns counterclockwise.

    If operation is not as specified, replace the power window motor.

    NOTE: Since the jam protection may not work properly, be sure to conduct procedures described in "HOW TO RESET POWER MOTOR (RESET AND PULSE SWITCH)" after this inspection.
    Fig 7: Inspecting Power Window Motor Operation Passenger's Door (Rotating Counterclockwise)
    G02928078Courtesy of © TOYOTA, LICENSE AGREEMENT TMS1002
  7. Rear Right Door: 
    1. INSPECT POWER WINDOW MOTOR OPERATION 
    1. Connect the positive (+) lead from the battery to terminal 1 and the negative (-) lead to terminals 2, check that the motor turns clockwise.
      Fig 8: Inspecting Power Window Motor Operation Rear Right Door (Rotating Clockwise)
      G02928079Courtesy of © TOYOTA, LICENSE AGREEMENT TMS1002
    2. Reverse the polarity, check that the motor turns counterclockwise.

    If operation is not as specified, replace the power window motor.

    Fig 9: Inspecting Power Window Motor Operation Rear Right Door (Rotating Counterclockwise)
    G02928080Courtesy of © TOYOTA, LICENSE AGREEMENT TMS1002
  8. Rear Left Door: 
    1. INSPECT POWER WINDOW MOTOR OPERATION 
    1. Connect the positive (+) lead from the battery to terminal 1 and the negative (-) lead to terminal 2, check that the motor turns clockwise.
      Fig 10: Inspecting Power Window Motor Operation Rear Left Door (Rotating Clockwise)
      G02928081Courtesy of © TOYOTA, LICENSE AGREEMENT TMS1002
    2. Reverse the polarity, check that the motor turns counterclockwise.

    If operation is not as specified, replace the power window motor.

    Fig 11: Inspecting Power Window Motor Operation Rear Left Door (Rotating Counterclockwise)
    G02928082Courtesy of © TOYOTA, LICENSE AGREEMENT TMS1002
  9. Front Door: 
    1. INSPECT PTC OPERATION 
    1. Disconnect the connector from the wire harness side connector.
    2. Connect the negative (-) lead from the ammeter to terminal 1 of the motor side connector and the positive (+) lead to negative terminal of the battery.
    3. Connect the positive (+) lead from the battery to terminal 2 of the motor side connector, and raise the window to the fully closed position.
    4. Continue to apply voltage, check that the current changes from approximately 14 A to less than 1 A within 4 to 90 seconds.
    5. Disconnect the leads from terminals.
    6. Approximately 90 seconds later, connect the positive (+) lead from the battery to terminal 1 and the negative (-) lead to terminal 2, check that the window begins to goes down.

    If operation is not as specified, replace the power window motor.

    Fig 12: Measuring Current Between Power Window Connector Terminal
    G02928083Courtesy of © TOYOTA, LICENSE AGREEMENT TMS1002
    Fig 13: Inspecting PTC Operation (Window Moving Downward)
    G02928084Courtesy of © TOYOTA, LICENSE AGREEMENT TMS1002
  10. Rear Door: 
    1. INSPECT PTC OPERATION 
    1. Disconnect the connector from the wire harness side connector.
    2. Connect the negative (-) lead from the ammeter to terminal 1 of the motor side connector and the positive (+) lead to negative terminal of the battery.
    3. Connect the positive (+) lead from the battery to terminal 2 of the motor side connector, and raise the window to the fully closed position.
    4. Continue to apply voltage, check that the current changes from approximately 14 A to less than 1 A within 4 to 90 seconds.
    5. Disconnect the leads from terminals.
    6. Approximately 90 seconds later, connect the positive (+) lead from the battery to terminal 1 and the negative (-) lead to terminal 2, check that the window begins to goes down.

    If operation is not as specified, replace the power window motor.

    Fig 14: Measuring Current Between Power Window Connector Terminals
    G02928085Courtesy of © TOYOTA, LICENSE AGREEMENT TMS1002
    Fig 15: Inspecting PTC Operation (Window Moving Downward)
    G02928086Courtesy of © TOYOTA, LICENSE AGREEMENT TMS1002
  11. INSPECT JAM PROTECTION FUNCTION 
    NOTE: Be careful not to be caught any part of your body when checking.
    NOTE: In case of performing resetting of the limit switch, do checking after repeating up and down of the glass with automatic operation.
    1. Confirmation of AUTO up operation:
      1. Confirm that the window will be fully closed with AUTO up operation.
    2. Checking of the operation of the jam protection function:
      1. Move up the window with AUTO up operation and check that the window will go down when it touches the inserted handle of the hammer.
      2. Confirm that the window will then stop going down about 200 mm (7.87 in.).
    NOTE: In case of removing the glass, glass guide, regulator and etc. be sure to perform checking of the jam protection function. If the jam protection is not function properly, adjust power window motor reset switch and pulse switch.