LEMON Manuals: Even more car manuals for everyone: 1960-2025
Home >> Toyota >> 2004 >> Tundra Base, Standard >> Repair and Diagnosis >> Body & Frame >> Seats >> Power Seat Control System >> Inspection
April 5, 2026: LEMON Manuals is launched! Read the announcement.

Power Seat Control System: Inspection

  1. INSPECT POWER SEAT SWITCH CONTINUITY 

    Slide switch: 

    POWER SEAT SLIDE SWITCH CONTINUITY CHECK

    Switch Position Tester Connection Specified Condition
    FRONT 1 - 9, 4 - 6 Continuity
    OFF 4 - 6 - 9 Continuity
    BACK 1 - 6, 4 - 9 Continuity

    Front tilt switch: 

    POWER SEAT FRONT TILT SWITCH CONTINUITY CHECK

    Switch Position Tester Connection Specified Condition
    UP 1 - 10, 4 - 5 Continuity
    OFF 4 - 5 - 10 Continuity
    DOWN 1 - 5, 4 - 10 Continuity

    Rear lifter switch: 

    POWER SEAT REAR TILT SWITCH CONTINUITY CHECK

    Switch Position Tester Connection Specified Condition
    UP 1 - 7, 4 - 8 Continuity
    OFF 4 - 7 - 8 Continuity
    DOWN 1 - 8, 4 - 7 Continuity

    Reclining switch: 

    POWER SEAT RECLINING SWITCH CONTINUITY CHECK

    Switch Position Tester Connection Specified Condition
    FORWARD 1 - 3, 2 - 4 Continuity
    OFF 2 - 3 - 4 Continuity
    REAR 1 - 2, 3 - 4 Continuity
    Fig 1: Identifying Power Seat Switch Connector Terminals
    G02932015Courtesy of © TOYOTA, LICENSE AGREEMENT TMS1002

    If the continuity is not as specified, replace the switch.

  2. INSPECT LUMBAR SUPPORT SWITCH CONTINUITY 
    LUMBAR SUPPORT SWITCH CONTINUITY CHECK

    Switch Position Tester Connection Specified Condition
    FORWARD 1 - 4, 2 - 3 Continuity
    OFF 1 - 2 - 3 Continuity
    RELEASE 1 - 3, 2 - 4 Continuity
    Fig 2: Inspecting Lumbar Support Switch Operation
    G02932016Courtesy of © TOYOTA, LICENSE AGREEMENT TMS1002

    If the continuity is not as specified, replace the switch.

  3. INSPECT SLIDE MOTOR OPERATION 
    1. Connect the positive (+) lead from the battery to terminal 1 and the negative (-) lead to terminal 2. Check that the motor turns clockwise.
    2. Reverse the polarity, and check that the motor turns counterclockwise.

    If operation is not as specified, replace the seat adjuster.

    Fig 3: Inspecting Slide Motor Operation
    G02932017Courtesy of © TOYOTA, LICENSE AGREEMENT TMS1002
  4. INSPECT SLIDE MOTOR PTC THERMISTOR OPERATION 
    1. Connect the positive (+) lead from the battery to terminal 2, the positive (+) lead from the ammeter to terminal 1 and the negative (-) lead to the battery negative (-) terminal. Then move the seat cushion to the rear position.
    2. Continue to apply voltage, and check that current changes to less than 1 A within 4 to 90 seconds.
      Fig 4: Inspecting Slide Motor PTC Thermistor (Rear Position)
      G02932018Courtesy of © TOYOTA, LICENSE AGREEMENT TMS1002
    3. Disconnect the leads from the terminals.
    4. Approximately 60 seconds later, connect the positive (+) lead from the battery to terminal 1 and the negative (-) lead to terminal 2. Check that the seat cushion begins to move forward.

    If operation is not as specified, replace the seat adjuster.

    Fig 5: Inspecting Slide Motor PTC Thermistor Operation (Forward Position)
    G02932019Courtesy of © TOYOTA, LICENSE AGREEMENT TMS1002
  5. INSPECT FRONT TILT MOTOR OPERATION 
    1. Connect the positive (+) lead from the battery to terminal 1 and the negative (-) lead to terminal 2. Check that the motor turns clockwise.
    2. Reverse the polarity, and check that the motor turns counterclockwise.

    If operation is not as specified, replace the seat adjuster.

    Fig 6: Inspecting Front Tilt Motor Operation
    G02932020Courtesy of © TOYOTA, LICENSE AGREEMENT TMS1002
  6. INSPECT FRONT TILT MOTOR PTC THERMISTOR OPERATION 
    1. Connect the positive (+) lead from the battery to terminal 1, the positive (+) lead from the ammeter to terminal 2 and the negative (-) lead to the battery negative (-) terminal. Then move the seat cushion to the highest position.
    2. Continue to apply voltage, and check that the current changes to less than 1 A within 4 to 90 seconds.
      Fig 7: Inspecting Front Tilt Motor PTC Thermistor Operation (Highest Position)
      G02932021Courtesy of © TOYOTA, LICENSE AGREEMENT TMS1002
    3. Disconnect the leads from the terminals.
    4. Approximately 60 seconds later, connect the positive (+) lead from the battery to terminal 2 and the negative (-) lead to terminal 1. Check that the seat cushion begins to descend.

    If operation is not as specified, replace the seat adjuster.

    Fig 8: Inspecting Front Tilt Motor PTC Thermistor Operation (Descend Position)
    G02932022Courtesy of © TOYOTA, LICENSE AGREEMENT TMS1002
  7. INSPECT LIFTER MOTOR OPERATION 
    1. Connect the positive (+) lead from the battery to terminal 1 and the negative (-) lead to terminal 2. Check that the motor turns clockwise.
    2. Reverse the polarity, and check that the motor turns counterclockwise.

    If operation is not as specified, replace the seat adjuster.

    Fig 9: Inspecting Lifter Motor Operation
    G02932023Courtesy of © TOYOTA, LICENSE AGREEMENT TMS1002
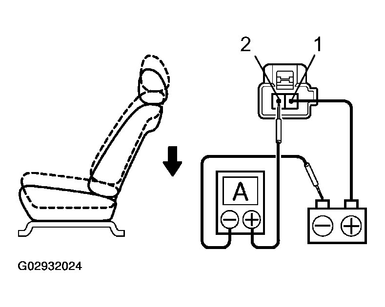
  8. INSPECT LIFTER MOTOR PTC THERMISTOR OPERATION 
    1. Connect the positive (+) lead from the battery to terminal 1, the positive (+) lead from the ammeter to terminal 2 and the negative (-) lead to the battery negative (-) terminal. Then move the seat cushion to the lowest position.
    2. Continue to apply voltage, and check that the current changes to less than 1 A within 4 to 90 seconds.
      Fig 10: Inspecting Lifter Motor PTC Thermistor Operation (Lower Position)
      G02932024Courtesy of © TOYOTA, LICENSE AGREEMENT TMS1002
    3. Disconnect the leads from the terminals.
    4. Approximately 60 seconds later, connect the positive (+) lead from the battery to terminal 2 and the negative (-) lead to terminal 1. Check that the seat cushion begins to ascend.

    If operation is not as specified, replace the seat adjuster.

    Fig 11: Inspecting Lifter Motor PTC Thermistor Operation (Ascend Position)
    G02932025Courtesy of © TOYOTA, LICENSE AGREEMENT TMS1002
  9. INSPECT RECLINING MOTOR OPERATION 
    1. Connect the positive (+) lead from the battery to terminal 1 and the negative (-) lead to terminal 2. Check that the motor turns clockwise.
    2. Reverse the polarity, and check that the motor turns counterclockwise.

    If operation is not as specified, replace the seat adjuster.

    Fig 12: Inspecting Reclining Motor Operation
    G02932026Courtesy of © TOYOTA, LICENSE AGREEMENT TMS1002
  10. INSPECT RECLINING MOTOR PTC THERMISTOR OPERATION 
    1. Connect the positive (+) lead from the battery to terminal 2, the positive (+) lead from the ammeter to terminal 1 and the negative (-) lead to the battery negative (-) terminal. Then recline the seatback to the most forward position.
    2. Continue to apply voltage, and check that the current changes to less than 1 A within 4 to 90 seconds.
      Fig 13: Inspecting Reclining Motor PTC Thermistor Operation (Most Forward Position)
      G02932027Courtesy of © TOYOTA, LICENSE AGREEMENT TMS1002
    3. Disconnect the leads from the terminals.
    4. Approximately 60 seconds later, connect the positive (+) lead from the battery to terminal 1 and the negative (-) lead to terminal 2. Check that the seatback begins to fall backward.

    If operation is not as specified, replace the seat adjuster.

    Fig 14: Inspecting Reclining Motor PTC Thermistor Operation (Full Backward Position)
    G02932028Courtesy of © TOYOTA, LICENSE AGREEMENT TMS1002
  11. INSPECT LUMBAR SUPPORT MOTOR OPERATION 
    1. Connect the positive (+) lead from the battery to terminal 1 and the negative (-) lead to terminal 2. Check that the lumbar support moves to the release side.
      Fig 15: Inspecting Lumbar Support Motor Operation (Release Side)
      G02932029Courtesy of © TOYOTA, LICENSE AGREEMENT TMS1002
    2. Reverse the polarity, and check that the lumbar support moves forward.

    If operation is not as specified, replace the lumbar support adjuster.

    Fig 16: Inspecting Lumbar Support Motor Operation (Forward Position)
    G02932030Courtesy of © TOYOTA, LICENSE AGREEMENT TMS1002
  12. INSPECT LUMBAR SUPPORT MOTOR CIRCUIT BREAKER OPERATION 
    1. Connect the positive (+) lead from the battery to terminal 2 and the negative (-) lead to terminal 1 on the lumbar support motor connector. Move the lumbar support to the front end position.
      Fig 17: Inspecting Lumbar Support Motor Circuit Breaker Operation (Front End Position)
      G02932031Courtesy of © TOYOTA, LICENSE AGREEMENT TMS1002
    2. Continue to apply voltage, and check that a circuit breaker operation noise can be heard within 4 to 60 seconds.
    3. Reverse the polarity, and check that the lumbar support begins to move to the release side within approximately 60 seconds.

    If operation is not as specified, replace the lumbar support adjuster.

    Fig 18: Inspecting Lumbar Support Motor Circuit Breaker Operation (Release Side)
    G02932032Courtesy of © TOYOTA, LICENSE AGREEMENT TMS1002