LEMON Manuals: Even more car manuals for everyone: 1960-2025
Home >> Toyota >> 2005 >> Avalon XLS >> Repair and Diagnosis >> Body & Frame >> Windows >> Windshield System, WINDOWGLASS System & Mirror System >> Inspection
April 5, 2026: LEMON Manuals is launched! Read the announcement.

Windshield System, WINDOWGLASS System & Mirror System: Inspection

  1. INSPECT OUTER REAR VIEW MIRROR ASSY LH 
    1. Disconnect the outer rear view mirror assy LH connector.
    2. Apply battery voltage and check operation of the mirror heater.

    HINT:

    While using the battery during inspection, do not bring the positive and negative tester probes too close to each other as a short circuit may occur.

    OK: 

    OUTER REAR VIEW MIRROR ASSY LH MEASUREMENT AND SPECIFIED CONDITIONS

    Table Measurement Condition Specified Condition
    Battery positive (+) --> Terminal 18-6 (HTR+) Mirror becomes warm
    Battery negative (-) --> Terminal 18-13 (HTR-) Mirror becomes warm

    If the result is not as specified, replace the mirror assy.

    Fig 1: Inspecting Outer Rear View Mirror Assy LH
    G02972666Courtesy of © TOYOTA, LICENSE AGREEMENT TMS1002
  2. INSPECT OUTER REAR VIEW MIRROR ASSY RH 
    1. Disconnect the outer rear view mirror assy RH connector.
    2. Apply battery voltage and check operation of the mirror heater.

    HINT:

    While using the battery during inspection, do not bring the positive and negative tester probes too close to each other as a short circuit may occur.

    OK: 

    OUTER REAR VIEW MIRROR ASSY RH MEASUREMENT AND SPECIFIED CONDITIONS

    Table Measurement Condition Specified Condition
    Battery positive (+) --> Terminal H8-6 (HTR +) Mirror becomes warm
    Battery negative (-) --> Terminal H8-13 (HTR -) Mirror becomes warm

    If the result is not as specified, replace the mirror assy.

    Fig 2: Inspecting Outer Rear View Mirror RH
    G02972667Courtesy of © TOYOTA, LICENSE AGREEMENT TMS1002
  3. INSPECT BACK WINDOW (DEFOGGER WIRE) 
    NOTE:
    • When cleaning the glass, wipe the glass along the wire using a soft and dry cloth. Take care not to damage the wires.
    • Do not use detergents or glass cleaners that have abrasive ingredients.
    • When measuring voltage, wrap a piece of tin foil around the tip of the negative tester probe and press the foil against the wire with your finger, as shown in the illustration.
    Fig 3: Inspecting Back Window (Defogger Wire)
    G02972668Courtesy of © TOYOTA, LICENSE AGREEMENT TMS1002
    1. Turn the ignition switch on (IG).
    2. Turn the defogger switch on.
    3. Check the voltage at the center of each defogger wire, as shown in the illustration.

      Standard: 

      DEFOGGER WIRE VOLTAGE AND CRITERIA

      Voltage Criteria
      Approx. 5 V Wire is not broken
      Approx. 10 or 0 V Wire is broken
      Fig 4: Checking Defogger Wire Voltage (1 Of 2)
      G02972669Courtesy of © TOYOTA, LICENSE AGREEMENT TMS1002

      HINT:

      If there is approximately 10 V, the wire may be faulty between the center of the wire and the wire end on the battery side. If there is no voltage, the wire may be faulty between the center of the wire and the wire end on the ground side.

      Fig 5: Checking Defogger Wire Voltage (2 Of 2)
      G02972670Courtesy of © TOYOTA, LICENSE AGREEMENT TMS1002
    4. Place the voltmeter's positive (+) lead against the defogger wire on the battery side.
    5. Place the voltmeter's negative (-) lead with the foil strip against the wire on the ground side.
    6. Slide the positive (+) lead from the battery side to the ground side.
    7. The point where the voltage jumps from approximately 10 V to 0 V is where the defogger wire is broken.

      HINT:

      If the defogger wire is not broken, the voltmeter should indicate 0 V at the positive (+) end of the defogger wire but gradually increases to approximately 12 V as the meter probe moves to the other end.

    8. If necessary, repair the defogger wire.
      1. Clean the broken wire tips with grease, wax and silicone remover.
      2. Place 2 pieces of masking tape along both sides of the wire.
      3. Thoroughly mix the repair agent (Dupont paste No. 4817 or equivalent).
        Fig 6: Place 2 Pieces Of Masking Tape Along Both Sides Of Wire
        G02972671Courtesy of © TOYOTA, LICENSE AGREEMENT TMS1002
      4. Using a fine tip brush, apply a small amount of the agent to the wire.
      5. After a few minutes, remove the masking tape.
      NOTE: Do not touch the repaired part on the wire for at least 24 hours, until the repair agent is completely fixed.
      Fig 7: Applying A Small Amount Of Agent To Wire Using A Fine Tip Brush
      G02972672Courtesy of © TOYOTA, LICENSE AGREEMENT TMS1002
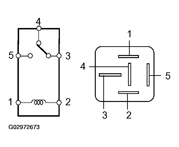
  4. INSPECT RELAY 
    1. Remove the RR DEF relay from the engine room R/B.
    2. Measure the resistance according to the value (s) in the table below.

      Standard: 

      RELAY SPECIFIED CONDITION

      Tester connection Condition Specified condition
      3 - 5 Always 10 kΩ or higher
      3 - 5 Voltage is applied between terminals 1 and 2 Below 1 Ω (Battery voltage is applied between terminals 1 and 2)

      If the result is not as specified, replace the relay.

      Fig 8: Inspecting Relay
      G02972673Courtesy of © TOYOTA, LICENSE AGREEMENT TMS1002