LEMON Manuals: Even more car manuals for everyone: 1960-2025
Home >> Toyota >> 2005 >> Avalon XLS >> Repair and Diagnosis >> Body & Frame >> Windows >> Windshield System, WINDOWGLASS System & Mirror System >> Windshield Glass >> Replacement
April 5, 2026: LEMON Manuals is launched! Read the announcement.

Windshield Glass: Replacement

HINT:

The installation procedures are the removal procedures in reverse order. However, only installation procedures requiring additional information are included.

  1. REMOVE FR WIPER ARM & BLADE ASSY LH (SEE  REPLACEMENT  ) 
  2. REMOVE FR WIPER ARM & BLADE ASSY RH (SEE  REPLACEMENT  ) 
  3. REMOVE COWL TOP VENTILATOR LOUVER RH (SEE  REPLACEMENT  ) 
  4. REMOVE FRONT DOOR OPENING TRIM WEATHERSTRIP LH (SEE  REPLACEMENT  ) 
  5. REMOVE FRONT DOOR OPENING TRIM WEATHERSTRIP RH (SEE  REPLACEMENT  ) 
  6. REMOVE FRONT PILLAR GARNISH LH (SEE  REPLACEMENT  ) 
  7. REMOVE FRONT PILLAR GARNISH RH (SEE  REPLACEMENT  ) 
  8. REMOVE ASSIST GRIP SUB-ASSY FRONT (SEE  REPLACEMENT  ) 
  9. REMOVE ASSIST GRIP SUB-ASSY (SEE  REPLACEMENT  ) 
  10. REMOVE VISOR BRACKET COVER (SEE  REPLACEMENT  ) 
  11. REMOVE LH VISOR ASSY (SEE  REPLACEMENT  ) 
  12. REMOVE RH VISOR ASSY (SEE  REPLACEMENT  ) 
  13. REMOVE ROOF CONSOLE BOX ASSY (SEE  REPLACEMENT  ) 
  14. REMOVE VISOR HOLDER (SEE  REPLACEMENT  ) 
  15. REMOVE INNER REAR VIEW MIRROR STAY HOLDER COVER (w/GARAGE DOOR OPENER) (SEE  REPLACEMENT  ) 
  16. REMOVE RAIN SENSOR COVER (w/AUTO WIPER) (SEE  REPLACEMENT  ) 
  17. REMOVE RAIN SENSOR (w/AUTO WIPER) (SEE  REPLACEMENT  ) 
  18. REMOVE SUN ROOF OPENING TRIM MOLDING (w/SLIDING ROOF) (SEE  REPLACEMENT  ) 
  19. REMOVE ROOF HEADLINING ASSY (SEE  REPLACEMENT  ) 

    HINT:

    It is not necessary to completely remove the roof headlining. Slightly lower the front section of the roof headlining so that the windshield glass can be removed later in step  17.

  20. REMOVE WINDSHIELD MOLDING OUTER UPPER 
    1. Using a knife, cut off the molding as shown in the illustration.
      NOTE: Be careful not to damage the vehicle body with the knife.
    2. Remove the remaining molding.
      Fig 1: Removing Windshield Molding Outer Upper
      G02972686Courtesy of © TOYOTA, LICENSE AGREEMENT TMS1002

    HINT:

    Partially cut the molding. Then pull and remove it by hand.

  21. REMOVE WINDSHIELD GLASS 

    HINT:

    In some cases, both 1-piece type and 2-piece type stoppers are installed in the same vehicle.

    Fig 2: Removing Windshield Glass (1 Of 3)
    G02972687Courtesy of © TOYOTA, LICENSE AGREEMENT TMS1002
    1. From the interior, insert piano wires between the vehicle body and glass as shown in the illustration.
    2. Tie objects that can serve as handles to all wire ends.
      Fig 3: Removing Windshield Glass (2 Of 3)
      G02972688Courtesy of © TOYOTA, LICENSE AGREEMENT TMS1002

      HINT:

      Apply protective tape to the outer surface of the vehicle body to prevent its surface from being scratched.

      Fig 4: Removing Windshield Glass (3 Of 3)
      G02972689Courtesy of © TOYOTA, LICENSE AGREEMENT TMS1002
      NOTE:
      • w/Curtain shield airbag:

        When working around the curtain shield airbag, be careful not to damage the airbag.

      • When separating the glass from the vehicle, be careful not to damage the vehicle's paint or interior/exterior ornaments.
      • To prevent the safety pad from being scratched when removing the glass, place a plastic sheet between the piano wire and safety pad.
    3. Cut through the adhesive by pulling the piano wire around the glass.
    4. Disengage the stoppers.
    5. Using a suction cup, remove the glass.
    NOTE: Leave as much adhesive on the vehicle body as possible when removing the glass.
  22. CLEAN WINDSHIELD GLASS 
    1. Using a scraper, remove the damaged stoppers, the dam and any adhesive remaining the glass.
    2. Clean the outer circumference on of the glass with white gasoline.
    NOTE:
    • Do not touch the glass after cleaning it.
    • Even if using new glass, clean the glass with white gasoline.
    Fig 5: Cleaning Windshield Glass
    G02972690Courtesy of © TOYOTA, LICENSE AGREEMENT TMS1002
  23. CLEAN VEHICLE BODY 
    1. Clean and shape the contact surface of the vehicle body.
      1. Using a knife, cut away any rough adhesive on the contact surface of the vehicle body to ensure a proper fit.
        NOTE: Be careful not to damage the vehicle body.

        HINT:

        Leave as much adhesive on the vehicle body as possible.

      2. Clean the contact surface of the vehicle body with a shop rag or piece of cloth saturated with cleaner.

      HINT:

      Even if all the adhesive has been removed, clean the vehicle body.

      Fig 6: Cut Away Any Rough Adhesive On Contact Surface Of Vehicle Body To Ensure A Proper Fit Using A Knife
      G02972691Courtesy of © TOYOTA, LICENSE AGREEMENT TMS1002
  24. INSTALL WINDSHIELD GLASS STOPPER NO.2 
    1. Coat the installation part of the stopper with Primer G.
      NOTE:
      • Allow the primer coating to dry for 3 minutes or more.
      • Dispose of any excess Primer G.
      • Do not apply too much Primer G.
    2. Install 2 new stoppers onto the glass as shown in the illustration.
      Fig 7: Installing Windshield Glass Stopper No.2
      G02972692Courtesy of © TOYOTA, LICENSE AGREEMENT TMS1002

      Specification: 

      WINDSHIELD GLASS SPECIFICATIONS

      Area Measurement
      A 7.7 mm (0.303 in.)
      B 40.0 mm (1.575 in.)
  25. INSTALL WINDSHIELD GLASS STOPPER NO.1 
    1. Install 2 new stoppers to the vehicle body as shown in the illustration.
      Fig 8: Installing Windshield Glass Stopper No. 1
      G02972693Courtesy of © TOYOTA, LICENSE AGREEMENT TMS1002
  26. INSTALL WINDSHIELD GLASS RETAINER 
    1. Install 2 new retainers onto the glass as shown in the illustration.
      Fig 9: Installing Windshield Glass Retainer
      G02972694Courtesy of © TOYOTA, LICENSE AGREEMENT TMS1002
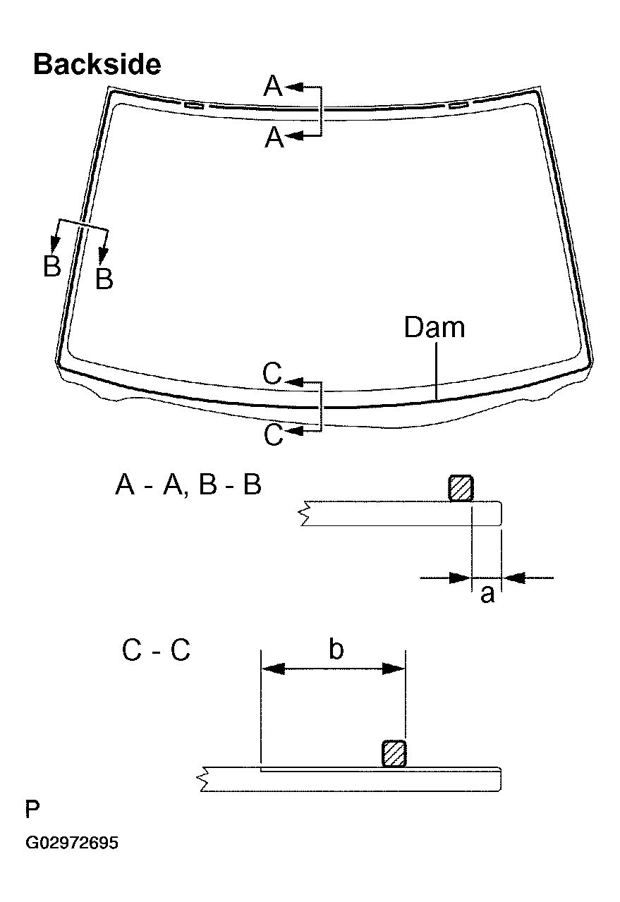
  27. INSTALL WINDOW GLASS ADHESIVE DAM 
    1. Coat the installation part of the windshield glass adhesive dam with Primer G.
      NOTE:
      • Allow the primer coating to dry for 3 minutes or more.
      • Dispose of any excess Primer G.
      • Do not apply too much primer.
    2. Install a new dam as shown in the illustration.
      Fig 10: Installing Window Glass Adhesive Dam
      G02972695Courtesy of © TOYOTA, LICENSE AGREEMENT TMS1002

      Specification: 

      WINDOW GLASS ADHESIVE DAM SPECIFICATIONS

      Area Measurement
      a 7.0 mm (0.276 in.)
      b 48.4 mm (1.905 in.)
  28. INSTALL WINDSHIELD GLASS 
    1. Position the glass.
      1. Using a suction cup, place the glass in the correct position.
      2. Check that the whole contact surface of the glass rim is perfectly even.
      3. Place reference marks on the glass and vehicle body.
        Fig 11: Install Windshield Glass
        G02972696Courtesy of © TOYOTA, LICENSE AGREEMENT TMS1002
        NOTE: Check that the stoppers are attached to the vehicle body correctly.

        HINT:

        When reusing the glass, check and correct the reference mark positions.

      4. Using a suction cup, remove the glass.
    2. Using a brush, coat the exposed areas of the vehicle body, where all adhesive has been removed with Primer M.
      NOTE:
      • Allow the primer coating to dry for 3 minutes or more.
      • Do not coat the area, where adhesive is still remaining with Primer M.
      • Dispose of any excess Primer M.
      • Do not apply too much Primer M.
    3. Using a brush or sponge, coat the edge of the glass and the contact surface with Primer M.

      HINT:

      If a non-specified area is coated by accident, wipe off the primer with a clean piece of cloth before it dries.

      NOTE:
      • Allow the primer coating to dry for 3 minutes or more.
      • Dispose of away any excess Primer M.
      • Do not apply too much Primer M.
      Fig 12: Identifying Correct Way Of Applying Primer
      G02972697Courtesy of © TOYOTA, LICENSE AGREEMENT TMS1002
    4. Apply adhesive.

      Adhesive: Part No. 08850-00801 or equivalent 

      1. Cut off the tip of the cartridge nozzle as shown in the illustration.

        HINT:

        After cutting off the tip, use adhesive within the time described in the table below.

        Usage time frame: 

        USAGE TIME FRAME

        Temperature Usage time frame
        35°C(95°F) 15 minutes
        20°C (68°F) 1 hour 40 minutes
        5°C(41°F) 8 hours
      2. Load a sealer gun with the cartridge.
      3. Coat the glass with adhesive as shown in the illustration.

        Specification: 

        ADHESIVE SPECIFICATIONS

        Area Measurement
        a 8.0 mm (0.315 in.)
        b 12.0 mm (0.472 in.)
        Fig 13: Applying Adhesive
        G02972698Courtesy of © TOYOTA, LICENSE AGREEMENT TMS1002
      4. Install the glass.
        1. Using a suction cup, position the glass so that the reference marks are aligned. Press it in gently along the rim.
          NOTE:
          • Allow the primer coating to dry for 3 minutes or more.
          • Check that the stoppers are attached to the vehicle body correctly.
          • Check that there is a small gap between the vehicle body and glass.
        2. Lightly press the front surface of the glass to ensure that the glass is securely fit to the vehicle body.
          Fig 14: Installing Glass
          G02972699Courtesy of © TOYOTA, LICENSE AGREEMENT TMS1002
        3. Using a scraper, remove any excess or protruding adhesive.

        HINT:

        Make sure that adhesive is applied up to the glass rim.

        NOTE: The vehicle should not be driven until the time indicated in the table below has elapsed after step (3).

        Minimum time: 

        MINIMUM TIME

        Temperature Minimum time prior to driving vehicle
        35°C (95°F) 1 hour 30 minutes
        20°C (68°F) 5 hours
        5°C (41°F) 24 hours
        Fig 15: Removing Adhesive
        G02972700Courtesy of © TOYOTA, LICENSE AGREEMENT TMS1002
  29. INSTALL WINDSHIELD MOLDING OUTER UPPER 
    1. Using a brush or sponge, coat the edge of the glass and the contact surface with Primer G.
      NOTE:
      • Allow the primer coating to dry for 3 minutes or more.
      • Dispose of any excess Primer G.
      • Do not apply too much Primer G.
    2. Install the molding.
  30. INSPECT FOR LEAKS AND REPAIR 
    1. Conduct a leak test after the adhesive has completely hardened.
    2. Seal any leaks with auto glass sealer.
  31. INSTALL RAIN SENSOR (SEE  REPLACEMENT  ) 
  32. INSTALL FR WIPER ARM & BLADE ASSY RH (SEE  REPLACEMENT  ) 
  33. INSTALL FR WIPER ARM & BLADE ASSY LH (SEE  REPLACEMENT  )