LEMON Manuals: Even more car manuals for everyone: 1960-2025
Home >> Toyota >> 2005 >> Camry Base, Standard >> Repair and Diagnosis >> General Information >> Identification >> Introduction >> Identification Information >> Vehicle Identification And Serial Numbers
April 5, 2026: LEMON Manuals is launched! Read the announcement.

Vehicle Identification And Serial Numbers

  1. VEHICLE IDENTIFICATION NUMBER 
    1. The vehicle identification number is stamped on the vehicle identification number plate and certification label, as shown in the illustration.

      A: Vehicle Identification Number Plate 

      B: Certification Label 

    Fig 1: Identifying Vehicle Identification Number Plate
    G02627484Courtesy of © TOYOTA, LICENSE AGREEMENT TMS1002
  2. FACTORY OF PRODUCTION 
    1. World manufacture identifier is used to distinguish between TMC and TMMK made vehicles. The first 3 digits and letters of the vehicle identification number shows the world manufacturer identifier.
    FACTORY PRODUCTION REFERENCE

    WMI(1)
    TMC made JTD
    TMMK made 4T1
    (1) World Manufacturer Identifier
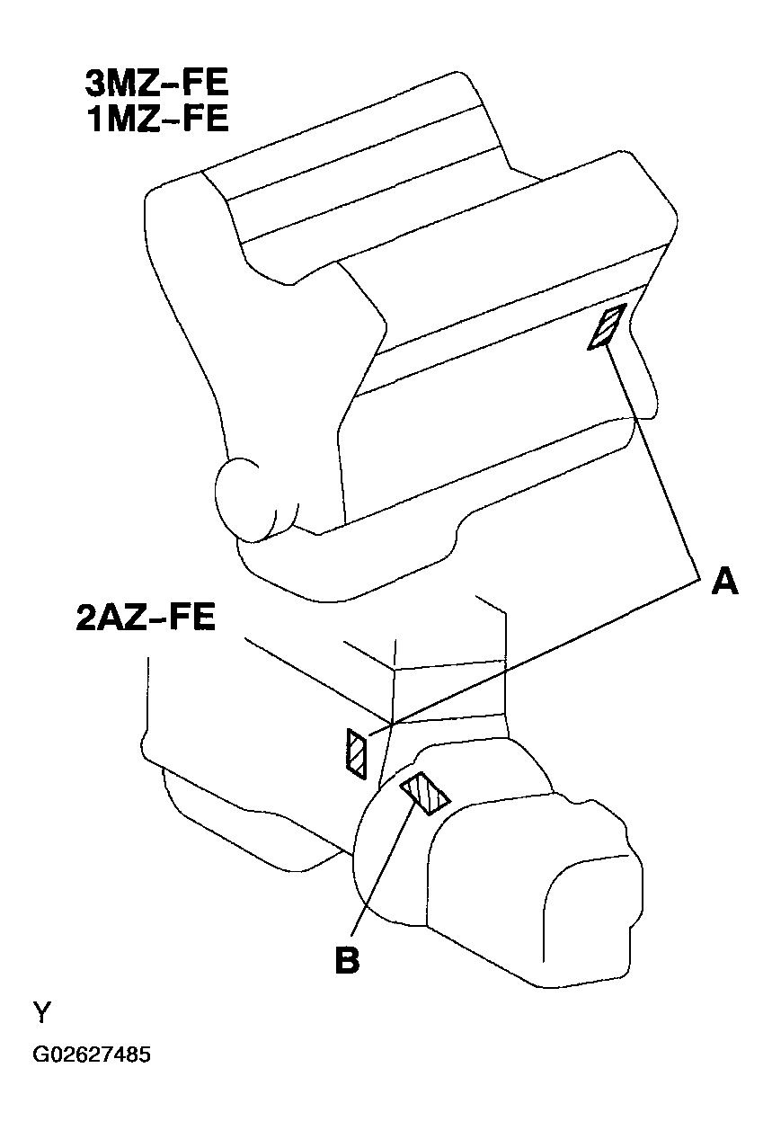
  3. ENGINE SERIAL NUMBER AND TRANSAXLE SERIAL NUMBER 
    1. The engine serial number is stamped on the cylinder block of the engine, and the transaxle serial number is stamped on the housing, as shown in the illustration.

      A: Engine Serial Number 

      B: Transaxle Serial Number 

    Fig 2: Identifying Engine Serial Number And Transaxle Serial Number
    G02627485Courtesy of © TOYOTA, LICENSE AGREEMENT TMS1002