LEMON Manuals: Even more car manuals for everyone: 1960-2025
Home >> Toyota >> 2005 >> Corolla LE, Standard >> Repair and Diagnosis >> Body & Frame >> Windows >> Windshield/WINDOWGLASS/Mirror >> Windshield Glass >> Replacement
April 5, 2026: LEMON Manuals is launched! Read the announcement.

Windshield Glass: Replacement

HINT:

  1. REMOVE FR WIPER ARM RH (See  WINDSHIELD WIPER MOTOR ASSY  ) 
  2. REMOVE FR WIPER ARM LH (See  WINDSHIELD WIPER MOTOR ASSY  ) 
  3. REMOVE HOOD TO COWL TOP SEAL (See  WINDSHIELD WIPER MOTOR ASSY  ) 
  4. REMOVE COWL TOP VENTILATOR LOUVER LH (See  WINDSHIELD WIPER MOTOR ASSY  ) 
  5. REMOVE COWL TOP VENTILATOR LOUVER RH (See  WINDSHIELD WIPER MOTOR ASSY  ) 
  6. REMOVE FRONT DOOR WEATHERSTRIP RH (See  REPLACEMENT  ) 
  7. REMOVE FRONT DOOR WEATHERSTRIP LH (See  REPLACEMENT  ) 
  8. REMOVE FRONT PILLAR GARNISH RH (See  REPLACEMENT  ) 
  9. REMOVE FRONT PILLAR GARNISH LH (See  REPLACEMENT  ) 
  10. REMOVE INNER REAR VIEW MIRROR ASSY (See  INNER REAR VIEW MIRROR ASSY  ) 
  11. REMOVE RH VISOR ASSY (See  REPLACEMENT  ) 
  12. REMOVE LH VISOR ASSY (See  REPLACEMENT  ) 
  13. REMOVE GLOVE BOX LAMP ASSY (See  REPLACEMENT  ) 
  14. REMOVE ASSIST GRIP SUB-ASSY (See  REPLACEMENT  ) 
  15. REMOVE VISOR HOLDER (See  REPLACEMENT  ) 
  16. REMOVE ROOF HEADLINING ASSY (See  REPLACEMENT  ) 
  17. REMOVE ROOF DRIP SIDE FINISH MOLDING CENTER RH (See  ROOF DRIP SIDE FINISH MOLDING CENTER LH  ) 
  18. REMOVE ROOF DRIP SIDE FINISH MOLDING CENTER LH (See  ROOF DRIP SIDE FINISH MOLDING CENTER LH  ) 
  19. REMOVE WINDSHIELD MOLDING OUTSIDE 
    1. Using a knife, cut off the molding as shown in the illustration.
      NOTE: Do not damage the vehicle body with the knife
    2. Remove the remaining molding.

    HINT:

    Make a partial cut in the molding, then pull and remove it by hand.

    Fig 1: Cutting Off Molding, Using Knife
    G02612286Courtesy of © TOYOTA, LICENSE AGREEMENT TMS1002
  20. REMOVE WINDSHIELD GLASS 

    HINT:

    Depending on a vehicle type, either a 1-piece type or a 2-piece type of stopper is installed.

    1. From the interior, insert a piano wire between the vehicle body and glass.

      HINT:

      Apply protective tape to the outer surface of the vehicle body to keep the surface from being scratched.

      Fig 2: Inserting Piano Wire Between Vehicle Body And Glass
      G02612287Courtesy of © TOYOTA, LICENSE AGREEMENT TMS1002
    2. Tie both wire ends to wooden blocks or similar objects.
      NOTE: When separating the glass, take care not to damage the paint and interior/exterior ornaments
    3. Cut the adhesive by pulling the piano wire around the glass.
    4. Using a suction cup, remove the glass.
    NOTE: Leave as much adhesive on the body as possible when removing the glass.
    Fig 3: Identifying Stopper And Piano Wire
    G02612288Courtesy of © TOYOTA, LICENSE AGREEMENT TMS1002
  21. CLEAN WINDSHIELD GLASS 
    1. Using a scraper, remove the damaged stoppers, dam and adhesive sticking to the glass.
    2. Clean the outer edge of the glass with white gasoline.
    NOTE:
    • Do not touch the glass after cleaning it.
    • Be careful not to damage the vehicle body.
    Fig 4: Removing Damaged Stoppers, Dam And Adhesive Sticking To Glass
    G02612289Courtesy of © TOYOTA, LICENSE AGREEMENT TMS1002
  22. INSTALL WINDSHIELD GLASS STOPPER NO.1 
    1. Install 2 new windshield glass stoppers No. 1 to the body.
  23. INSTALL WINDSHIELD GLASS STOPPER NO.2 
    1. Coat the installation part of the stopper with Primer G.
      NOTE:
      • Allow the primer coating to dry for 3 minutes or more.
      • Do not apply too much primer.
    2. Install 2 new windshield glass stoppers No. 2 onto the glass as shown in the illustration.

      A: 40.0 mm (1.575 in.) 

      B: 7.7 mm (0.303 in.) 

    Fig 5: Installing Windshield Glass Stopper
    G02612290Courtesy of © TOYOTA, LICENSE AGREEMENT TMS1002
  24. INSTALL FRONT PILLAR OUTER DAM 
    1. Coat the installation part of the front pillar outer dam with Primer G.
      NOTE:
      • Allow the primer coating to dry for 3 minutes or more.
      • Do not apply too much primer.
    2. Install 2 new front pillar outer dams with double-sided tape as shown in the illustration.
    NOTE: Do not touch the glass surface after cleaning it. A: 7 mm (0.28 in.)

    B: 22.5 mm (0.886 in.) 

    C: 45 mm (1.77 in.) 

    D: 5 mm (0.20 in.) 

    Fig 6: Installing Front Pillar Outer Dam
    G02612291Courtesy of © TOYOTA, LICENSE AGREEMENT TMS1002
  25. INSTALL WINDSHIELD GLASS 
    1. Clean and shape the contact surface of the adhesive on the vehicle's body.
      1. Using a knife, cut away any excessive adhesive.

        HINT:

        Leave as much adhesive on the body as possible.

      2. Clean the cut surface of the adhesive with a piece of shop rag saturated in cleaner.
      Fig 7: Cleaning And Shape Contact Surface Of Adhesive On Vehicle'S Body
      G02612292Courtesy of © TOYOTA, LICENSE AGREEMENT TMS1002
    2. Position the glass.
      1. Using a suction cup, place the glass in the correct position.
      2. Check that all the contacting parts of the glass rim are perfectly even.
      3. Place reference marks between the glass and body.
        NOTE: Check that the stoppers are attached to the body correctly.

        HINT:

        When reusing the glass, check and correct the reference mark's positions.

      4. Remove the glass.
    3. Coat the contact surface of the body panel with Primer M.
    4. Using a brush, coat the exposed part of the contact surface on the vehicle side with Primer M.
      NOTE:
      • Allow the primer coating to dry for 3 minutes or more.
      • Do not coat the adhesive with Primer M. Do not apply too much primer.
    5. Coat the contact surface of the glass with Primer G.
      1. Using a brush or sponge, coat the edge of the glass and the contact surface with Primer G.
      NOTE:
      • Allow the primer coating to dry for 3 minutes or more.
      • Do not apply too much primer.
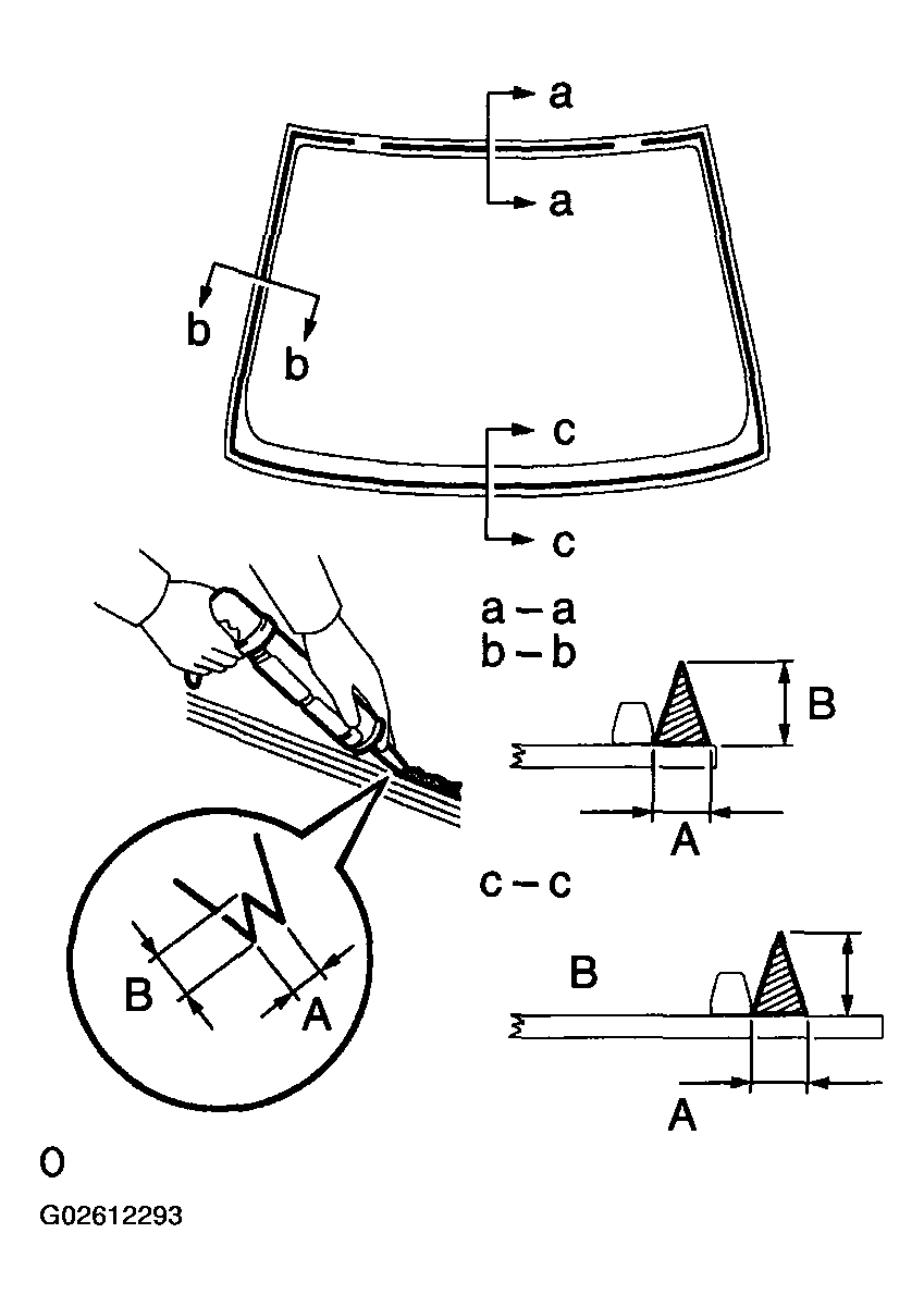
    6. Apply adhesive.
      1. Cut off the tip of the cartridge nozzle as shown in the illustration.

        Adhesive Part No. 08850-00801 or equivalent 

        HINT:

        After cutting off the tip, use all adhesive within the time described in the table below.

        TEMPERATURE SPECIFICATION

        Temperature Usage Timeframe
        35°C(95°F) 15 minutes
        20°C(68°F) 100 minutes
        5°C(41°F) 8 hours
      2. Load the sealer gun with the cartridge.
      3. Coat the glass with adhesive, as shown in the illustration.

      A: 8.0 mm (0.315 in.) or more 

      B: 12.5 mm (0.492 in.) or more 

    7. Install the glass.
      1. Using a suction cup, position the glass so that the reference marks are aligned, and press it in gently along the rim.
        Fig 8: Applying Adhesive
        G02612293Courtesy of © TOYOTA, LICENSE AGREEMENT TMS1002
        NOTE:
        • Allow the primer coating to dry for 3 minutes or more.
        • Check that the stoppers are attached to the body correctly.
        • Check the clearance between the body and glass.
      2. Lightly press the glass front surface for close contact.
      3. Using a scraper, remove any excess or protruding adhesive.

    HINT:

    Apply adhesive on the glass rim.

  26. INSTALL WINDSHIELD MOLDING OUTSIDE 
    1. Install a new windshield molding to the windshield glass before the adhesive has hardened.
    2. Hold the windshield glass in place securely with protective tape or equivalent until the adhesive has completely hardened.
    3. Using a scraper, remove any excess or protruding adhesive before the adhesive has hardened.
    NOTE: Do not to drive the vehicle for the amount of time written in the table below.
    TEMPERATURE SPECIFICATION

    Temperature Minimum time prior to driving vehicle
    35°C(95°F) 1.5 hours
    20°C(68°F) 5 hours
    5°C(41°F) 24 hours
  27. INSPECT FOR LEAK AND REPAIR 
    1. Conduct a leak test after the adhesive has completely hardened.
    2. Seal any leak with sealant.