LEMON Manuals: Even more car manuals for everyone: 1960-2025
Home >> Toyota >> 2005 >> ECHO 2D Sedan, Standard >> Repair and Diagnosis >> Body & Frame >> Windows >> Power Window Control System >> Inspection
April 5, 2026: LEMON Manuals is launched! Read the announcement.

Power Window Control System: Inspection

  1. 2 door models 

    INSPECT POWER WINDOW MASTER SWITCH CONTINUITY 

    Driver's switch 

    POWER WINDOW MASTER SWITCH CONTINUITY - DRIVER SWITCH (2 DOOR MODEL)

    Switch position Tester connection Specified condition
    UP 1-4 3-9 Continuity
    OFF 1-3 1-4 Continuity
    DOWN 1-3 4-9 Continuity

    Passenger's switch (Window unlock): 

    POWER WINDOW MASTER SWITCH CONTINUITY - PASSENGER'S SWITCH - WINDOW UNLOCK (2 DOOR MODEL)

    Switch position Tester connection Specified condition
    UP 1-10 8-9 Continuity
    OFF 1-8 1-10 Continuity
    DOWN 1-8 9-10 Continuity

    Passenger's switch (Window lock): 

    POWER WINDOW MASTER SWITCH CONTINUITY - PASSENGER'S SWITCH - WINDOW LOCK (2 DOOR MODEL)

    Switch position Tester connection Specified condition
    UP 8-9 Continuity
    OFF 8-10 Continuity
    DOWN 9-10 Continuity
    Fig 1: Inspecting Power Window Master Switch Continuity (2 Door Model)
    G02576045Courtesy of © TOYOTA, LICENSE AGREEMENT TMS1002

    If continuity is not as specified, replace the switch.

  2. 4 door models: 

    INSPECT POWER WINDOW MASTER SWITCH CONTINUITY 

    Fig 2: Inspecting Power Window Master Switch Continuity
    G02576046Courtesy of © TOYOTA, LICENSE AGREEMENT TMS1002

    Front driver's switch: 

    POWER WINDOW MASTER SWITCH CONTINUITY - FRONT DRIVER'S SWITCH (4 DOOR MODELS)

    Switch position Tester connection Specified condition
    UP 1-10, 1-11 3-5, 4-5 Continuity
    OFF 1-3, 1-4 3-5, 4-5 Continuity
    DOWN 5-10, 5-11 1-3, 1-4 Continuity

    Front passenger's switch (Window unlock): 

    POWER WINDOW MASTER SWITCH CONTINUITY - FRONT PASSENGER'S SWITCH - WINDOW UNLOCK (4 DOOR MODELS)

    Switch position Tester connection Specified condition
    UP 10-14, 11-14 3-6, 4-6 Continuity
    OFF 3-14, 4-14 3-6, 4-6 Continuity
    DOWN 6-10, 6-11 3-14, 4-14 Continuity

    Front passenger's switch (Window lock): 

    POWER WINDOW MASTER SWITCH CONTINUITY - FRONT PASSENGER'S SWITCH - WINDOW LOCK (4 DOOR MODELS)

    Switch position Tester connection Specified condition
    UP 10-14, 11-14 Continuity
    OFF 6-14 Continuity
    DOWN 6-10,6-11 Continuity

    Rear left switch (Window unlock): 

    POWER WINDOW MASTER SWITCH CONTINUITY - REAR LEFT SWITCH - WINDOW UNLOCK (4 DOOR MODELS)

    Switch position Tester connection Specified condition
    UP 9-10,9-11 3-12,4-12 Continuity
    OFF 3-9, 4-9 3-12,4-12 Continuity
    DOWN 10-12, 11-12 3 - 9, 4 - 9 Continuity

    Rear left switch (Window lock): 

    POWER WINDOW MASTER SWITCH CONTINUITY - REAR LEFT SWITCH - WINDOW LOCK (4 DOOR MODELS)

    Switch position Tester connection Specified condition
    UP 9-10, 9-11 Continuity
    OFF 9-12 Continuity
    DOWN 10-12, 11 - 12 Continuity

    Rear right switch (Window unlock): 

    POWER WINDOW MASTER SWITCH CONTINUITY - REAR RIGHT SWITCH - WINDOW UNLOCK (4 DOOR MODELS)

    Switch position Tester connection Specified condition
    UP 8-10,8-11 3-13,4-13 Continuity
    OFF 3-8,4-8 3-13,4-13 Continuity
    DOWN 10-13, 11 -13 3-8,4-8 Continuity

    Rear right switch (Window lock): 

    POWER WINDOW MASTER SWITCH CONTINUITY - REAR RIGHT SWITCH - WINDOW LOCK (4 DOOR MODELS)

    Switch position Tester connection Specified condition
    UP 8-10, 8-10 Continuity
    OFF 8-13 Continuity
    DOWN 10-13, 11 - 13 Continuity

    If continuity is not as specified, replace the master switch.

  3. 2 door models: 

    INSPECT ONE TOUCH POWER WINDOW SYSTEM (Using an ammeter) 

    1. Disconnect the connector from the master switch.
    2. Connect the positive (+) lead from the ammeter to terminal 3 on the wire harness side connector and the negative (-) lead to the negative (-) terminal of the battery.
    3. Connect the positive (+) lead from the battery to terminal 4 on the wire harness side connector.
    4. As the window goes down, check that the current is approximately 7 A.
      Fig 3: Inspecting One Touch Power Window System - Using An Ammeter (1 Of 2)
      G02576047Courtesy of © TOYOTA, LICENSE AGREEMENT TMS1002
    5. Check that the current increases up to approximately 14.5 A or more when the window stops going down.
    NOTE: The circuit breaker opens for 7 - 13 seconds after the window stops going down, so that check must be made before the circuit breaker operates.

    If operation is not as specified, replace the master switch.

    Fig 4: Inspecting One Touch Power Window System - Using An Ammeter (2 Of 2)
    G02576048Courtesy of © TOYOTA, LICENSE AGREEMENT TMS1002
  4. 2 door models: 

    INSPECT ONE TOUCH POWER WINDOW SYSTEM (Using an ammeter with a current - measuring probe) 

    1. Remove the master switch with connector connected.
    2. Attach a current - measuring probe to terminal 9 of the wire harness.
    3. Turn the ignition switch ON, and set the power window switch in the down position.
      Fig 5: Inspecting One Touch Power Window System - Using An Ammeter With A Current - Measuring Probe (1 Of 2)
      G02576049Courtesy of © TOYOTA, LICENSE AGREEMENT TMS1002
    4. As the window goes down, check that the current is approximately 7 A.
    5. Check that the current increases up to approximately 14.5 A or more when the window stops going down.
    NOTE: The circuit breaker opens for 7 - 13 seconds after the window stops going down, so that check must be made before the circuit breaker operates.

    If operation is not as specified, replace the master switch.

    Fig 6: Inspecting One Touch Power Window System - Using An Ammeter With A Current - Measuring Probe (2 Of 2)
    G02576050Courtesy of © TOYOTA, LICENSE AGREEMENT TMS1002
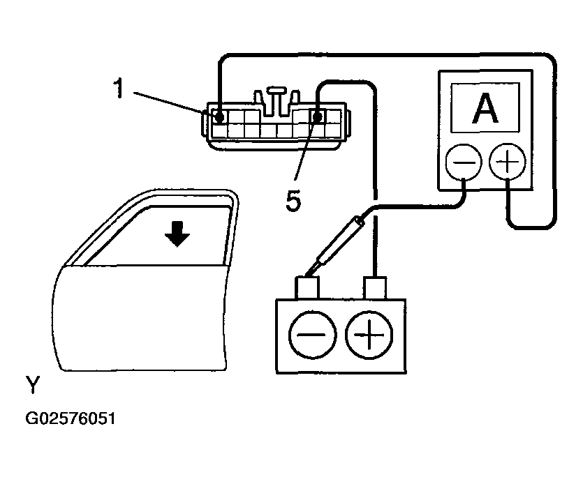
  5. 4 door models: 

    INSPECT ONE TOUCH POWER WINDOW SYSTEM (Using an ammeter) 

    1. Disconnect the connector from the master switch.
    2. Connect the positive (+) lead from the ammeter to terminal 1 on the wire harness side connector and the negative (-) lead to the negative terminal of the battery.
    3. Connect the positive (+) lead from the battery to terminal 5 on the wire harness side connector.
    4. As the window goes down, check that the current flow is approximately 7 A.
      Fig 7: Inspecting One Touch Power Window System - Using An Ammeter (1 Of 2)
      G02576051Courtesy of © TOYOTA, LICENSE AGREEMENT TMS1002
    5. Check that the current increases up to approximately 14.5 A or more when the window stops going down.
    NOTE: The circuit breaker opens for 4-40 seconds after the window stops going down, so that check must be made before the circuit breaker operates.

    If the operation is as specified, replace the master switch.

    Fig 8: Inspecting One Touch Power Window System - Using An Ammeter (2 Of 2)
    G02576052Courtesy of © TOYOTA, LICENSE AGREEMENT TMS1002
  6. 4 door models: 

    INSPECT ONE TOUCH POWER WINDOW SYSTEM (Using an ammeter with a current - measuring probe) 

    1. Remove the master switch with connector connected.
    2. Attach a current - measuring probe to terminal 10 of the wire harness.
    3. Turn the ignition switch ON and set the power window switch in the down position.
    4. As the window goes down, check that the current flow is approximately 7 A.
    5. Check that the current increases up to approximately 14.5 A or more when the window stops going down.
    Fig 9: Inspecting One Touch Power Window System - Using An Ammeter With A Current - Measuring Probe (1 Of 2)
    G02576053Courtesy of © TOYOTA, LICENSE AGREEMENT TMS1002
    NOTE: The circuit breaker opens for 4-40 seconds after the window stops going down, so that check must be made before the circuit breaker operates.

    If operation is as specified, replace the master switch.

    Fig 10: Inspecting One Touch Power Window System - Using An Ammeter With A Current - Measuring Probe (2 Of 2)
    G02576054Courtesy of © TOYOTA, LICENSE AGREEMENT TMS1002
  7. INSPECT PASSENGER'S POWER WINDOW SWITCH CONTINUITY 
    PASSENGER'S POWER WINDOW SWITCH CONTINUITY

    Switch position Tester connection Specified condition
    UP 1-2,3-4 Continuity
    OFF 1-2, 3-5 Continuity
    DOWN 1-4, 3-5 Continuity

    If continuity is not as specified, replace the switch.

    Fig 11: Identifying Terminals of Passenger'S Power Window Switch
    G02576055Courtesy of © TOYOTA, LICENSE AGREEMENT TMS1002
  8. 4 door models: 

    INSPECT REAR DOOR POWER WINDOW SWITCH CONTINUITY 

    REAR DOOR POWER WINDOW SWITCH CONTINUITY

    Switch position Tester connection Specified condition
    UP 1 - 2, 3 - 4 Continuity
    OFF 1-2,4-5 Continuity
    DOWN 2 - 3, 4 - 5 Continuity

    If continuity is not as specified, replace the switch.

    Fig 12: Identifying Terminals of Rear Door Power Window Switch
    G02576056Courtesy of © TOYOTA, LICENSE AGREEMENT TMS1002
  9. INSPECT POWER MAIN RELAY CONTINUITY 
    POWER MAIN RELAY CONTINUITY

    Condition Tester connection Specified condition
    Constant 1 - 2 Continuity
    Apply B + between terminals 1 and 2 3 - 5 Continuity

    If continuity is not as specified, replace the switch.

    Fig 13: Identifying Terminals of Power Main Relay
    G02576057Courtesy of © TOYOTA, LICENSE AGREEMENT TMS1002
  10. Front left side door: 

    INSPECT POWER WINDOW MOTOR OPERATION 

    1. Connect the positive (+) lead from the battery to terminal 4 and the negative (-) lead to terminal 5, and check that the motor turns clockwise.
      Fig 14: Inspecting Front Left Side Door Power Window Motor Operation (1 Of 2)
      G02576058Courtesy of © TOYOTA, LICENSE AGREEMENT TMS1002
    2. Reverse the polarity, and check that the motor turns counterclockwise.

    If operation is not as specified, replace the motor.

    Fig 15: Inspecting Front Left Side Door Power Window Motor Operation (2 Of 2)
    G02576059Courtesy of © TOYOTA, LICENSE AGREEMENT TMS1002
  11. Front right side door: 

    INSPECT POWER WINDOW MOTOR OPERATION 

    1. Connect the positive (+) lead from the battery to terminal 5 and the negative (-) lead to terminal 4, and check that the motor turns clockwise.
      Fig 16: Inspecting Front Right Side Door Power Window Motor Operation (1 Of 2)
      G02576060Courtesy of © TOYOTA, LICENSE AGREEMENT TMS1002
    2. Reverse the polarity, and check that the motor turns counterclockwise.

    If operation is not as specified, replace the motor.

    Fig 17: Inspecting Front Right Side Door Power Window Motor Operation (2 Of 2)
    G02576061Courtesy of © TOYOTA, LICENSE AGREEMENT TMS1002
  12. Rear left side door: 

    INSPECT POWER WINDOW MOTOR OPERATION 

    1. Connect the positive (+) lead from the battery to terminal 1 and the negative (-) lead to terminal 2, and check that the motor turns clockwise.
      Fig 18: Inspecting Rear Left Side Door Power Window Motor Operation (1 Of 2)
      G02576062Courtesy of © TOYOTA, LICENSE AGREEMENT TMS1002
    2. Reverse the polarity, and check that the motor turns counterclockwise.

    If operation is not as specified, replace the motor.

    Fig 19: Inspecting Rear Left Side Door Power Window Motor Operation (2 Of 2)
    G02576063Courtesy of © TOYOTA, LICENSE AGREEMENT TMS1002
  13. Rear right side door: 

    INSPECT POWER WINDOW MOTOR OPERATION 

    1. Connect the positive (+) lead from the battery to terminal 1 and the negative (-) lead to terminal 2, and check that the motor turns clockwise.
      Fig 20: Inspecting Rear Right Side Door Power Window Motor Operation (1 Of 2)
      G02576064Courtesy of © TOYOTA, LICENSE AGREEMENT TMS1002
    2. Reverse the polarity, and check that the motor turns counterclockwise.

    If operation is not as specified, replace the motor.

    Fig 21: Inspecting Rear Right Side Door Power Window Motor Operation (2 Of 2)
    G02576065Courtesy of © TOYOTA, LICENSE AGREEMENT TMS1002
  14. Front Door: 

    INSPECT POWER WINDOW MOTOR PTC THERMISTOR OPERATION 

    1. Disconnect the connector from the Driver door Window motor.
    2. Connect the positive (+) lead from the ammeter to terminal 5 on the wire harness side connector and the negative (-) lead to negative terminal of the battery.
    3. Connect the positive (+) lead from the battery to terminal 4 on the wire harness side connector, and raise the window to the fully position.
      Fig 22: Inspecting Front Door Power Window Motor PTC Thermistor Operation (1 Of 2)
      G02576066Courtesy of © TOYOTA, LICENSE AGREEMENT TMS1002
    4. Continue to apply voltage, and check that the current changes to less than 1 A within 4 to 90 seconds.
    5. Disconnect the leads from the terminals.
    6. Approximately 60 seconds later, connect the positive (+) lead from the battery to terminal 5 and the negative (-) lead to terminal 4, and check that the window begins to descend.

    If operation is not as specified, replace the motor.

    Fig 23: Inspecting Front Door Power Window Motor PTC Thermistor Operation (2 Of 2)
    G02576067Courtesy of © TOYOTA, LICENSE AGREEMENT TMS1002
  15. Rear LH door: 

    INSPECT POWER WINDOW MOTOR PTC THERMISTOR OPERATION 

    1. Disconnect the connector from the power window motor.
    2. Connect the positive (+) lead from the ammeter to terminal 1 on the wire harness side connector and the negative (-) lead to negative terminal of the battery.
    3. Connect the positive (+) lead from the battery to terminal 2 on the wire harness side connector, and raise the window to the fully position.
      Fig 24: Inspecting Rear LH Door Power Window Motor PTC Thermistor Operation (1 Of 2)
      G02576068Courtesy of © TOYOTA, LICENSE AGREEMENT TMS1002
    4. Continue to apply voltage and check that the current changes to less than 1 A within 4 to 90 seconds.
    5. Disconnect the leads from the terminals.
    6. Approximately 60 seconds later, connect the positive (+) lead from the battery to terminal 1 and the negative (-) lead to terminal 2, and check that the window begins to descend.

    If operation is not as specified, replace the motor.

    Fig 25: Inspecting Rear LH Door Power Window Motor PTC Thermistor Operation (2 Of 2)
    G02576069Courtesy of © TOYOTA, LICENSE AGREEMENT TMS1002
  16. Rear RH Door: 

    INSPECT POWER WINDOW MOTOR PTC THERMISTOR OPERATION 

    1. Disconnect the connector from the power window motor.
    2. Connect the positive (+) lead from the ammeter to terminal 2 on the wire harness side connector and the negative (-) lead to negative terminal of the battery.
    3. Connect the positive (+) lead from the battery to terminal 1 on the wire harness side connector, and raise the window to the fully position.
      Fig 26: Inspecting Rear RH Door Power Window Motor PTC Thermistor Operation (1 Of 2)
      G02576070Courtesy of © TOYOTA, LICENSE AGREEMENT TMS1002
    4. Continue to apply voltage and check that the current changes to less than 1 A within 4 to 90 seconds.
    5. Disconnect the leads from the terminals.
    6. Approximately 60 seconds later, connect the positive (+) lead from the battery to terminal 2 and the negative (-) lead to terminal 1, and check that the window begins to descend.
    Fig 27: Inspecting Rear RH Door Power Window Motor PTC Thermistor Operation (2 Of 2)
    G02576071Courtesy of © TOYOTA, LICENSE AGREEMENT TMS1002