LEMON Manuals: Even more car manuals for everyone: 1960-2025
Home >> Toyota >> 2005 >> Land Cruiser >> Repair and Diagnosis >> Body & Frame >> Seats >> Power Seat Control System >> Inspection
April 5, 2026: LEMON Manuals is launched! Read the announcement.

Power Seat Control System: Inspection

  1. INSPECT DRIVER'S POWER SEAT SWITCH CONTINUITY 

    Slide Switch: 

    SLIDE SWITCH

    Switch position Tester connection Specified condition
    FRONT 4 - 7; 8 - 11 Continuity
    OFF 4 - 7 - 8 Continuity
    BACK 4 - 11; 7 - 8 Continuity

    Front vertical switch: 

    FRONT VERTICAL SWITCH

    Switch position Tester connection Specified condition
    UP 7 - 9; 10 - 11 Continuity
    OFF 7 - 9 - 10 Continuity
    DOWN 7 - 10; 9 - 11 Continuity

    Lifter switch: 

    LIFTER SWITCH

    Switch position Tester connection Specified condition
    UP 2 - 11; 3 - 7 Continuity
    OFF 2 - 3 - 7 Continuity
    DOWN 2 - 7; 3 - 11 Continuity

    Reclining switch: 

    RECLINING SWITCH

    Switch position Tester connection Specified condition
    FORWARD 1 - 11; 5 - 7 Continuity
    OFF 1 - 5 - 7 Continuity
    REAR 1 - 7; 5 - 11 Continuity

    If continuity is not as specified, replace the switch.

    Fig 1: Identifying Driver's Power Seat Switch Terminals & Switch Positions
    G03068915Courtesy of © TOYOTA, LICENSE AGREEMENT TMS1002
  2. INSPECT DRIVER'S POWER SEAT SWITCH CIRCUIT 
    1. Disconnect the switch connector and connect the seat wire harness to the floor wire harness.
    2. Inspect the connector on the wire harness side.
      TESTER CONDITION

      Tester connection Condition Specified condition
      7 - Ground Constant Continuity
      11 - Ground Constant Battery positive voltage

      If circuit is not as specified, inspect the circuits connected to other parts.

      Fig 2: Identifying Driver's Power Seat Switch Connector Terminals (Harness Side)
      G03068916Courtesy of © TOYOTA, LICENSE AGREEMENT TMS1002
  3. INSPECT PASSENGER'S POWER SEAT SWITCH CONTINUITY 

    Slide switch: 

    SLIDE SWITCH

    Switch position Tester connection Specified condition
    FRONT 4 - 7; 8 - 11 Continuity
    OFF 4 - 7 - 8 Continuity
    BACK 4 - 11; 7 - 8 Continuity

    Front vertical switch: 

    FRONT VERTICAL SWITCH

    Switch position Tester connection Specified condition
    UP 7 - 10; 9 - 11 Continuity
    OFF 7 - 9 - 10 Continuity
    DOWN 6 - 9; 10 - 11 Continuity

    Lifter switch: 

    LIFTER SWITCH

    Switch position Tester connection Specified condition
    UP 2 - 7; 3 - 11 Continuity
    OFF 2 - 3 - 7 Continuity
    DOWN 2 - 11; 3 - 7 Continuity

    Reclining switch: 

    RECLINING SWITCH

    Switch position Tester connection Specified condition
    FORWARD 1 - 11; 5 - 7 Continuity
    OFF 1 - 5 - 7 Continuity
    REAR 1 - 7; 5 - 11 Continuity

    If continuity is not as specified, replace the switch.

    Fig 3: Identifying Passenger's Power Seat Switch Terminals & Switch Positions
    G03068917Courtesy of © TOYOTA, LICENSE AGREEMENT TMS1002
  4. INSPECT PASSENGER'S POWER SEAT SWITCH CIRCUIT 
    1. Disconnect the switch connector and connect the seat wire harness to the floor wire harness.
    2. Inspect the connector on the wire harness side.
      TESTER CONDITION

      Tester connection Condition Specified condition
      7 - Ground Constant Continuity
      11 - Ground Constant Battery positive voltage

      If circuit is not as specified, inspect the circuits connected to other parts.

      Fig 4: Identifying Passenger's Power Seat Switch Connector Terminals (Harness Side)
      G03068918Courtesy of © TOYOTA, LICENSE AGREEMENT TMS1002
  5. INSPECT DRIVER'S LUMBAR SUPPORT SWITCH CONTINUITY 
    SWITCH POSITION CONDITION

    Switch position Tester connection Specified condition
    FORWARD 1 - 4 Continuity
    FORWARD 2 - 3 Continuity
    OFF 1 - 2 - 3 Continuity
    RELEASE 1 - 3 Continuity
    RELEASE 2 - 4 Continuity

    If continuity is not as specified, replace the switch.

    Fig 5: Identifying Driver's Lumbar Support Switch Terminals & Switch Positions
    G03068919Courtesy of © TOYOTA, LICENSE AGREEMENT TMS1002
  6. INSPECT DRIVER'S LUMBAR SUPPORT SWITCH CIRCUIT 
    1. Disconnect the switch connector and connect the seat wire harness to the floor wire harness.
    2. Inspect the connector on the wire harness side.
      TESTER CONDITION

      Tester connection Condition Specified condition
      3 - Ground Constant Continuity
      4 - Ground Constant Battery positive voltage

      If circuit is not as specified, inspect the circuits connected to other parts.

      Fig 6: Identifying Driver's Lumbar Support Switch Connector Terminals (Harness Side)
      G03068920Courtesy of © TOYOTA, LICENSE AGREEMENT TMS1002
  7. INSPECT SLIDE MOTOR OPERATION 
    1. Connect the positive (+) lead from the battery to terminal 1 and the negative (-) lead to terminal 2, check that the motor turns clockwise.
    2. Reverse the polarity, check that the motor turns counterclockwise.

      If operation is not as specified, replace the seat adjuster.

      Fig 7: Testing Slide Motor Operation
      G03068921Courtesy of © TOYOTA, LICENSE AGREEMENT TMS1002
  8. INSPECT SLIDE MOTOR PTC THERMISTOR OPERATION 

    (): Passenger side 

    1. Connect the positive (+) lead from the battery to terminal 2 (1), the positive (+) lead from the ammeter to terminal 1 (2) and the negative (-) lead to the battery negative (-) terminal, then move the seat cushion to the front position.
    2. Continue to apply voltage, check that current changes to less than 1 ampere within 4 to 90 seconds.
      Fig 8: Testing Slide Motor PTC Thermistor Operation (Forward)
      G03068922Courtesy of © TOYOTA, LICENSE AGREEMENT TMS1002
    3. Disconnect the leads from terminals.
    4. Approximately 60 seconds later, connect the positive (+) lead from the battery to terminal 1 (2) and the negative (-) lead to terminal 2 (1), check that the seat cushion begins to move backwards.

      If operation is not as specified, replace the seat adjuster.

      Fig 9: Testing Slide Motor PTC Thermistor Operation (Rearward)
      G03068923Courtesy of © TOYOTA, LICENSE AGREEMENT TMS1002
  9. INSPECT FRONT VERTICAL MOTOR OPERATION 
    1. Connect the positive (+) lead from the battery to terminal 1 and the negative (-) lead to terminal 2, check that the motor turns clockwise.
    2. Reverse the polarity, check that the motor turns counterclockwise.

      If operation is not as specified, replace the seat adjuster.

      Fig 10: Testing Front Vertical Motor Operation
      G03068924Courtesy of © TOYOTA, LICENSE AGREEMENT TMS1002
  10. INSPECT FRONT VERTICAL MOTOR PTC THERMISTOR OPERATION 

    (): Passenger side 

    1. Connect the positive (+) lead from the battery to terminal 1 (2), the positive (+) lead from the ammeter to terminal 2 (1) and the negative (-) lead to the battery negative (-) terminal, then move the seat cushion to the highest position.
    2. Continue to apply voltage, check that the current changes to less than 1 ampere within 4 to 90 seconds.
      Fig 11: Testing Front Vertical Motor PTC Thermistor Operation (Up)
      G03068925Courtesy of © TOYOTA, LICENSE AGREEMENT TMS1002
    3. Disconnect the leads from the terminals.
    4. Approximately 60 seconds later, connect the positive (+) lead from the battery to terminal 2 (1) and the negative (-) lead to terminal 1 (2), check that the seat cushion begins to descend.

      If operation is not as specified, replace the seat adjuster.

      Fig 12: Testing Front Vertical Motor PTC Thermistor Operation (Down)
      G03068926Courtesy of © TOYOTA, LICENSE AGREEMENT TMS1002
  11. INSPECT LIFTER MOTOR OPERATION 
    1. Connect the positive (+) lead from the battery to terminal 1 and the negative (-) lead to terminal 2, check that the motor turns clockwise.
    2. Reverse the polarity, check that the motor turns counterclockwise.

      If operation is not as specified, replace the seat adjuster.

      Fig 13: Testing Lifter Motor Operation
      G03068927Courtesy of © TOYOTA, LICENSE AGREEMENT TMS1002
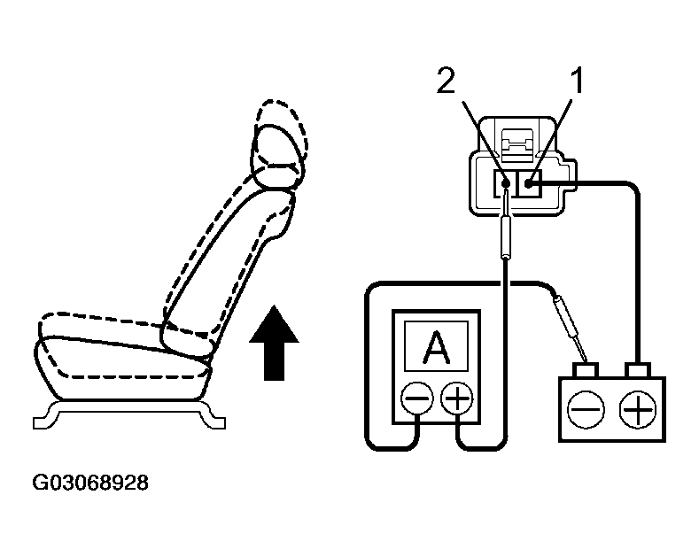
  12. INSPECT LIFTER MOTOR PTC THERMISTOR OPERATION 
    1. Connect the positive (+) lead from the battery to terminal 1 (2), the positive (+) lead from the ammeter to terminal 2 (1) and the negative (-) lead to the battery negative (-) terminal, then move the seat cushion to the highest position.
    2. Continue to apply voltage, check that the current changes to less than 1 ampere within 4 to 90 seconds.
      Fig 14: Testing Lifter Motor PTC Thermistor Operation (Up)
      G03068928Courtesy of © TOYOTA, LICENSE AGREEMENT TMS1002
    3. Disconnect the leads from the terminals.
    4. Approximately 60 seconds later, connect the positive (+) lead from the battery to terminal 2 (1) and the negative (-) lead to terminal 1 (2), check that the seat cushion begins to descend.

      If operation is not as specified, replace the seat adjuster.

      Fig 15: Testing Lifter Motor PTC Thermistor Operation (Down)
      G03068929Courtesy of © TOYOTA, LICENSE AGREEMENT TMS1002
  13. INSPECT RECLINING MOTOR OPERATION 
    1. Connect the positive (+) lead from the battery to terminal 1 and the negative (-) lead to terminal 2, check that the motor turns clockwise.
    2. Reverse the polarity, check that the motor turns counterclockwise.

      If operation is not as specified, replace the seat adjuster.

      Fig 16: Testing Reclining Motor Operation
      G03068930Courtesy of © TOYOTA, LICENSE AGREEMENT TMS1002
  14. INSPECT RECLINING MOTOR PTC THERMISTOR OPERATION 
    1. Connect the positive (+) lead from the battery to terminal 2, the positive (+) lead from the ammeter to terminal 1 and the negative (-) lead to the battery negative (-) terminal, then recline the seat back to the most forward position.
    2. Continue to apply voltage, check that the current changes to less than 1 ampere within 4 to 90 seconds.
      Fig 17: Testing Reclining Motor PTC Thermistor Operation (Forward)
      G03068931Courtesy of © TOYOTA, LICENSE AGREEMENT TMS1002
    3. Disconnect the leads from the terminals.
    4. Approximately 60 seconds later, connect the positive (+) lead from the battery to terminal 1 and the negative (-) lead to terminal 2, check that the seat back begins to fall backward.

      If operation is not as specified, replace the seat adjuster.

      Fig 18: Testing Reclining Motor PTC Thermistor Operation (Rearward)
      G03068932Courtesy of © TOYOTA, LICENSE AGREEMENT TMS1002
  15. INSPECT LUMBAR SUPPORT MOTOR OPERATION 
    1. Connect the positive (+) lead from the battery to terminal 1 and the negative (-) lead to terminal 2, check that the lumbar support moves to release side.
      Fig 19: Testing Lumbar Support Motor Operation (Release)
      G03068933Courtesy of © TOYOTA, LICENSE AGREEMENT TMS1002
    2. Reverse the polarity, check that the lumbar support moves forward.

      If operation is not as specified, replace the seat adjuster.

      Fig 20: Testing Lumbar Support Motor Operation (Forward)
      G03068934Courtesy of © TOYOTA, LICENSE AGREEMENT TMS1002
  16. INSPECT LUMBAR SUPPORT MOTOR CIRCUIT BREAKER OPERATION 
    1. Connect the positive (+) lead from the battery to terminal 2 and the negative (-) lead to terminal 1 on the lumbar support motor connector and move the lumbar support to front end position.
      Fig 21: Testing Lumbar Support Motor Circuit Breaker Operation (Forward)
      G03068935Courtesy of © TOYOTA, LICENSE AGREEMENT TMS1002
    2. Continue to apply voltage, check that a circuit breaker operation noise can be heard within 4 to 60 seconds.
    3. Reverse the polarity, check that the lumbar support begins to move to release side within approximately 60 seconds.

      If operation is not as specified, replace the motor.

      Fig 22: Testing Lumbar Support Motor Circuit Breaker Operation (Release)
      G03068936Courtesy of © TOYOTA, LICENSE AGREEMENT TMS1002