LEMON Manuals: Even more car manuals for everyone: 1960-2025
Home >> Toyota >> 2005 >> Matrix XRS >> Repair and Diagnosis (Single Page) >> Body & Frame >> Windows >> Windshield/WINDOWGLASS/Mirror >> Windshield Glass >> Replacement
April 5, 2026: LEMON Manuals is launched! Read the announcement.

Windshield Glass: Replacement

HINT:

  1. REMOVE FR WIPER ARM RH (See  WINDSHIELD WIPER MOTOR ASSY  ) 
  2. REMOVE FR WIPER ARM LH (See  WINDSHIELD WIPER MOTOR ASSY  ) 
  3. REMOVE HOOD TO COWL TOP SEAL (See  WINDSHIELD WIPER MOTOR ASSY  ) 
  4. REMOVE COWL TOP VENTILATOR LOUVER LH (See  WINDSHIELD WIPER MOTOR ASSY  ) 
  5. REMOVE COWL TOP VENTILATOR LOUVER RH (See  WINDSHIELD WIPER MOTOR ASSY  ) 
  6. REMOVE FRONT DOOR WEATHERSTRIP RH (See  REPLACEMENT  ) 
  7. REMOVE FRONT DOOR WEATHERSTRIP LH (See  REPLACEMENT  ) 
  8. REMOVE FRONT PILLAR GARNISH RH (See  REPLACEMENT  ) 
  9. REMOVE FRONT PILLAR GARNISH LH (See  REPLACEMENT  ) 
  10. REMOVE INNER REAR VIEW MIRROR ASSY (See  INNER REAR VIEW MIRROR ASSY  ) 
  11. REMOVE RH VISOR ASSY (See  REPLACEMENT  ) 
  12. REMOVE LH VISOR ASSY (See  REPLACEMENT  ) 
  13. REMOVE GLOVE BOX LAMP ASSY (W/SLIDING ROOF) (See  REPLACEMENT  ) 
  14. REMOVE ASSIST GRIP SUB-ASSY (See  REPLACEMENT  ) 
  15. REMOVE VISOR HOLDER (See  REPLACEMENT  ) 
  16. REMOVE ROOF HEADLINING ASSY (See  REPLACEMENT  ) 
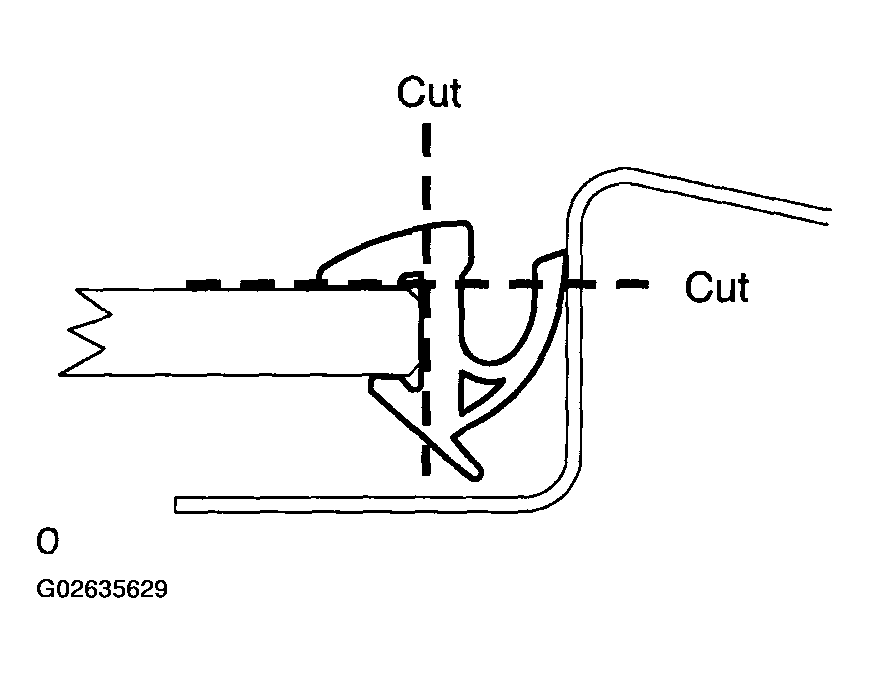
  17. REMOVE WINDSHIELD MOULDING OUTSIDE 
    1. Using a knife, cut off the moulding as shown in the illustration.
      NOTE: Do not damage the vehicle body with the knife.
    2. Remove the remaining moulding.

      HINT: Make a partial cut in the moulding.

      Fig 1: Cutting Off Moulding
      G02635629Courtesy of © TOYOTA, LICENSE AGREEMENT TMS1002
  18. REMOVE WINDSHIELD GLASS 
    1. From the interior, insert a piano wire between the vehicle body and glass.

      HINT: Apply protective tape to the outer surface of the vehicle body to keep the surface from being scratched.

      Fig 2: Inserting Piano Wire Between Vehicle Body And Glass
      G02635630Courtesy of © TOYOTA, LICENSE AGREEMENT TMS1002
    2. Tie both wire ends to wooden blocks or similar objects.
      NOTE: When separating the glass, take care not to damage the paint and interior/exterior ornaments.
    3. Cut the adhesive by pulling the piano wire around the glass.
    4. Using a suction cup, remove the glass.
      NOTE: Leave as much adhesive on the body as possible when removing the glass.
      Fig 3: Cutting Adhesive By Pulling Piano Wire Around Glass
      G02635631Courtesy of © TOYOTA, LICENSE AGREEMENT TMS1002
  19. CLEAN WINDSHIELD GLASS 
    1. Using a scraper, remove the damaged stoppers, dam and adhesive sticking to the glass.
    2. Clean the outer edge of the glass with white gasoline.
      NOTE: Do not touch the glass after cleaning it.
      Fig 4: Removing Damaged Stoppers, Dam And Adhesive Sticking To Glass
      G02635632Courtesy of © TOYOTA, LICENSE AGREEMENT TMS1002
  20. INSTALL WINDSHIELD GLASS STOPPER NO.1 
    1. Install 2 new windshield glass stoppers No. 1 to the body as shown in the illustration.
      Fig 5: Installing New Windshield Glass Stoppers No. 1 To Body
      G02635633Courtesy of © TOYOTA, LICENSE AGREEMENT TMS1002
  21. INSTALL WINDSHIELD GLASS STOPPER NO.2 

    HINT:

    If an area other than that specified is coated by accident, wipe off the primer with a clean sponge.

    1. Coat the installation part of the stopper with Primer G.
      NOTE:
      • Allow the primer coating to dry for 3 minutes or more.
      • Do not apply too much primer.
    2. Install 2 new windshield glass stoppers No. 2 onto the glass as shown in the illustration.

      A: 40.0 mm (1.575 in.) 

      B: 7.7 mm (0.303 in.) 

      Fig 6: Installing New Windshield Glass Stoppers No. 2 Onto Glass
      G02635634Courtesy of © TOYOTA, LICENSE AGREEMENT TMS1002
  22. INSTALL FRONT PILLAR OUTER DAM 
    1. Apply Primer G to the window glass where the front pillar outer dam will be installed.
      NOTE: If an area other than that specified is coated by accident, wipe off the primer with a clean sponge.
      • Allow the primer coating to dry for 3 minutes or more. 
      • Do not apply too much primer. 
    2. Remove the peeling paper from the adhesive part of the dam. Install the dam (adhesive side) to the window glass (Primer G area), but exclude the stopper area "d" as shown in the illustration.
      NOTE: Do not touch the glass surface after cleaning it.

      A: 7 mm (0.28 in.)

      B: 22.5 mm (0.886 in.)

      C: 45 mm (1.77 in.)

      D: 5 mm (0.20 in.)

      Fig 7: Identifying Stopper Area
      G02635635Courtesy of © TOYOTA, LICENSE AGREEMENT TMS1002
  23. INSTALL WINDSHIELD GLASS 
    1. Clean and shape the contact surface of the adhesive on the vehicle's body.
      1. Using a knife, cut away any excessive adhesive.

        HINT: Leave as much adhesive on the body as possible.

      2. Clean the cut surface of the adhesive with a piece of sponge saturated in cleaner.
    2. Position the glass.
      1. Using a suction cup, place the glass in the correct position.
      2. Check that all the contacting parts of the glass rim are perfectly even.
      3. Place reference marks between the glass and body.
        Fig 8: Cutting Away Any Excessive Adhesive
        G02635636Courtesy of © TOYOTA, LICENSE AGREEMENT TMS1002
        NOTE: Check that the stoppers are attached to the vehicle body correctly.

        HINT: When planning to reuse the glass, check and correct the reference mark's positions.

      4. Remove the glass.
    3. Coat the contact surface of the body panel with Primer M.
      1. Using a brush, coat the exposed part of the contact surface on the vehicle side with Primer M.
      NOTE:
      • Allow the primer coating to dry for 3 minutes or more.
      • Do not coat the adhesive with Primer M.
      • Do not apply too much Primer.
    4. Coat the contact surface of the glass with Primer G.
      1. Using a brush or sponge, coat the edge of the glass and the contact surface with Primer G.

      HINT: If an area other than that specified is coated by accident, wipe off the primer.

      NOTE:
      • Allow the primer coating to dry for 3 minutes or more.
      • Do not apply too much primer.
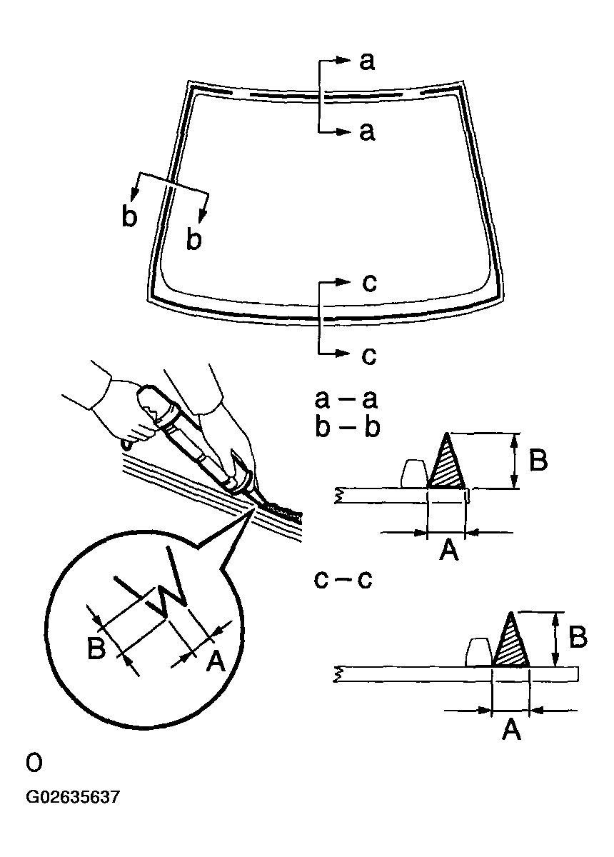
    5. Apply adhesive.
      1. Cut off the tip of the cartridge nozzle as shown in the illustration.

        Adhesive: Part No. 08850-00801 or equivalent 

        HINT: After cutting off the tip, use all adhesive within the time described in the table below.

        TEMPERATURE AND USAGE TOMFOOLERIES SPECIFICATION

        Temperature Usage Timeframe
        35°C(95°F) 15 minutes
        20°C(68°F) 100 minutes
        5°C(41°F) 8 hours
      2. Load the sealer gun with the cartridge.
      3. Coat the glass with adhesive, as shown in the illustration.

        A: 8.0 mm (0.315 in.) 

        B: 12.5 mm (0.492 in.) 

    6. Install the glass.
      1. Using a suction cup, position the glass so that the reference marks are aligned, and press it in gently along the rim.
        Fig 9: Cutting Off Tip Of Cartridge Nozzle
        G02635637Courtesy of © TOYOTA, LICENSE AGREEMENT TMS1002
        NOTE:
        • Allow the primer coating to dry for 3 minutes or more.
        • Check that the stoppers are attached to the vehicle body correctly.
        • Check the clearance between the vehicle body and glass.
      2. Lightly press the glass surface to ensure that the windshield glass is securely fit to the vehicle body.
      3. Using a scraper, remove any excess or protruding adhesive.

      HINT: Apply adhesive on the glass rim.

  24. INSTALL WINDSHIELD MOULDING OUTSIDE 
    1. Install a new windshield moulding to the windshield glass before the adhesive has hardened.
    2. Hold the windshield glass in place securely with protective tape or equivalent until the adhesive has completely hardened.
    3. Using a scraper, remove any excess or protruding adhesive before the adhesive has hardened.
      NOTE: Do not drive the vehicle for the amount of time written in the table below.
      TEMPERATURE AND TIME PRIOR TO DRIVING

      Temperature Minimum time prior to driving
      35°C (95°F) 1.5 hours
      20°C (68°F) 5 hours
      5°C(41°F) 24 hours
  25. INSPECT FOR LEAK AND REPAIR 
    1. Conduct a leak test after the adhesive has completely hardened.
    2. Seal any leaks with sealant.