LEMON Manuals: Even more car manuals for everyone: 1960-2025
Home >> Toyota >> 2005 >> Prius >> Repair and Diagnosis (Single Page) >> Transmission >> Automatic Trans >> Transmission Control System (Parking Lock Control) - Diagnostics >> Shift Control System (Parking Lock Control) >> P Position Switch Indicator Light Circuit >> Wiring Diagram
April 5, 2026: LEMON Manuals is launched! Read the announcement.

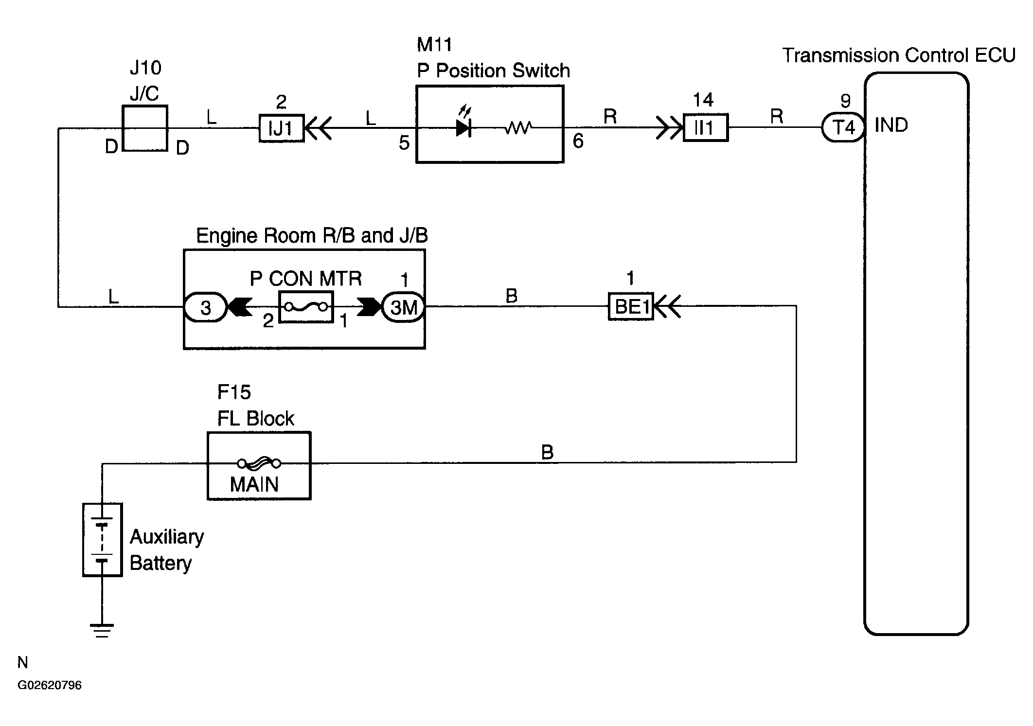
P Position Switch Indicator Light Circuit: Wiring Diagram

Fig 1: P Position Switch Indicator Light Circuit
G02620796Courtesy of © TOYOTA, LICENSE AGREEMENT TMS1002