LEMON Manuals: Even more car manuals for everyone: 1960-2025
Home >> Toyota >> 2005 >> Prius >> Repair and Diagnosis >> Body & Frame >> Ignition Switch/Steering Lock >> Push Button Start System - Diagnostics >> System Diagram
April 5, 2026: LEMON Manuals is launched! Read the announcement.

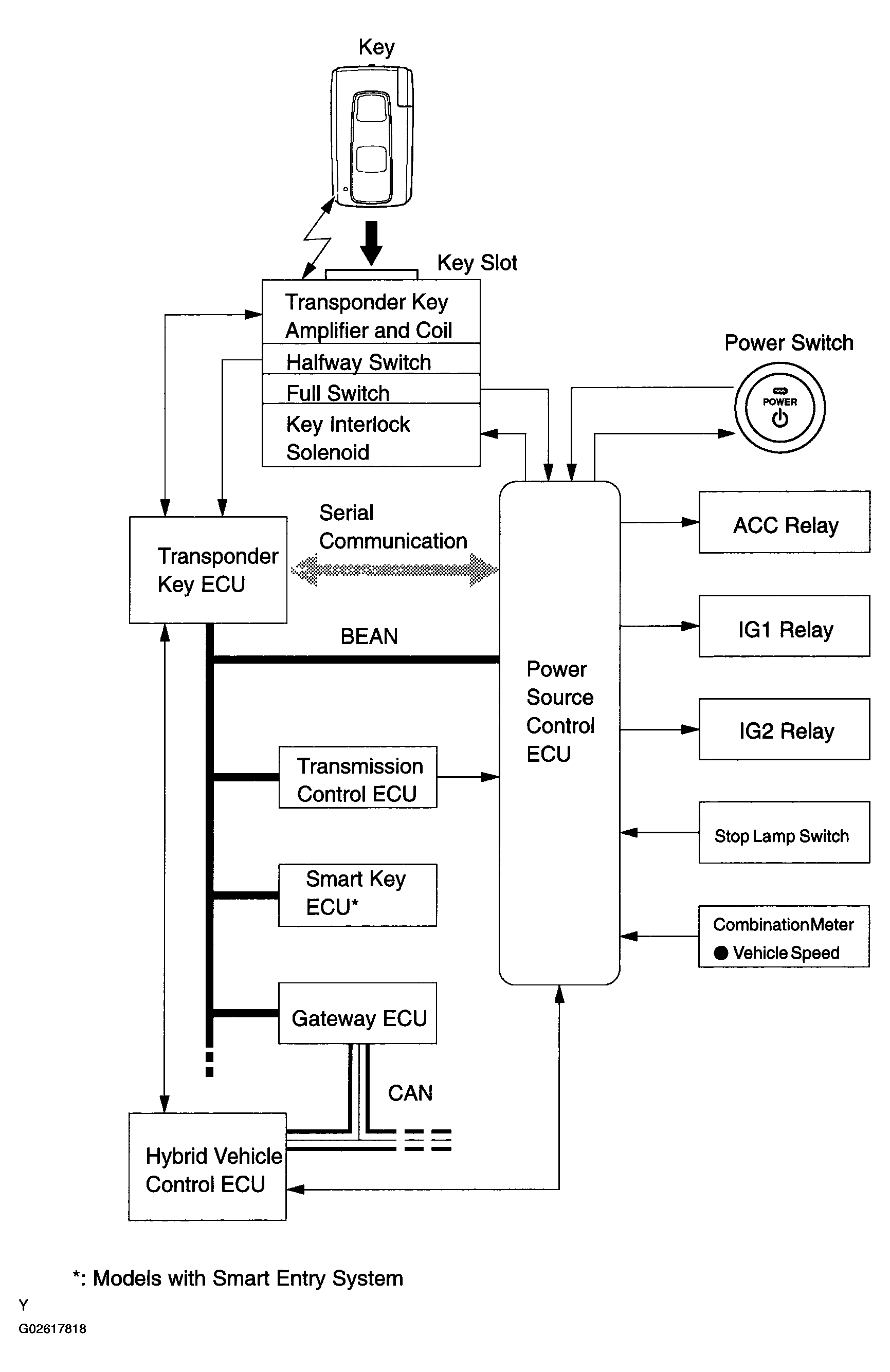
System Diagram

Fig 1: Push Button Start System - System Diagram
G02617818Courtesy of © TOYOTA, LICENSE AGREEMENT TMS1002
Fig 2: System Diagram Reference Chart
G02617819Courtesy of © TOYOTA, LICENSE AGREEMENT TMS1002