LEMON Manuals: Even more car manuals for everyone: 1960-2025
Home >> Toyota >> 2005 >> Prius >> Repair and Diagnosis >> Engine Performance >> Remove, Overhaul & Install >> Engine Control System >> SFI System (1NZ-FXE) >> System Diagram
April 5, 2026: LEMON Manuals is launched! Read the announcement.

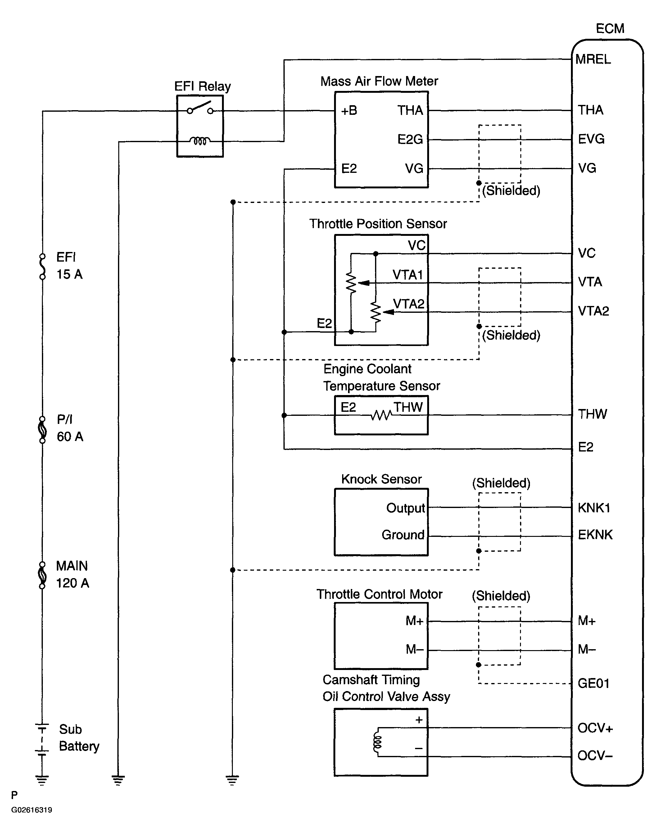
System Diagram

The engine control system is determined by the ECM based on signals from various sensors.

Fig 1: Engine Control System Diagram
G02616319Courtesy of © TOYOTA, LICENSE AGREEMENT TMS1002