LEMON Manuals: Even more car manuals for everyone: 1960-2025
Home >> Toyota >> 2005 >> Prius >> Repair and Diagnosis >> General Information >> OEM General Information >> Introduction >> Repair Instruction >> Precaution
April 5, 2026: LEMON Manuals is launched! Read the announcement.

Repair Instruction: Precaution

  1. BASIC REPAIR HINT 
    1. HINTS ON OPERATIONS
      Fig 1: Identifying Repairing Precaution
      G02619314Courtesy of © TOYOTA, LICENSE AGREEMENT TMS1002
      Fig 2: Repairing Precaution Components Table
      G02619315Courtesy of © TOYOTA, LICENSE AGREEMENT TMS1002
    2. JACKING UP AND SUPPORTING VEHICLE
      1. Care must be taken when jacking up and supporting the vehicle. Be sure to lift and support the vehicle at the proper locations (SEE VEHICLE LIFT AND SUPPORT LOCATIONS  ).
        Fig 3: Identifying Seal Lock Adhesive
        G02619316Courtesy of © TOYOTA, LICENSE AGREEMENT TMS1002
    3. PRECOATED PARTS
      1. Precoated parts are bolts and nuts that are coated with a seal lock adhesive at the factory.
      2. If a precoated part is retightened, loosened or moved in any way, it must be recoated with the specified adhesive.
      3. When reusing a precoated part, clean off the old adhesive and dry the part with compressed air. Then apply new seal lock adhesive appropriate to that part.
      4. Some seal lock agents harden slowly. You may have to wait for the seal lock agent to harden.
    4. GASKETS
      1. When necessary, use a sealer on gaskets to prevent leaks.
    5. BOLTS, NUTS AND SCREWS
      1. Carefully follow all the specifications for tightening torques. Always use a torque wrench.
      NOTE: Perform the torque with the lower limit value of the torque tolerance. 
    6. FUSES
      1. When inspecting a fuse, check that the wire of the fuse is not broken.
      2. When replacing fuses, be sure that the new fuse has the correct amperage rating. Do not exceed the rating or use one with a lower rating.
        Fig 4: Identifying Correct And Incorrect Fuses
        G02619317Courtesy of © TOYOTA, LICENSE AGREEMENT TMS1002
        Fig 5: Fuses Chart
        G02619318Courtesy of © TOYOTA, LICENSE AGREEMENT TMS1002
    7. CLIPS
      1. The removal and installation methods of typical clips used in body parts are shown in the table below.

      HINT:

      If clips are damaged during a procedure, always replace the damaged clip with a new clip.

      Fig 6: Clips Chart (1 Of 2)
      G02619319Courtesy of © TOYOTA, LICENSE AGREEMENT TMS1002
      Fig 7: Clips Chart (2 Of 2)
      G02619320Courtesy of © TOYOTA, LICENSE AGREEMENT TMS1002
    8. REMOVAL AND INSTALLATION OF VACUUM HOSES
      1. To disconnect a vacuum hose, pull and twist from the end of the hose. Do not pull from the middle of the hose as this may cause damage.
        Fig 8: Identifying Correct Procedure Of Disconnect Vacuum Hose
        G02619321Courtesy of © TOYOTA, LICENSE AGREEMENT TMS1002
      2. When disconnecting vacuum hoses, use tags to identify where they should be reconnected.
      3. After completing the job, double check that the vacuum hoses are properly connected. The label under the hood shows the proper layout.
      4. When using a vacuum gauge, never force the hose onto a connector that is too large. Use a step-down adapter if necessary. Once the hose has been stretched, it may leak air.
        Fig 9: Using Tags To Identify Hose
        G02619322Courtesy of © TOYOTA, LICENSE AGREEMENT TMS1002
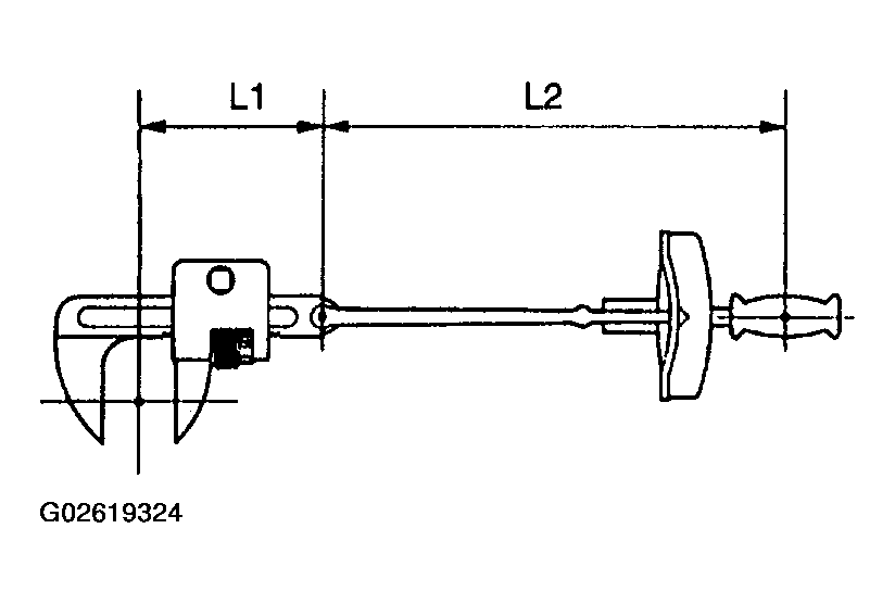
    9. TORQUE WHEN USING TORQUE WRENCH WITH EXTENSION TOOL
      1. Use the formula below to calculate special torque values for situations where SST or an extension tool is combined with the torque wrench.

        Formula: T'= T x L2/ (L1+L2)

        DIAGNOSIS PROCEDURE

        T' Reading of torque wrench (N.m (kgf.cm, ft.lbf))
        T Torque (N.m (kgf.cm, ft.lbf)}
        L1 Length of SST or extension tool {cm (in.)}
        L2 Length of torque wrench {cm (in.)}
        Fig 10: Identifying Length Of Extension Tool
        G02619323Courtesy of © TOYOTA, LICENSE AGREEMENT TMS1002
        NOTE: If an extension tool or SST is combined with a torque wrench and the wrench is tightened to the torque specification in this manual, the actual torque will be excessive and parts will be damaged.
        Fig 11: Identifying Length Of Torque Wrench
        G02619324Courtesy of © TOYOTA, LICENSE AGREEMENT TMS1002
  2. PRECAUTIONS FOR HIGH-VOLTAGE CIRCUIT INSPECTION AND SERVICE 
    1. Engineer must undergo special training to be able to perform high-voltage system inspection and servicing.
    2. All high-voltage wire harness connectors are colored orange. The HV battery and other high-voltage components have "High Voltage" caution labels. Do not carelessly touch these wires and components.
      Fig 12: Identifying High-Voltage Connectors And Terminals
      G02619325Courtesy of © TOYOTA, LICENSE AGREEMENT TMS1002
    3. Before inspecting or servicing the high-voltage system, be sure to follow safety measures, such as wearing insulated gloves and removing the service plug to prevent electrocution. Carry the removed service plug in your pocket to prevent other technicians from reinstalling it while you are servicing the vehicle.
    4. After removing the service plug, wait 5 minutes before touching any of the high-voltage connectors and terminals.

      HINT:

      5 minutes are required to discharge the high-voltage condenser inside the inverter.

      Fig 13: Identifying Safety Precaution
      G02619326Courtesy of © TOYOTA, LICENSE AGREEMENT TMS1002
    5. Be sure to install the service plug before starting the hybrid system with the service plug removed may damage the vehicle.
    6. Before wearing insulated gloves, make sure that they are not cracked, ruptured, torn, or damaged in any way. Do not wear wet insulated gloves.
    7. When servicing the vehicle, do not carry metal objects like mechanical pencils or scales that can be dropped accidentally and cause a short circuit.
    8. Before touching a bare high-voltage terminal, wear insulated gloves and use an electrical tester to ensure that the terminal is not charged with electricity (approximately 0 V).
    9. After disconnecting or exposing a high-voltage connector or terminal, insulate it immediately using insulation tape.
    10. The screw of a high-voltage terminal should be tightened firmly to the specified torque. Both insufficient and excessive torque can cause failure.
    11. Use the "CAUTION: HIGH VOLTAGE. DO NOT TOUCH DURING OPERATION" sign to notify other engineers that a high-voltage system is being inspected and/or repaired.
    12. Do not place the battery upside down while removing and installing it.
      Fig 14: Applying Insulation Tape On High-Voltage Connector Or Terminal
      G02619327Courtesy of © TOYOTA, LICENSE AGREEMENT TMS1002
    13. After servicing the high-voltage system and before reinstalling the service plug, check again that you have not left a part or tool inside, that the high-voltage terminal screws are firmly tightened, and that the connectors are correctly connected.
      Fig 15: Identifying Safety Precaution Note
      G02619328Courtesy of © TOYOTA, LICENSE AGREEMENT TMS1002
  3. PRECAUTIONS TO BE OBSERVED WHEN INSPECTING OR SERVICING ENGINE COMPARTMENT 

    The PRIUS automatically turns the engine ON and OFF when the READY light on the instrument panel is ON. To avoid injury, remove the key from the key slot before inspecting or servicing the engine compartment.

    Fig 16: Identifying Engine Compartment Label
    G02619329Courtesy of © TOYOTA, LICENSE AGREEMENT TMS1002
  4. ACTIONS TO BE TAKEN WHEN BATTERIES ARE DEPLETED 
    1. Perform this procedure when the auxiliary battery is fully depleted.

      HINT:

      The following problems indicate that the auxiliary battery is depleted:

      • No display appears on the instrument panel when the power switch's power mode is set to ON (IG).
      • The hybrid system does not start.
      • The headlights are dim.
      • The sound from the horn is weak.
        NOTE: Never use a quick charger. 
        1. Push the "P" position switch, and engage the parking brake.
        2. Remove the key from the key slot.
        3. Using a booster cable, connect the rescue vehicle's 12 V battery positive (+) lead to the stalled vehicle's relay block positive (+) terminal and the negative (-) lead to the suspension support's nut on the right side.
        4. Start the engine of the rescue vehicle and run the engine at a speed slightly higher than the idling speed for 5 minutes to charge the auxiliary battery of the stalled vehicle.
        5. Depress the brake pedal and push the power switch to start the hybrid system.
          Fig 17: Identifying Relay Block
          G02619330Courtesy of © TOYOTA, LICENSE AGREEMENT TMS1002

          If the hybrid system fails to start and the master lamp turns ON, the HV battery may be depleted.

        6. Disconnect the booster cable in the reverse order of the connection procedure.
          Fig 18: Identifying Master Lamp Symbol
          G02619331Courtesy of © TOYOTA, LICENSE AGREEMENT TMS1002
          NOTE: If the auxiliary battery needs to be replaced, replace it only with a 12 V battery specially designed for use with the PRIUS. 
    2. Perform this procedure when the HV battery is depleted.
      NOTE: Leaving the vehicle untouched for 2 to 3 months may deplete the HV battery. If the battery is fully depleted, replace the HV battery. 
  5. INSPECTION MODE 

    HINT:

    • The PRIUS' engine automatically stops if the vehicle is stopped, the engine is warmed up, the battery is well charged, and A/C compressor operation is not being used. Activate inspection mode when continuous operation of the engine is required.
    • The PRIUS has a motor TRAC function. When the wheel speed of the front wheels exceeds that of rear wheels, the wheel speed of the front wheels is restrained. It is necessary to activate inspection mode and deactivate the motor TRAC function when turning only the front wheels using a speedometer tester.
    1. Vehicle conditions
      1. Before activating inspection mode, turn the air conditioning off, start the engine with the selector lever in the P position, and check that the engine stops within several seconds after starting (engine warm up check).
      2. Activate inspection mode and inspect the vehicle. The shift position for each test is as follows:
        Fig 19: Inspection Mode Table
        G02619332Courtesy of © TOYOTA, LICENSE AGREEMENT TMS1002
      3. Reset inspection mode immediately after completion of inspection.
        NOTE: Driving the vehicle without resetting inspection mode may damage the transaxle. 
    2. Special notes for speedometer test
      NOTE: Do not use the speedometer tester to perform rapid starting or quick acceleration/deceleration without first setting the proper load on the vehicle. Failing to set the load may damage the transaxle. 
      1. Depress the accelerator pedal slowly and gradually accelerate the vehicle. Make a measurement.
      2. After the measurement, use the brake to gradually decelerate the vehicle.
    3. Special note for using the chassis dynamometer

      Always set an appropriate load before starting the test.

      Fig 20: Identifying HV System Warning Lamp
      G02619333Courtesy of © TOYOTA, LICENSE AGREEMENT TMS1002
    4. Activating of inspection mode (Without using the hand-held tester)

      Perform the following steps from (1) through (4) in 60 seconds.

      1. Turn the power switch ON (IG).
      2. Fully depress the accelerator pedal twice with the transmission in the P position.
      3. Fully depress the accelerator pedal twice with the transmission in the N position.
      4. Fully depress the accelerator pedal twice with the transmission in the P position.
      5. Check that the HV system warning lamp flashes on the multi-information display.
      6. Start the engine by pushing the power switch, depressing the brake pedal.

      Activating inspection mode (Using the hand-held tester)

      1. Connect the hand-held tester to the DLC3.
      2. Turn the power switch ON (IG).
      3. Turn the hand-held tester ON.
      4. Select the following menu items: DIAGNOSIS/OBD/MOBD/HV ECU/ ACTIVE TEST /INSPECTION MOD1 / ON.
      5. Check that the HV system warning flashes on the multi-information display and the master warning lamp is illuminated in the combination meter.
      6. Start the engine by pushing the power switch, depressing the brake pedal.

      Deactivating inspection mode

      1. Turn the power switch OFF. The HV main system turns off simultaneously.
        Fig 21: Identifying Master Warning Lamp
        G02619334Courtesy of © TOYOTA, LICENSE AGREEMENT TMS1002
      NOTE:
      • The idling speed in inspection mode is approximately 1,000 RPM. The engine speed increases to 1,500 RPM if the accelerator pedal is depressed by less than 60%. If the accelerator pedal is depressed by less than 60%, the engine speed increases to 2,500 RPM. 
      • If a DTC is set during inspection mode, the master warning lamp and the error warning lamp illuminate on the multi-information display. 
      • When the master warning lamp illuminates during inspection mode, deactivate inspection mode, and check a DTC(s). 
      • Driving the vehicle without deactivating inspection mode may damage the transaxle. 
  6. ACTIONS TO BE TAKEN FOR VEHICLE DAMAGED BY IMPACT 
    1. Items to be prepared or operation at the site of the accident
      • Protective clothing (insulated gloves, rubber gloves, goggles, and safety shoes)
      • Saturated boric acid solution 20 L (obtain 800 g of boric acid powder, put it into a container, and dissolve it in water)
      • Red litmus paper
      • ABC fire extinguisher (effective against both oil flames and electrical flames)
      • Shop rags (for wiping off the electrolyte)
      • Vinyl tape (for insulating cable)
      • Electrical tester
    2. Actions to be taken at the place of accident
      1. Wear insulated or rubber gloves, goggles and safety shoes.
      2. Do not touch a bare cable that could be a high voltage cable. If the cable must be touched or if accidental contact is unavoidable, follow these instructions: 1) wear insulated or rubber gloves and goggles, 2) measure the voltage between the cable and the body ground using an electrical tester, and 3) insulate the cable using vinyl tape.
      3. If the vehicle catches on fire, use an ABC fire extinguisher to extinguish the fire. Trying to extinguish a fire using only a small amount of water can be more dangerous than effective. Use a substantial amount of water or wait for fire fighters.
      4. Visually check the HV battery and immediate area for any electrolyte leakage. Do not touch any leaked liquid because it could be highly alkaline electrolyte. Wear rubber gloves and goggles, and then apply red litmus paper to the leak. If the paper turns blue, the liquid must be neutralized before wiping. Neutralize the liquid using the following procedures:

        1) apply saturated boric acid solution to the liquid, and 2) reapply red litmus paper and make sure it does not turn blue. Repeat steps 1 and 2 above until the paper does not turn blue. Then, wipe the neutralized liquid with a shop rag.

      5. If damage to any of the high-voltage components and cables is suspected, cut the high-voltage circuit using the procedure on the following pages.
        Fig 22: Identifying High-Voltage Part And Wiring
        G02619335Courtesy of © TOYOTA, LICENSE AGREEMENT TMS1002
        • Push the "P" position switch and engage the parking brake.
        • Remove the key from the key slot. Then disconnect the negative (-) terminal of the auxiliary battery.
        • Remove the service plug while wearing insulated gloves.
        • Do not turn the power switch on while removing the service plug.
          Fig 23: Removing Service Plug
          G02619336Courtesy of © TOYOTA, LICENSE AGREEMENT TMS1002
        • If the service plug cannot be removed due to damage to the rear portion of the vehicle, remove the HV fuse or power integration (IGCT Relay) instead.
          Fig 24: Identifying HV Fuse Or Power Integration (IGCT Relay)
          G02619337Courtesy of © TOYOTA, LICENSE AGREEMENT TMS1002
    3. Moving the damaged vehicle

      HINT:

      If any of the following applies, tow the vehicle away using a tow truck.

      • One or more of the high-voltage components and cables are damaged.
      • The driving, traction, or fuel system is damaged.
        Fig 25: READY Lamp Display
        G02619338Courtesy of © TOYOTA, LICENSE AGREEMENT TMS1002
      • The READY lamp is not illuminated when you turn.
      NOTE:
      • Before towing the vehicle away using a tow truck, disconnect the cable from the negative (-) terminal of the auxiliary battery and remove the service plug. 

        Only if none of the above applies and there are no problems that might affect driving, drive the vehicle away from the place of accident to a safe, nearby place. 

      • Perform the procedure below if the READY lamp turns off, or there are abnormal noises, unusual smells, or strong vibrations while driving: 
        1. Park the vehicle in a safe place.
        2. Push the "P" position switch and engage the parking brake.
        3. Disconnect the power cable from the negative (-) terminal of the auxiliary battery.
        4. Remove the service plug while wearing insulated gloves.
    4. Actions required after moving the damaged vehicle

      If you see any liquid on the road surface, it could be highly alkaline electrolyte leakage.

      Wear rubber gloves and goggles, and apply red litmus paper to the leak. If the paper turns blue, the liquid must be neutralized before wiping. Neutralize the liquid using the following procedures: 1) apply saturated boric acid solution to the liquid, and 2) red litmus paper and make sure it does not turn blue. Repeat steps 1 and 2 above until the paper does not turn blue. Then wipe the neutralized liquid with a shop rag.

    5. Items to be prepared (when repairing damaged vehicles)
      • Protective clothing (Insulated gloves, rubber gloves, goggles, and safety shoes)
      • Saturated boric acid solution 20 L (obtain 800 g of boric acid powder, put it into a container, and dissolve it in water)
      • Red litmus paper
      • Shop rags (for wiping off the electrolyte)
      • Vinyl tape (for insulating cable)
      • Electrical tester
    6. Precautions to be observed when servicing the damaged vehicle.
      1. Wear insulated or rubber gloves, goggles, and safety shoes.
      2. Do not touch a bare cable that could be a high voltage cable. If the cable must be touched or if accidental contact is unavailable, follow these instructions: 1) wear insulated or rubber gloves and goggles, 2) measure the voltage between the cable and the body ground using an electrical tester, and 3) insulate the cable using vinyl tape.
      3. Check the HV battery and immediate area for any electrolyte leakage. Do not touch any leaked liquid because it could be highly alkaline electrolyte. Wear rubber gloves and goggles, and then apply red litmus paper to the leak. If the paper turns blue, the liquid must be neutralized before wiping. Neutralize the liquid using the following procedures:

        1) apply saturated boric acid solution to the liquid, and 2) reapply red litmus paper and make sure it does not turn blue. Repeat steps 1 and 2 above until the paper does not turn blue, Then wipe the neutralized liquid with a shop rag.

      4. If the electrolyte adheres to your skin, wash the skin immediately using saturated boric acid solution of a large amount of water. If the electrolyte adheres to an article of clothing, take it off immediately.
      5. If the electrolyte comes in contact with your eyes, call out loudly for help. Do not rub your eyes. Wash them with a large amount of water and seek medical care immediately.
      6. If damage to any of the high-voltage components and cables is suspected, cut the high-voltage circuit using the procedure below.
        • Push the "P" position switch and engage the parking brake.
        • Remove the key from the key slot. Then disconnect the power cable from the negative (-) terminal of the auxiliary battery.
        • Wear insulated gloves, and then remove the service plug.
        • If you cannot remove the service plug due to damage to the rear portion of the vehicle, remove the HV fuse of IGCT relay instead.
    7. Precautions to be taken when disposing of the vehicle when scrapping the vehicle, remove the HV battery from the vehicle and return it to the location specified by the manufacturer. The same applies to any damaged HV battery.
    8. After removing the battery, keep it away from water. Water may heat the battery, which results in fire.
    9. Precautions to be observed when towing

      Tow the damaged vehicle with its front wheels or its front and rear wheels lifted off the ground.

      NOTE: Towing the damaged vehicle with its front wheels on the ground may cause the motor to generate electricity. This electricity could, depending on the nature of the damage, leak and cause a fire. 
    10. Towing with 4 wheels on the ground.
      NOTE:
      • If the damaged vehicle needs to be towed using a rope, do not exceed 30 km/h and tow only for very short distances. Foe example, towing from the accident site to a nearby tow truck is permissible. 
      • Change the power switch's power mode to ON (IG) and shift the selector lever to the N position. 
      • If any abnormality is present in the damaged vehicle during towing, stop towing immediately. 
    11. Towing eyelet
      1. Install the hook.
      2. Hook a rope on to the illustrated area for towing.
        Fig 26: Identifying Towing Eyelet
        G02619339Courtesy of © TOYOTA, LICENSE AGREEMENT TMS1002
    12. FOR VEHICLES EQUIPPED WITH SRS AIRBAG AND SEAT BELT PRETENSIONER 

      The PRIUS is equipped with a Supplemental Restraint System (SRS).

      CAUTION: Failure to carry out the service operations in the correct sequence could cause the SRS to unexpectedly deploy during servicing and lead to serious injury. 

      Furthermore, if a mistake is made when servicing the SRS, it is possible that the SRS may fail to operate properly. Before servicing (including removal or installation of parts, inspection or replacement), be sure to read the following section carefully.

      1. GENERAL NOTICE
        1. As the malfunction symptoms of the SRS are difficult to confirm the Diagnostic Trouble Codes (DTCs) become the most important source of information when troubleshooting. When troubleshooting the SRS, always check the DTCs before disconnecting the battery (SEE DIAGNOSTIC TROUBLE CODES CHECK/CLEAR ).
        2. Work must be started at least 90 seconds after the ignition switch is turned to the LOCK position and the negative (-) terminal cable is disconnected from the battery.

          (The SRS is equipped with a back-up power source. If work is started within 90 seconds after turning the ignition switch to lock and disconnecting the negative (-) terminal cable from the battery, the SRS may deploy).

          When the negative (-) terminal cable is disconnected from the battery, clock and audio system memory is erased. Before starting work, make a note of the settings of each memory system. When work is finished, reset the clock and audio systems as before.

          CAUTION: Never use the back-up power source (battery or other) to try to keep the system memory from being erased. The back-up power source may inadvertently power the SRS, and cause it to deploy. 
        3. In minor collisions where the SRS does not deploy, the horn button assembly, instrument panel passenger airbag assembly, front seat airbag assembly, curtain shield airbag assembly and seat belt pretensioner should be inspected before further use of the vehicle (SEE DISPOSAL , DISPOSAL , DISPOSAL , FRONT SEAT AIRBAG ASSY and DISPOSAL ).
        4. Never use SRS parts from another vehicle. When replacing parts, use new parts.
        5. Before repairs, remove the airbag sensor if impacts are likely to be applied to the sensor during repairs.
        6. Never disassemble and repair the airbag sensor assembly, horn button assembly, instrument panel passenger airbag assembly, front seat airbag assembly, curtain shield airbag assembly or seat belt pretensioner.
        7. Replace the center airbag sensor assembly, side airbag sensor assembly, horn button assembly or the instrument panel passenger airbag assembly, front seat airbag assembly, or curtain shield airbag assembly if: 1) damage has occurred from being dropped, or 2) cracks, dents or other defects in the case, bracket or connector are present.
        8. Do not directly expose the airbag sensor assembly, horn button assembly, instrument panel passenger airbag assembly, front seat airbag assembly, curtain shield airbag assembly or seat belt pretensioner to hot air or flames.
        9. Use a voltmeter/ohmmeter with high impedance (10 kΩ/V minimum) for troubleshooting electrical circuits.
        10. Information labels are attached to the SRS components. Follow the instructions on the labels.
        11. After work on the SRS is completed, check the SRS warning lamp (SEE DIAGNOSIS SYSTEM ).
      2. SPIRAL CABLE (in Combination Switch)
        1. The steering wheel must be fitted correctly to the steering column with the spiral cable in the neutral position, otherwise cable disconnection and other problems may occur. Refer to for information about correct installation of the steering wheel.
          Fig 27: Identifying Mark
          G02619340Courtesy of © TOYOTA, LICENSE AGREEMENT TMS1002
      3. HORN BUTTON ASSEMBLY (with Airbag)
        1. When removing the horn button assembly or handling a new horn button, it should be placed with the pad surface facing up. See the illustration below.

          Placing the horn button with the pad surface facing down may lead to a serious accident it the airbag accidently inflates. Also, do not place anything on top of the horn button.

        2. Never measure the resistance of the airbag squib. This may cause the airbag to inflate, which could cause serious injury.
        3. Grease or detergents of any kind should not be applied to the steering wheel pad.
        4. Store the horn button assembly in an area where the ambient temperature is below 93°C (200°F), the humidity is not high and electrical noise is not nearby.
        5. When using electric welding anywhere on the vehicle, disconnect the airbag sensor (ECU) connectors (4 pins). These connectors contain shorting springs. This feature reduces the possibility of the airbag or seat belt pretensioner deploying due to currents entering the squib wiring.
        6. When disposing of the vehicle or the horn button assembly by itself, the airbag should be inflated using an SST before disposal (SEE DISPOSAL ). Perform the operation in a safe place away from electrical noise.

          Example:

          Fig 28: Installing Position Of Horn Button Assembly (With Airbag) (1 Of 2)
          G02619341Courtesy of © TOYOTA, LICENSE AGREEMENT TMS1002
          Fig 29: Installing Position Of Horn Button Assembly (With Airbag) (2 Of 2)
          G02619342Courtesy of © TOYOTA, LICENSE AGREEMENT TMS1002
      4. INSTRUMENT PANEL PASSENGER AIRBAG ASSY
        1. Always place a removed or new instrument panel passenger airbag assembly with the airbag inflation direction facing upward.

          Placing the airbag assembly with the airbag inflation direction facing downward could cause a serious accident if the airbag inflates.

        2. Never measure the resistance of the airbag squib. This may cause the airbag to inflate, which could cause serious injury.
        3. Grease or detergents of any kind should not be applied to the instrument panel passenger airbag assembly.
        4. Store the airbag assembly in an area where the ambient temperature is below 93°C (200°F), the humidity is not high and electrical noise is not nearby.
        5. When using electric welding anywhere on the vehicle, disconnect the airbag ECU connectors (4 pins). These connectors contains shorting springs. This feature reduces the possibility of the airbag deploying due to currents entering the squib wiring.
        6. When disposing of a vehicle or the airbag assembly unit by itself, the airbag should be deployed using SST before disposal (SEE DISPOSAL ).

          Activate in a safe place away from electrical noise.

          Example:

          Fig 30: Installing Position Of Instrument Panel Passenger Airbag Assy (1 Of 2)
          G02619343Courtesy of © TOYOTA, LICENSE AGREEMENT TMS1002
          Fig 31: Installing Position Of Instrument Panel Passenger Airbag Assy (2 Of 2)
          G02619344Courtesy of © TOYOTA, LICENSE AGREEMENT TMS1002
      5. CURTAIN SHIELD AIRBAG ASSEMBLY
        1. Always place the removed or new curtain shield airbag assembly in a clear plastic bag, and keep it in a safe place.
          NOTE: Plastic bag is not re-useable. 
          CAUTION: Never disassemble the curtain shield airbag assembly. 
        2. Never measure the resistance of the airbag squib. This may cause the airbag to inflate, which could cause serious injury.
        3. Grease or detergents of any kind should not be applied to the curtain shield airbag assembly.
        4. Store the airbag assembly in an area where the ambient temperature is below 93°C (200°F), the humidity is not high and electrical noise is not nearby.
        5. When using electric welding anywhere on the vehicle, disconnect the airbag sensor (ECU) connectors (2 pins). These connectors contain shorting springs. This feature reduces the possibility of the airbag deploying due to currents entering the squib wiring.
        6. When disposing of a vehicle or the curtain shield airbag assembly unit by itself, the airbag should be deployed using SST before disposal (SEE DISPOSAL ).

          Activate in a safe place away from electrical noise.

          Example:

          Fig 32: Installing Position Of Curtain Shield Airbag Assembly (1 Of 2)
          G02619345Courtesy of © TOYOTA, LICENSE AGREEMENT TMS1002
          Fig 33: Installing Position Of Curtain Shield Airbag Assembly (2 Of 2)
          G02619346Courtesy of © TOYOTA, LICENSE AGREEMENT TMS1002
      6. FRONT SEAT AIRBAG ASSEMBLY
        1. Always place a removed or new front seat airbag assembly with the airbag inflation direction facing up.

          Placing the airbag assembly with the airbag inflation direction facing downward could cause a serious accident if the airbag deploys.

        2. Never measure the resistance of the airbag squib. This may cause the airbag to inflate, which could cause serious injury.
        3. Grease should not be applied to the front seat airbag assembly, and the airbag door should not be cleaned with detergents of any kind.
        4. Store the airbag assembly in an area where the ambient temperature is below 93°C (200°F), the humidity is not high and electrical noise is not nearby.
        5. When using electric welding anywhere on the vehicle, disconnect the airbag ECU connectors (2 pins). These connectors contain shorting springs. This feature reduces the possibility of the airbag deploying due to currents entering the squib wiring.
        6. When disposing of a vehicle or the airbag assembly unit by itself, the airbag should be deployed using SST before disposal (see FRONT PASSENGER AIRBAG ASSY ).

          Activate in a safe place away from electrical noise.

          Example:

          Fig 34: Safety Precaution For Front Seat Airbag Assembly
          G02619347Courtesy of © TOYOTA, LICENSE AGREEMENT TMS1002
      7. SEAT BELT PRETENSIONER
        1. Never measure the resistance of the seat belt pretensioner. This may cause the seat belt pretensioner to activate, which could cause serious injury.
        2. Never disassemble the seat belt pretensioner.
        3. Never install the seat belt pretensioner on another vehicle.
        4. Store the seat belt pretensioner in an area where the ambient temperature is below 80°C (176°F), the humidity is not high and electrical noise is not nearby.
        5. When using electric welding anywhere on the vehicle, disconnect the airbag sensor (ECU) connectors (2 pins). These connectors contain shorting springs. This feature reduces the possibility of the airbag deploying due to currents entering the squib wiring.
        6. When disposing of a vehicle or the seat belt pretensioner unit by itself, the seat belt pretensioner should be activated before disposal (SEE DISPOSAL ). Activate in a safe place away form electrical noise.
        7. As the seat belt pretensioner is hot after being activated, allow some time for it to cool down sufficiently before disposal. Never apply water to try to cool down the seat belt pretensioner.
        8. Grease, detergents, oil or water should not be applied to the front seat outer belt.

          Example:

          Fig 35: Safety Precaution For Seat Belt Pretensioner
          G02619348Courtesy of © TOYOTA, LICENSE AGREEMENT TMS1002
      8. AIRBAG SENSOR ASSEMBLY (ECU)
        1. Never reuse an airbag sensor assembly that has been involved in a collision where the SRS has deployed.
        2. The connectors to the airbag sensor assembly should be connected or disconnected with the sensor mounted on the floor. If the connectors are connected or disconnected while the airbag sensor assembly is not mounted to the floor, the SRS may activate.
        3. Work must be started at least 90 seconds after the power switch's power mode is changed to OFF and the negative (-) terminal cable is disconnected from the battery, even if only loosening the set bolts of the airbag sensor assembly.
      9. WIRE HARNESS AND CONNECTOR
        1. The SRS wire harness is integrated with the instrument panel wire harness assembly. All the connectors in the system are a standard yellow color. If the SRS wire harness becomes disconnected or the connector becomes broken, repair or replace it.
    13. ELECTRONIC CONTROL 
      1. REMOVAL AND INSTALLATION OF BATTERY CABLE
        Fig 36: Disconnecting Negative (-) Terminal
        G02619349Courtesy of © TOYOTA, LICENSE AGREEMENT TMS1002
        NOTE: After disconnecting the negative (-) terminal, it is necessary to perform the initialization of certain systems. (SEE  INITIALIZATION   ) 
        1. Before performing electronic work, disconnect cable from the negative (-) battery terminal to prevent component and wire damage caused by accidental short circuits.
        2. When disconnecting the terminal cable, turn the ignition switch and headlamp dimmer switch OFF and loosen the terminal nut completely. Perform these operations without twisting or prying the terminal. Remove the battery cable from the battery terminal.
        3. Clock settings, radio settings, audio system memory, DTCs and other data are erased when the battery cable is disconnected. Write down any necessary data before disconnecting the battery cable.
      2. HANDLING OF ELECTRONIC PARTS
        1. Do not open the cover or case of the ECU unless absolutely necessary. If the IC terminals are touched, the IC may be rendered inoperative by static electricity.
        2. Do not pull the wires when disconnecting electronic connectors. Pull the connector itself.
        3. Be careful not to drop electronic components, such as sensors or relays. If they are dropped on a hand surface, they should be replaced.
        4. When cleaning the engine with steam, protect the electronic components, air filter and emission-related components from water.
        5. Never use an impact wrench to remove or install temperature switches or temperature sensors.
        6. When measuring the resistance of a wire connector, insert the tester probe carefully to prevent terminals from bending.
        Fig 37: Handling Of Electronic Parts
        G02619350Courtesy of © TOYOTA, LICENSE AGREEMENT TMS1002
    14. REMOVAL AND INSTALLATION OF FUEL CONTROL PARTS 
      1. PLACE FOR REMOVING AND INSTALLING OF FUEL SYSTEM PARTS
        1. Work in a location with good air ventilation that does not have welders, grinders, drills, electric motors, stoves, or any other ignition sources.
        2. Never work in a pit or near a pit as vaporized fuel will collect in those places.
      2. REMOVING AND INSTALLING OF FUEL SYSTEM PARTS
        1. Prepare a fire extinguisher before starting operation.
        2. To prevent static electricity, install a ground wire to the fuel changer, vehicle and fuel tank, and do not spray the surrounding area with water. Be careful when performing work in this area, as the work surface will become slippery. Do not clean up gasoline spills with water, as this may cause the gasoline to spread, and possibly create a fire hazard.
        3. Avoid using electric motors, working lights and other electric equipment that can cause sparks or high temperatures.
        4. Avoid using iron hammers as they may create sparks.
        5. Dispose of fuel-contaminated cloth separately using a fire resistant container.
    15. REMOVAL AND INSTALLATION OF ENGINE INTAKE PARTS 
      1. If any metal particles enter inlet pass, this may damage the engine.
      2. When removing and installing inlet system parts, cover the openings of the removed parts and engine openings.

        Use gummed tape or other suitable materials.

      3. When installing inlet system parts, check that no metal particles have entered the engine or the installed part.
        Fig 38: Covering Inlet System Parts
        G02619351Courtesy of © TOYOTA, LICENSE AGREEMENT TMS1002
    16. HANDLING OF HOSE CLAMPS 
      1. Before removing the hose, check the clamp position so that it can be reinstalled in the same position.
      2. Replace any deformed or dented clamps with new ones.
      3. When reusing a hose, attach the clamp on the clamp track portion of the hose.
      4. For a spring type clamp, you may want to spread the tabs slightly after installation by pushing in the direction of the arrow marks as shown in the illustration.
        Fig 39: Identifying Hose Clamps
        G02619352Courtesy of © TOYOTA, LICENSE AGREEMENT TMS1002
    17. FOR VEHICLES EQUIPPED WITH MOBILE COMMUNICATION SYSTEMS 
      1. Install the antenna as far away from the ECU and sensors of the vehicle electronic systems as possible.
      2. Install an antenna feeder at least 20 cm (7.87 in.) away from the ECU and sensors of the vehicle electronic systems. For details of the ECU and sensors locations, refer to the section on applicable components.
      3. Keep the antenna and feeder separate from other wirings as much as possible. This will prevent signals from the communication equipment from affecting vehicle equipment and vice-versa.
      4. Check that the antenna and feeder are correctly adjusted.
      5. Do not install any high-powered mobile communication system.
        Fig 40: Identifying Mobile Communication Systems
        G02619353Courtesy of © TOYOTA, LICENSE AGREEMENT TMS1002
    18. FOR VEHICLES EQUIPPED WITH VEHICLE STABILITY CONTROL (Enhanced VSC) SYSTEM 
      1. NOTICES WHEN USING DRUM TESTER
        1. Before beginning testing, disable the Vehicle Skid Control (Enhanced VSC) system. To disable the Enhanced VSC, change the power switch's power mode to OFF and connect SST to terminals TS and CG of the DLC3.

          SST 09843-18040

          Fig 41: Identifying DLC3 Connector
          G02619354Courtesy of © TOYOTA, LICENSE AGREEMENT TMS1002
          NOTE:
          • Confirm that the VSC warning lamp is blinking. 
          • The Enhanced VSC system will be reset when the engine is restarted. 
          • For safety, secure the vehicle with restraint chains when using a wheel dynamometer. 
      2. NOTICES OF RELATED OPERATIONS TO Enhanced VSC
        1. Do not make unnecessary installations and removals as this may affect the adjustment of Enhanced VSC related parts.
        2. Be sure to follow the Enhanced VSC system's instructions for work preparation and final confirmation of proper operation.
    19. FOR VEHICLES EQUIPPED WITH CATALYTIC CONVERTER 
      CAUTION: If a large amount of unburned gasoline or gasoline vapors flow into the converter, it may cause overheating and create a fire hazard. To prevent this, observe the following precautions. 
      1. Use only unleaded gasoline.
      2. Avoid prolonged idling.

        Avoid idling the engine for more than 20 minutes.

      3. Avoid a spark jump test.
        1. Perform a spark jump test only when absolutely necessary. Perform this test as rapidly as possible.
        2. While testing, never race the engine.
      4. Avoid a prolonged engine compression measurement. Engine compression measurements must be performed as rapidly as possible.
      5. Do not run the engine when the fuel tank is nearly empty. This may cause the engine to misfire and create extra load on the converter.