LEMON Manuals: Even more car manuals for everyone: 1960-2025
Home >> Toyota >> 2005 >> RAV4 Base, AWD, Automatic >> Repair and Diagnosis >> Body & Frame >> Windows >> Power Window Control System >> Inspection
April 5, 2026: LEMON Manuals is launched! Read the announcement.

Power Window Control System: Inspection

  1. INSPECT POWER WINDOW MASTER SWITCH CONTINUITY 
    Fig 1: Identifying Power Window Master Switch Connector Terminals
    G02640931Courtesy of © TOYOTA, LICENSE AGREEMENT TMS1002

    FRONT DRIVER'S SWITCH (WINDOW UNLOCK AND LOCK): 

    SWITCH POSITION SPECIFIED CONDITION

    Switch Position Tester Connection Specified Condition
    UP 4 - 7
    1 - 3 - 9
    Continuity
    OFF 1 - 3 - 4
    1 - 3 - 9
    Continuity
    DOWN 7 - 9
    1 - 3 - 4
    Continuity

    FRONT PASSENGER'S SWITCH (WINDOW UNLOCK): 

    SWITCH POSITION SPECIFIED CONDITION

    Switch Position Tester Connection Specified Condition
    UP 6 - 13
    1 - 3 - 15
    Continuity
    OFF 1 - 3 - 13
    1 - 3 - 15
    Continuity
    DOWN 6 - 15
    1 - 3 - 13
    Continuity

    FRONT PASSENGER'S SWITCH (WINDOW LOCK): 

    SWITCH POSITION SPECIFIED CONDITION

    Switch Position Tester Connection Specified Condition
    UP 6 13 Continuity
    OFF 13 - 15 Continuity
    DOWN 6 - 15 Continuity

    REAR LEFT SWITCH (WINDOW UNLOCK): 

    SWITCH POSITION SPECIFIED CONDITION

    Switch Position Tester Connection Specified Condition
    UP 6 - 12
    1 - 3 - 10
    Continuity
    OFF 1 - 3 - 12
    1 - 3 - 10
    Continuity
    DOWN 6 - 10
    1 - 3 - 12
    Continuity

    REAR LEFT SWITCH (WINDOW LOCK): 

    SWITCH POSITION SPECIFIED CONDITION

    Switch Position Tester Connection Specified Condition
    UP 6 - 12 Continuity
    OFF 10 - 12 Continuity
    DOWN 6 - 10 Continuity

    REAR LEFT SWITCH (WINDOW UNLOCK): 

    SWITCH POSITION SPECIFIED CONDITION

    Switch Position Tester Connection Specified Condition
    UP 6 - 18
    1 - 3 - 16
    Continuity
    OFF 1 - 3 - 18
    1 - 3 - 16
    Continuity
    DOWN 6 - 16
    1 - 3 - 18
    Continuity

    REAR LEFT SWITCH (WINDOW LOCK): 

    SWITCH POSITION SPECIFIED CONDITION

    Switch Position Tester Connection Specified Condition
    UP 6 - 18 Continuity
    OFF 16 - 18 Continuity
    DOWN 6 - 16 Continuity

    If the continuity is not as specified, replace the master switch.

  2. Using an ammeter: INSPECT ONE TOUCH POWER WINDOW SYSTEM/CURRENT OF CIRCUIT 
    1. Disconnect the connector from the master switch.
    2. Connect the positive (+) lead from the ammeter to terminal 4 on the wire harness side connector and the negative (-) lead to negative (-) terminal of the battery.
    3. Connect the positive (+) lead from the battery to terminal 9 on the wire harness side connector.
      Fig 2: Inspecting One Touch Power Window System/Current Of Circuit (1 Of 2)
      G02640932Courtesy of © TOYOTA, LICENSE AGREEMENT TMS1002
    4. As the window moves down, check if the current flow is approximately 7 A.
    5. Check if the current increases up to approximately 14.5 A or more when the window stops moving down.
      Fig 3: Inspecting One Touch Power Window System/Current Of Circuit (2 Of 2)
      G02640933Courtesy of © TOYOTA, LICENSE AGREEMENT TMS1002

    HINT:

    The circuit breaker opens 4 to 40 seconds after the window stops moving down. Therefore, check must be made before the circuit breaker operates.

    If operation is not as specified, replace the master switch.

  3. Using an ammeter with a current-measuring probe: INSPECT ONE TOUCH POWER WINDOW SYSTEM/CURRENT OF CIRCUIT 
    1. Remove the master switch with the connector connected.
    2. Attach a current-measuring probe to terminal 4 of the wire harness.
    3. Turn the ignition switch ON and set the power window switch in the down position.
    4. As the window moves down, check if the current flow is approximately 7 A.
      Fig 4: Attaching Current-Measuring Probe To Terminal 4
      G02640934Courtesy of © TOYOTA, LICENSE AGREEMENT TMS1002
    5. Check if the current increases up to approximately 14.5 A or more when the window stops moving down.
      Fig 5: Checking Current Increases Up To Approximately 14.5 A
      G02640935Courtesy of © TOYOTA, LICENSE AGREEMENT TMS1002

    HINT:

    The circuit breaker opens 4 to 40 seconds after the window stops moving down. Therefore, check must be made before the circuit breaker operates.

    If operation is not as specified, replace the master switch.

  4. Passenger's and rear switch: INSPECT PASSENGER'S AND REAR POWER WINDOW REGULATOR SWITCH CONTINUITY 
    SWITCH POSITION SPECIFIED CONDITION

    Switch Position Tester Connection Specified Condition
    UP 1 - 2
    3 - 4
    Continuity
    OFF 1 - 2
    3 - 5
    Continuity
    DOWN 1 - 4
    3 - 5
    Continuity
    Fig 6: Inspecting Passenger's & Rear Power Window Regulator Switch Continuity
    G02640936Courtesy of © TOYOTA, LICENSE AGREEMENT TMS1002

    If the continuity is not as specified, replace the switch.

  5. Front left side door and rear right side door: INSPECT POWER WINDOW MOTOR OPERATION 
    1. Connect the positive (+) lead from the battery to terminal 4 and the negative (-) lead to terminal 5. Check if the motor turns clockwise.
      Fig 7: Front Left Side & Rear Right Side Doors - Inspecting Power Window Motor Operation
      G02640937Courtesy of © TOYOTA, LICENSE AGREEMENT TMS1002
    2. Reverse the polarity and check if the motor turns counterclockwise.

      If operation is not as specified, replace the motor.

      Fig 8: Checking If Motor Turns Counterclockwise (Polarity Reversed)
      G02640938Courtesy of © TOYOTA, LICENSE AGREEMENT TMS1002
  6. Front right side door and rear left side door: INSPECT POWER WINDOW MOTOR OPERATION 
    1. Connect the positive (+) lead from the battery to terminal 5 and the negative (-) lead to terminal 4. Check if the motor turns clockwise.
      Fig 9: Connecting Positive (+) Lead From Battery To Terminal 5 & Negative (-) Lead To Terminal 4
      G02640939Courtesy of © TOYOTA, LICENSE AGREEMENT TMS1002
    2. Reverse the polarity and check if the motor turns counterclockwise.

      If operation is not as specified, replace the motor.

      Fig 10: Checking If Motor Turns Counterclockwise (Polarity Reversed)
      G02640940Courtesy of © TOYOTA, LICENSE AGREEMENT TMS1002
  7. INSPECT POWER WINDOW MOTOR PTC THERMISTOR OPERATION 
    1. Disconnect the connector from the driver door window motor.
    2. Connect the positive (+) lead from the ammeter to terminal 5 on the wire harness side connector and the negative (-) lead to the negative terminal of the battery.
    3. Connect the positive (+) lead from the battery to terminal 4 on the wire harness side connector. Then, raise the window to the fully closed position.
      Fig 11: Inspecting Power Window Motor PTC Thermistor Operation (1 Of 2)
      G02640941Courtesy of © TOYOTA, LICENSE AGREEMENT TMS1002
    4. Continue to apply voltage and check if the current changes to less than 1 A within 4 to 90 seconds.
    5. Disconnect the leads from the terminals.
    6. Approximately 60 seconds later, connect the positive (+) lead from the battery to terminal 5 and the negative (-) lead to terminal 4. Check if the window begins to descend.

      If operation is not as specified, replace the motor.

      Fig 12: Inspecting Power Window Motor PTC Thermistor Operation (2 Of 2)
      G02640942Courtesy of © TOYOTA, LICENSE AGREEMENT TMS1002
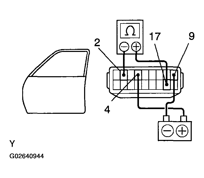
  8. Window up: INSPECT FRONT WINDOW JAM PROTECTION LIMIT SWITCH OPERATION 
    1. Disconnect the connector from the master switch.
    2. Connect the positive (+) lead from the ohmmeter to terminal 17 and the negative (-) lead to terminal 2.
    3. Connect the positive (+) lead from the battery to terminal 4 and the negative (-) lead to terminal 9.
    4. Check if continuity exists when the window moves up.
      Fig 13: Window Up - Inspecting Front Window Jam Protection Limit Switch Operation
      G02640943Courtesy of © TOYOTA, LICENSE AGREEMENT TMS1002
    5. Check if no continuity exists when the window is in the fully closed position.

      If operation is not as specified, replace the motor.

      Fig 14: Checking If No Continuity Exists - Window Is In The Fully Closed Position
      G02640944Courtesy of © TOYOTA, LICENSE AGREEMENT TMS1002
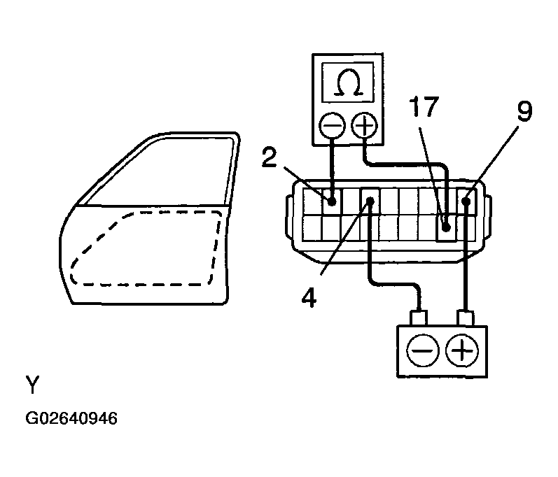
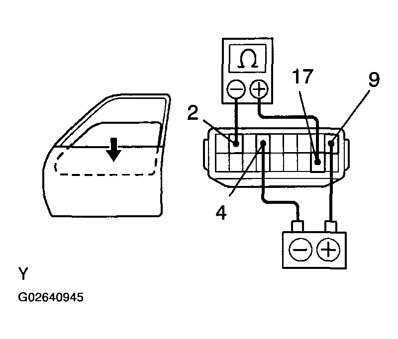
  9. Window down: INSPECT FRONT WINDOW JAM PROTECTION LIMIT SWITCH OPERATION 
    1. Connect the positive (+) lead from the ohmmeter to terminal 17 and the negative (-) lead to terminal 2.
    2. Connect the positive (+) lead from the battery to terminal 9 and the negative (-) lead to terminal 4.
    3. Check if continuity exists when the window moves up.
      Fig 15: Window Down - Inspecting Front Window Jam Protection Limit Switch Operation
      G02640945Courtesy of © TOYOTA, LICENSE AGREEMENT TMS1002
    4. Check if no continuity exists when the window is in the fully opened position.
      NOTE: Connecting the wire harness incorrectly may damage the sensor. Caution is necessary.
      Fig 16: Checking If No Continuity Exists - Window Is In The Fully Opened Position
      G02640946Courtesy of © TOYOTA, LICENSE AGREEMENT TMS1002
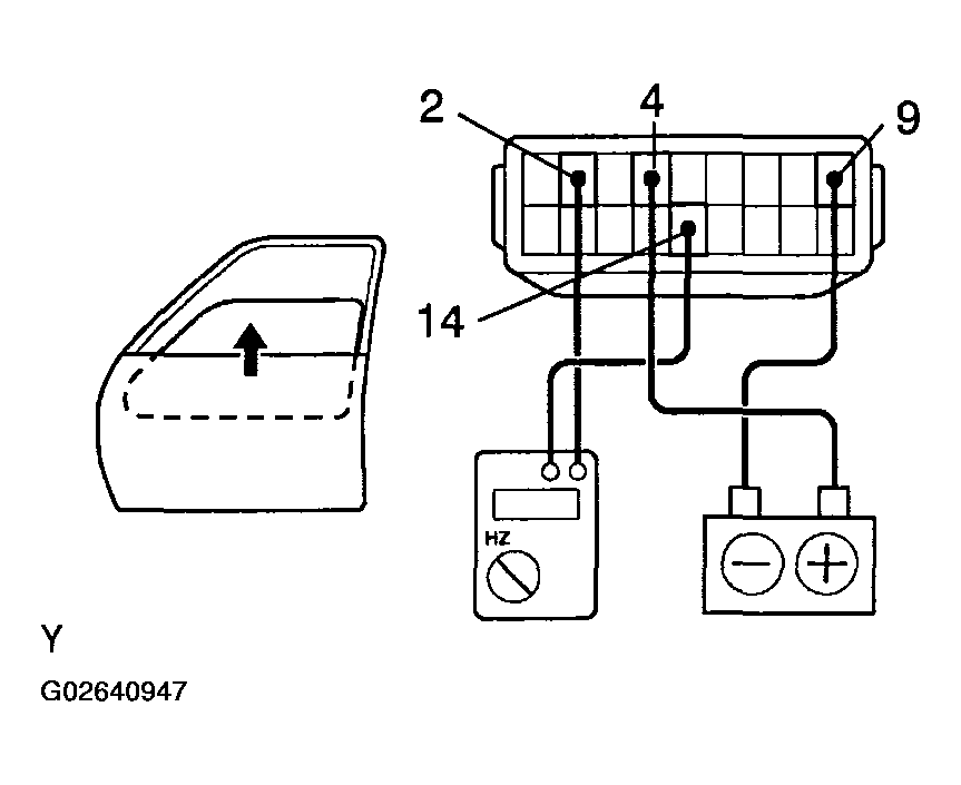
  10. INSPECT FRONT WINDOW JAM PROTECTION PULSE SWITCH OPERATION 
    1. Connect the positive (+) lead from the electrical tester to terminal 14 and the negative (-) lead to terminal 2.
    2. Connect the positive (+) lead from the battery to terminal 4 and the negative (-) lead to terminal 9.
    3. Check if pulse is generated when the motor is running.
      Fig 17: Inspecting Front Window Jam Protection Pulse Switch Operation
      G02640947Courtesy of © TOYOTA, LICENSE AGREEMENT TMS1002
    4. Reverse the polarity and check if the pulse is generated.

      If operation is not as specified, replace the motor.

      NOTE: Connecting the wire harness incorrectly may damage the sensor. Caution is necessary.
      Fig 18: Reversing Polarity & Checking If Pulse Is Generated
      G02640948Courtesy of © TOYOTA, LICENSE AGREEMENT TMS1002
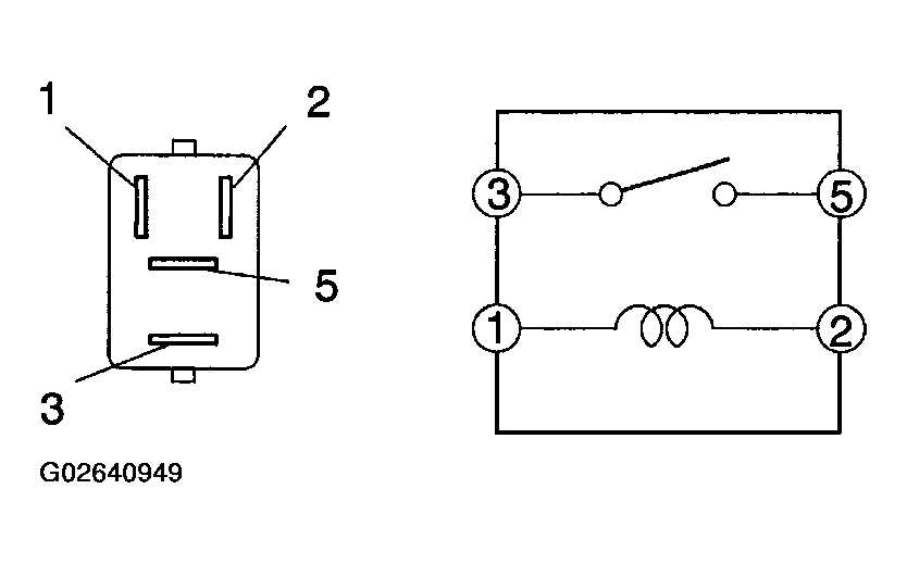
  11. INSPECT POWER RELAY CONTINUITY 
    TESTER CONNECTION SPECIFIED CONDITION

    Tester Connection Specified Condition
    3 - 5 No continuity
    3 - 5 Continuity (when battery voltage is applied to terminals 1 and 2)
    Fig 19: Identifying Power Relay Terminals
    G02640949Courtesy of © TOYOTA, LICENSE AGREEMENT TMS1002

    If the continuity is not as specified, replace the relay.

  12. Driver's door glass only: CHECK JAM PROTECTION FUNCTION 
    NOTE:
    • Do not check this function using a part of your body such as a hand. Also, pay thorough attention that nothing gets caught by accident in this process.
    • If the power window motor has just been reset, raise and lower the door glass several times using AUTO operation before performing the check.

    HINT:

    The jam protection function works only during AUTO UP operation.

    1. Fully open the door glass.
    2. Insert the hammer handle when the door glass is almost in the fully closed position.
    3. Try to fully close the door glass with the AUTO UP operation. Check if the door glass moves down by about 200 mm (7.87 in.) and stops there so that the hammer handle is not caught.

      HINT:

      The door glass usually moves down by approximately 50 mm (1.97 in.). However, when opening between the door glass and body is less than 200 mm (7.87 in.), the door glass moves down by 200 mm (7.87 in.) or keeps moving down for 5 seconds, and then stops.

    4. During DOWN operation, check if the door glass does not move up even if the power window master switch is pulled UP.