LEMON Manuals: Even more car manuals for everyone: 1960-2025
Home >> Toyota >> 2005 >> RAV4 Base, AWD, Automatic >> Repair and Diagnosis >> Engine Performance >> System >> Engine - Diagnostics >> ECM Power Source Circuit >> Inspection Procedure
April 5, 2026: LEMON Manuals is launched! Read the announcement.

Inspection Procedure

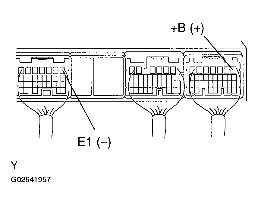
  1. Check voltage between terminals +B and E1 or ECM connectors. 

    PREPARATION: 

    1. Remove the glove compartment (see ENGINE CONTROL MODULE (ECM) ).
    2. Turn the ignition switch ON.

    CHECK: 

    Measure the voltage between terminals +B and E1 of the ECM connectors.

    OK: 

    Voltage: 9 to 14 V 

    Fig 1: Identifying Terminals +B & E1 Of ECM Connectors
    G02641957Courtesy of © TOYOTA, LICENSE AGREEMENT TMS1002
    1. OK: Proceed to next circuit inspection shown on problem symptoms table (see  PROBLEM SYMPTOMS TABLE  ). 
    2. NG: Go To Next Step 
  2. Check for open in wire harness between terminal E1 of ECM connector and body ground (see  HOW TO USE THE DIAGNOSTIC CHART AND INSPECTION PROCEDURE  ). 
    1. NG: Repair or replace harness and connector. 
    2. OK: Go To Next Step 
  3. Check voltage between terminal IGSW of ECM connector and body ground. 

    PREPARATION: 

    1. Remove the glove compartment (see ENGINE CONTROL MODULE (ECM) ).
    2. Turn the ignition switch ON.

    CHECK: 

    Measure the voltage between terminal IGSW of the ECM connector and the body ground.

    OK: 

    Voltage: 9 to 14 V 

    Fig 2: Identifying Terminal IGSW Of ECM Connector
    G02641958Courtesy of © TOYOTA, LICENSE AGREEMENT TMS1002
    1. OK: Go to step   6 . 
    2. NG: Go To Next Step 
  4. Check IGN fuse. 

    PREPARATION: 

    Remove the IGN fuse from the engine room J/B.

    CHECK: 

    Check the resistance of the IGN fuse.

    OK: 

    Resistance: Below 1 Ω 

    Fig 3: Identifying IGN Fuse
    G02641959Courtesy of © TOYOTA, LICENSE AGREEMENT TMS1002
    1. NG: Replace IGN fuse. 
    2. OK: Go To Next Step 
  5. Check ignition switch (see  INSPECTION  ). 
    1. NG: Replace ignition switch. 
    2. OK: Check and repair harness and connector between battery and ignition switch, and ignition switch and ECM. 
  6. Check voltage between terminal MREL of ECM connector and body ground. 

    PREPARATION: 

    1. Remove the glove compartment (see ENGINE CONTROL MODULE (ECM) ).
    2. Turn the ignition switch ON.

    CHECK: 

    Measure the voltage between terminal MREL of the ECM connector and body ground.

    OK: 

    Voltage: 9 to 14 V 

    Fig 4: Identifying Terminal MREL Of ECM Connector
    G02641960Courtesy of © TOYOTA, LICENSE AGREEMENT TMS1002
    1. NG: Replace ECM (see  ENGINE CONTROL MODULE (ECM)  ). 
    2. OK: Go To Next Step 
  7. Check EFI1 fuse. 

    PREPARATION: 

    Remove the EFI1 fuse from the engine room J/B.

    CHECK: 

    Check the resistance of the EFI1 fuse.

    OK: 

    Resistance: Below 1 Ω 

    Fig 5: Identifying EFI1 Fuse
    G02641961Courtesy of © TOYOTA, LICENSE AGREEMENT TMS1002
    1. NG: Replace EFI1 fuse. 
    2. OK: Go To Next Step 
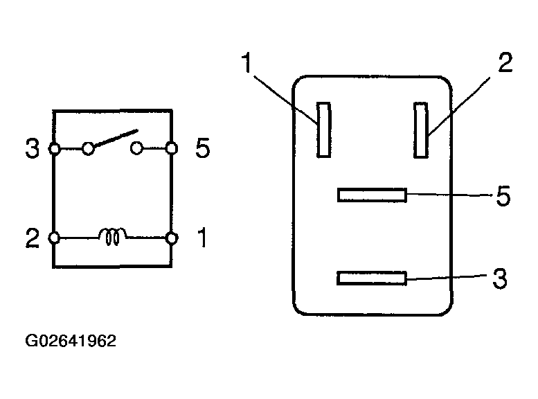
  8. Check EFI main relay. 

    PREPARATION: 

    Remove the EFI main relay from the engine room J/B.

    CHECK: 

    Inspect the EFI main relay.

    OK: 

    EFI MAIN RELAY TERMINALS RESISTANCE

    Tester Connection Specified Condition
    3-5 10 kΩ or higher
    3-5 Below 1 Ω (when battery voltage is applied to terminals 1 and 2)
    Fig 6: Identifying EFI Main Relay Terminals
    G02641962Courtesy of © TOYOTA, LICENSE AGREEMENT TMS1002
    1. NG: Replace EFI main relay. 
    2. OK: Go To Next Step 
  9. Check for open and short in wire harness between terminal MREL of ECM and body ground (see  HOW TO USE THE DIAGNOSTIC CHART AND INSPECTION PROCEDURE  ). 
    1. NG: Repair or replace harness and connector. 
    2. OK: Check and repair harness and connector between EFI1 fuse and battery.