LEMON Manuals: Even more car manuals for everyone: 1960-2025
Home >> Toyota >> 2005 >> Sienna LE, AWD >> Repair and Diagnosis >> Engine Performance >> Engine Control System (SFI) - Diagnostics >> Fuel Pump Control Circuit >> Inspection Procedure
April 5, 2026: LEMON Manuals is launched! Read the announcement.

Inspection Procedure

Hand-held tester: 

  1. PERFORM ACTIVE TEST BY HAND-HELD TESTER (OPERATE CIRCUIT OPENING RELAY) 
    1. Connect the hand-held tester to the DLC3.
    2. Turn the ignition switch ON and push the hand-held tester main switch ON.
    3. Select the item "DIAGNOSIS/ENHANCED OBD II/ACTIVE TEST/FUEL PUMP / SPD".
    4. Check the relay operation while operating it with the hand-held tester.

      Standard: Operating noise can be heard from the relay. 

    1. OK: Go to step   5 
    2. NG: GO TO NEXT STEP. 
  2. INSPECT CIRCUIT OPENING RELAY 
    1. Remove the circuit opening relay from the engine room J/B.
    2. Inspect the circuit opening relay.

      Standard: 

      SPECIFIED CONDITION

      Terminal No. Specified condition
      1 - 2 Continuity
      3 - 5 No Continuity
      Continuity
      (Apply battery voltage terminals 1 and 2)
    3. Reinstall the circuit opening relay.
    Fig 1: Inspecting Circuit Opening Relay
    G02629073Courtesy of © TOYOTA, LICENSE AGREEMENT TMS1002
    1. NG: REPLACE CIRCUIT OPENING RELAY 
    2. OK: GO TO NEXT STEP. 
  3. INSPECT ECM (FC VOLTAGE) 
    1. Turn the ignition switch ON.
    2. Measure the voltage between the terminals of the E4 and E6 ECM connectors.

    Standard: 

    SPECIFIED CONDITION

    Symbols (Terminal No.) Specified condition
    FC (E4-10) - E1 (E6-1) 9 to 14 V
    Fig 2: Measuring Voltage Between Terminals Of E4 & E6 ECM Connectors
    G02629074Courtesy of © TOYOTA, LICENSE AGREEMENT TMS1002
    1. OK: CHECK AND REPLACE ECM (See  ELECTRONIC CIRCUIT INSPECTION PROCEDURE  ) 
    2. NG: GO TO NEXT STEP. 
  4. CHECK HARNESS AND CONNECTOR (ECM - CIRCUIT OPENING RELAY, CIRCUIT OPENING RELAY - IGNITION SWITCH) 
    1. Check the harness and the connector between the fuel pump connector and the circuit opening relay.
      1. Disconnect the E4 ECM connector.
      2. Remove the circuit opening relay from the engine room J/B.
      3. Check for continuity between the wire harness side connectors.

        Standard (Check for open): 

        Fig 3: Disconnecting E4 ECM Connector
        G02629075Courtesy of © TOYOTA, LICENSE AGREEMENT TMS1002
        SPECIFIED CONDITION

        Symbols (Terminal No.) Specified condition
        FC (E4-10) - Circuit opening relay (2) Continuity

        Standard (Check for short): 

        SPECIFIED CONDITION

        Symbols (Terminal No.) Specified condition
        FC (E4-10) or Circuit opening relay (2) - Body ground No continuity
      4. Reconnect the ECM connector.
      5. Reinstall the circuit opening relay.
    2. Check the harness and the connector between the circuit opening relay and the ignition switch.
      1. Remove the circuit opening relay from the engine room J/B.
        Fig 4: Removing Circuit Opening Relay From Engine Room J/B
        G02629076Courtesy of © TOYOTA, LICENSE AGREEMENT TMS1002
      2. Disconnect the ignition switch connector.
      3. Check for continuity between the wire harness side connectors.

        Standard (Check for open): 

        SPECIFIED CONDITION

        Symbols (Terminal No.) Specified condition
        Circuit opening relay (1) - Ignition switch (6) Continuity

        Standard (Check for short): 

        SPECIFIED CONDITION

        Symbols (Terminal No.) Specified condition
        Circuit opening relay (1) or Ignition switch (6) - Body ground No continuity
        Fig 5: Disconnecting Ignition Switch Connector
        G02629077Courtesy of © TOYOTA, LICENSE AGREEMENT TMS1002
      4. Reinstall the circuit opening relay.
      5. Reconnect the ignition switch connector.
    1. NG: REPAIR OR REPLACE HARNESS OR CONNECTOR 
    2. OK: CHECK AND REPLACE ECM (See  ELECTRONIC CIRCUIT INSPECTION PROCEDURE  ) 
  5. INSPECT FUEL PUMP 
    1. Inspect fuel pump resistance.
      1. Measure the resistance between terminals 4 and 5.

      Resistance: 0.2 to 3.0 Ω at 20°C (68°F) 

    2. Inspect fuel pump operation
      1. Apply battery voltage to both the terminals. Check that the pump operates.
    Fig 6: Inspecting Fuel Pump
    G02629078Courtesy of © TOYOTA, LICENSE AGREEMENT TMS1002
    NOTE:
    • These tests must be done quickly (within 10 seconds) to prevent the coil from burning out.
    • Keep fuel pump as far away from the battery as possible.
    • Always do the switching at the battery side.
    1. NG: REPLACE FUEL PUMP (See  FUEL SUCTION TUBE ASSY W/ PUMP & GAUGE  ) 
    2. OK: GO TO NEXT STEP. 
  6. CHECK HARNESS AND CONNECTOR (CIRCUIT OPENING RELAY - FUEL PUMP, FUEL PUMP - BODY GROUND) 
    1. Check the harness and the connector between the circuit opening relay and the fuel pump connector.
      1. Remove the circuit opening relay from the engine room J/B.
      2. Disconnect the fuel pump connector.
      3. Check for continuity between the wire harness side connectors.

        Standard (Check for open): 

        Fig 7: Removing Circuit Opening Relay From Engine Room J/B
        G02629079Courtesy of © TOYOTA, LICENSE AGREEMENT TMS1002
        SPECIFIED CONDITION

        Symbols (Terminal No.) Specified condition
        Circuit opening relay (3) - Fuel pump (4) Continuity

        Standard (Check for short): 

        SPECIFIED CONDITION

        Symbols (Terminal No.) Specified condition
        Circuit opening relay (3) or Fuel pump (4) - Body ground No continuity
      4. Reinstall the circuit opening relay.
      5. Reconnect the fuel pump connector.
    2. Check the harness and the connector between the fuel pump connector and the body ground.
      1. Disconnect the fuel pump connector.
      2. Check for continuity between the wire harness side connectors and the body ground.
        Fig 8: Disconnecting Fuel Pump Connector
        G02629080Courtesy of © TOYOTA, LICENSE AGREEMENT TMS1002

        Standard (Check for open): 

        SPECIFIED CONDITION

        Symbols (Terminal No.) Specified condition
        Fuel pump (5) - Body ground Continuity
      3. Reconnect the fuel pump connector.
    1. OK: REPAIR OR REPLACE HARNESS OR CONNECTOR 
    2. NG: REPLACE ECM (See  ELECTRONIC CIRCUIT INSPECTION PROCEDURE  ) 

OBD II scan tool (excluding hand-held tester): 

  1. CHECK FUEL PUMP OPERATION (See  ON-VEHICLE INSPECTION  ) 
    1. Check if there is pressure in the fuel inlet hose.

    HINT:

    If there is fuel pressure, you will hear the sound of fuel flowing.

    1. OK: PROCEED TO NEXT CIRCUIT INSPECTION SHOWN ON  PROBLEM SYMPTOMS TABLE  
    2. NG: GO TO NEXT STEP. 
  2. CHECK RELAY OPERATION (CIRCUIT OPENING RELAY) 
    1. When connecting between the terminal FC of the ECM connector and the body ground, check the relay operation.

      Standard: 

      Operating noise can be heard from the circuit opening relay. 

    Fig 9: Checking Relay Operation (Circuit Opening Relay)
    G02629081Courtesy of © TOYOTA, LICENSE AGREEMENT TMS1002
    1. OK: Go to step   6 
    2. NG: GO TO NEXT STEP. 
  3. INSPECT CIRCUIT OPENING RELAY 
    1. Remove the circuit opening relay from the engine room J/B.
    2. Inspect the circuit opening relay.

      Standard: 

      SPECIFIED CONDITION

      Terminal No. Specified condition
      1 - 2 Continuity
      3 - 5 No Continuity
      Continuity
      (Apply battery voltage terminals 1 and 2)
    3. Reinstall the circuit opening relay.
    Fig 10: Inspecting Circuit Opening Relay
    G02629082Courtesy of © TOYOTA, LICENSE AGREEMENT TMS1002
    1. NG: REPLACE CIRCUIT OPENING RELAY 
    2. OK: GO TO NEXT STEP. 
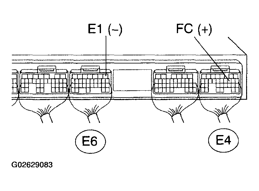
  4. INSPECT ECM (FC VOLTAGE) 
    1. Turn the ignition switch ON.
    2. Measure the voltage between the terminals of the E4 and E6 ECM connectors.

    Standard: 

    SPECIFIED CONDITION

    Symbols (Terminal No.) Specified condition
    FC (E4-10) - E1 (E6-1) 9 to 14 V
    Fig 11: Measuring Voltage Between Terminals Of E4 & E6 ECM Connectors
    G02629083Courtesy of © TOYOTA, LICENSE AGREEMENT TMS1002
    1. OK: CHECK AND REPLACE ECM (See  ELECTRONIC CIRCUIT INSPECTION PROCEDURE  ) 
    2. NG: GO TO NEXT STEP. 
  5. CHECK HARNESS AND CONNECTOR (ECM - CIRCUIT OPENING RELAY, CIRCUIT OPENING RELAY - IGNITION SWITCH) 
    1. Check the harness and the connector between the fuel pump connector and the circuit opening relay.
      1. Disconnect the E4 ECM connector.
      2. Remove the circuit opening relay from the engine room J/B.
      3. Check for continuity between the wire harness side connectors.

        Standard (Check for open): 

        Fig 12: Disconnecting E4 ECM Connector
        G02629084Courtesy of © TOYOTA, LICENSE AGREEMENT TMS1002
        SPECIFIED CONDITION

        Symbols (Terminal No.) Specified condition
        FC (E4-10) - Circuit opening relay (2) Continuity

        Standard (Check for short): 

        SPECIFIED CONDITION

        Symbols (Terminal No.) Specified condition
        FC (E4-10) or Circuit opening relay (2) - Body ground No continuity
      4. Reconnect the ECM connector.
      5. Reinstall the circuit opening relay.
    2. Check the harness and the connector between the circuit opening relay and the ignition switch.
      1. Remove the circuit opening relay from the engine room J/B.
        Fig 13: Removing Circuit Opening Relay From Engine Room J/B
        G02629085Courtesy of © TOYOTA, LICENSE AGREEMENT TMS1002
      2. Disconnect the ignition switch connector.
      3. Check for continuity between the wire harness side connectors.

        Standard (Check for open): 

        SPECIFIED CONDITION

        Symbols (Terminal No.) Specified condition
        Circuit opening relay (1) - Ignition switch (6) Continuity

        Standard (Check for short): 

        SPECIFIED CONDITION

        Symbols (Terminal No.) Specified condition
        Circuit opening relay (1) or Ignition switch (6) - Body ground No continuity
        Fig 14: Disconnecting Ignition Switch Connector
        G02629086Courtesy of © TOYOTA, LICENSE AGREEMENT TMS1002
      4. Reinstall the circuit opening relay.
      5. Reconnect the ignition switch connector.
    1. NG: REPAIR OR REPLACE HARNESS OR CONNECTOR 
    2. OK: CHECK AND REPLACE ECM (See  ELECTRONIC CIRCUIT INSPECTION PROCEDURE  ) 
  6. INSPECT FUEL PUMP 
    1. Inspect fuel pump resistance.
      1. Measure the resistance between terminals 4 and 5.

      Resistance: 0.2 to 3.0 Ω at 20°C (68°F) 

    2. Inspect fuel pump operation
      1. Apply battery voltage to both the terminals. Check that the pump operates.
    Fig 15: Inspecting Fuel Pump
    G02629087Courtesy of © TOYOTA, LICENSE AGREEMENT TMS1002
    NOTE:
    • These tests must be done quickly (within 10 seconds) to prevent the coil from burning out.
    • Keep fuel pump as far away from the battery as possible.
    • Always do the switching at the battery side.
    1. NG: REPLACE FUEL PUMP (See  FUEL SUCTION TUBE ASSY W/ PUMP & GAUGE  ) 
    2. OK: GO TO NEXT STEP 
  7. CHECK HARNESS AND CONNECTOR (CIRCUIT OPENING RELAY - FUEL PUMP, FUEL PUMP - BODY GROUND) 
    1. Check the harness and the connector between the circuit opening relay and the fuel pump connector.
      1. Remove the circuit opening relay from the engine room J/B.
      2. Disconnect the fuel pump connector.
      3. Check for continuity between the wire harness side connectors.

        Standard (Check for open): 

        Fig 16: Removing Circuit Opening Relay From Engine Room J/B
        G02629088Courtesy of © TOYOTA, LICENSE AGREEMENT TMS1002
        SPECIFIED CONDITION

        Symbols (Terminal No.) Specified condition
        Circuit opening relay (3) - Fuel pump (4) Continuity

        Standard (Check for short): 

        SPECIFIED CONDITION

        Symbols (Terminal No.) Specified condition
        Circuit opening relay (3) or Fuel pump (4) - Body ground No continuity
      4. Reinstall the circuit opening relay.
      5. Reconnect the fuel pump connector.
    2. Check the harness and the connector between the fuel pump connector and the body ground.
      1. Disconnect the fuel pump connector.
      2. Check for continuity between the wire harness side connectors and the body ground.
        Fig 17: Disconnecting Fuel Pump Connector
        G02629089Courtesy of © TOYOTA, LICENSE AGREEMENT TMS1002

        Standard (Check for open): 

        SPECIFIED CONDITION

        Symbols (Terminal No.) Specified condition
        Fuel pump (5) - Body ground Continuity
      3. Reconnect the fuel pump connector.
    1. NG: REPAIR OR REPLACE HARNESS OR CONNECTOR 
    2. OK: CHECK AND REPLACE ECM (See  ELECTRONIC CIRCUIT INSPECTION PROCEDURE  )