LEMON Manuals: Even more car manuals for everyone: 1960-2025
Home >> Toyota >> 2005 >> Tacoma Base, 4D Pickup, Standard >> Repair and Diagnosis >> Body & Frame >> Windows >> Windshield System, WINDOWGLASS System & Mirror System >> Windshield Glass >> Replacement
April 5, 2026: LEMON Manuals is launched! Read the announcement.

Windshield Glass: Replacement

  1. DISCONNECT CABLE FROM NEGATIVE BATTERY TERMINAL 
  2. REMOVE FRONT WIPER ARM HEAD CAP  (See REPLACEMENT
  3. REMOVE FR WIPER ARM LH  (See REPLACEMENT
  4. REMOVE FR WIPER ARM RH  (See REPLACEMENT
  5. REMOVE FRONT FENDER TO COWL SIDE SEAL LH  (See REPLACEMENT
  6. REMOVE FRONT FENDER TO COWL SIDE SEAL RH 

    HINT:

    Follow the same procedures as for the fender to cowl side seal LH.

  7. REMOVE COWL TOP VENTILATOR LOUVER SUB-ASSY  (See REPLACEMENT
  8. REMOVE INNER REAR VIEW MIRROR ASSY  (See REPLACEMENT 
  9. REMOVE FRONT DOOR OPENING TRIM WEATHERSTRIP LH 
    1. Separate the front door opening trim weatherstrip to the extent which allows the removal of the front pillar garnish.
  10. REMOVE FRONT DOOR OPENING TRIM WEATHERSTRIP RH 

    HINT:

    Follow the same procedures as for the front door opening trim weatherstrip LH.

  11. REMOVE FRONT PILLAR GARNISH LH 

    HINT:

  12. REMOVE FRONT PILLAR GARNISH RH 

    HINT:

    Follow the same procedures as for the front pillar garnish LH.

  13. REMOVE ROOF CONSOLE BOX ASSY (EXCEPT REGULAR CAB) 

    HINT:

  14. REMOVE ASSIST GRIP PLUG (W/CURTAIN SHIELD AIR BAG)  (See REPLACEMENT
  15. REMOVE ASSIST GRIP SUB-ASSY (DOUBLE CAB)  (See REPLACEMENT
  16. REMOVE LH VISOR ASSY 

    HINT:

  17. REMOVE RH VISOR ASSY 

    HINT:

    Follow the same procedures as for the LH visor.

  18. REMOVE VISOR HOLDER 

    HINT:

  19. REMOVE WINDSHIELD MOULDING OUTER UPPER 
    1. Using a knife, cut off the windshield moulding outer upper, as shown in the illustration.
      NOTE: Be careful not to damage the vehicle body with the knife.
    2. Remove the windshield moulding outer upper.

      HINT:

      Make a partial cut in the windshield moulding outer upper. Then pull and remove it by hand.

      Fig 1: Cutting Off Windshield Moulding Outer Upper Using Knife
      G03089132Courtesy of © TOYOTA, LICENSE AGREEMENT TMS1002
  20. REMOVE WINDSHIELD GLASS 
    1. Apply protective tape to the outer circumference of the windshield glass, as shown in the illustration.
    2. From the interior, insert piano wires between the vehicle body and windshield glass, as shown in the illustration.
    3. Tie objects that can serve as handles (for example, wooden blocks) to all wire ends.
      NOTE:
      • When separating the windshield glass from the vehicle, be careful not to damage the vehicle's paint or exterior/interior ornaments.
      • To prevent the safety pad from being scratched when removing the windshield glass, place a plastic sheet between the piano wire and safety pad.
    4. Cut through the adhesive by pulling the piano wire around the windshield glass.
      Fig 2: Applying Protective Tape To Outer Circumference Of Windshield Glass
      G03089133Courtesy of © TOYOTA, LICENSE AGREEMENT TMS1002
    5. Disengage the 2 stoppers.
    6. Using suction cups, remove the windshield glass.
      NOTE: Leave as much adhesive on the vehicle body as possible when removing the windshield glass.
      Fig 3: Removing Windshield Glass Using Suction Cups
      G03089134Courtesy of © TOYOTA, LICENSE AGREEMENT TMS1002
  21. CLEAN WINDSHIELD GLASS 
    1. Using a scraper, remove the damaged stoppers, dam and adhesive stuck to the windshield glass.
    2. Clean the outer circumference of the windshield glass with white gasoline.
    NOTE:
    • Do not touch the windshield glass surface after cleaning it.
    • Even if using a new windshield glass, clean the windshield glass with white gasoline.
      Fig 4: Removing Damaged Stoppers, Dam And Adhesive Stuck To Windshield Glass Using Scraper
      G03089135Courtesy of © TOYOTA, LICENSE AGREEMENT TMS1002
  22. CLEAN VEHICLE BODY 
    1. Clean and shape the contact surface of the vehicle body.
      1. Using a knife, cut away any rough adhesive on the contact surface of the vehicle body to ensure the appropriate surface shape.
        NOTE: Be careful not to damage the vehicle body.

        HINT:

        Leave as much adhesive on the vehicle body as possible.

        Fig 5: Cutting Away Any Rough Adhesive On Contact Surface Of Vehicle
        G03089136Courtesy of © TOYOTA, LICENSE AGREEMENT TMS1002
      2. Clean the contact surface of the vehicle body with a shop rag saturated with cleaner.

        HINT:

        Even if all the adhesive has been removed, clean the vehicle body.

  23. INSTALL WINDSHIELD GLASS STOPPER NO. 2 
    1. Apply Primer G to the installation part of the stoppers.
      NOTE:
      • Allow the primer to dry for 3 minutes or more.
      • Throw away any leftover Primer G.
      • Do not apply too much Primer G.
    2. Install 2 new stoppers onto the windshield glass, as shown in the illustration.

      Specification: 

      AREA MEASUREMENT SPECIFICATION

      Area Measurement
      A 40 mm (1.575 in.)
      B 9.4 mm (0.37 in.)
      C 12.5 mm (0.482 in.)
      Fig 6: Installing Stoppers Onto Windshield Glass
      G03089137Courtesy of © TOYOTA, LICENSE AGREEMENT TMS1002
  24. INSTALL WINDSHIELD GLASS STOPPER NO. 1 
    1. Install 2 new stoppers onto the vehicle body, as shown in the illustration.
      Fig 7: Installing Stoppers Onto Vehicle Body
      G03089138Courtesy of © TOYOTA, LICENSE AGREEMENT TMS1002
  25. INSTALL WINDSHIELD GLASS ADHESIVE DAM 
    1. Apply Primer G to the illustration part of the dam.
      NOTE:
      • Allow the primer to dry for 3 minutes or more.
      • Throw away any leftover Primer G.
      • Do not apply too much Primer G.
    2. Install 3 new dams. Install the 3 new dams by applying double-sided tape all the way around the windshield glass except where the stoppers are installed, as shown in the illustration.
      Fig 8: Installing Dams By Applying Double-Sided Tape Around Windshield Glass
      G03089139Courtesy of © TOYOTA, LICENSE AGREEMENT TMS1002

      Specification: 

      AREA MEASUREMENT SPECIFICATION

      Area Measurement
      a 7.0 mm (0.276 in.)
      b 30.9 mm (1.217 in.)
  26. INSTALL WINDSHIELD GLASS 
    1. Position the windshield glass.
      1. Using suction cups, place the windshield glass in the correct position.
      2. Check that the whole contact surface of the windshield glass rim is perfectly even.
      3. Place matchmarks over the windshield glass and vehicle body.
        NOTE: Check that the stoppers are attached to the vehicle body correctly.

        HINT:

        When reusing the windshield glass, check and correct the matchmark positions.

        Fig 9: Placing Windshield Glass In Correct Position Using Suction Cups
        G03089140Courtesy of © TOYOTA, LICENSE AGREEMENT TMS1002
      4. Using suction cups, remove the windshield glass.
    2. Using a brush, apply Primer M to the exposed part of the vehicle body.
      NOTE:
      • Allow the primer to dry for 3 minutes or more.
      • Do not apply Primer M to the adhesive.
      • Throw away any leftover Primer M.
      • Do not apply too much Primer M.
        Fig 10: Applying Primer M To Exposed Part Of Vehicle Body Using Brush
        G03089141Courtesy of © TOYOTA, LICENSE AGREEMENT TMS1002
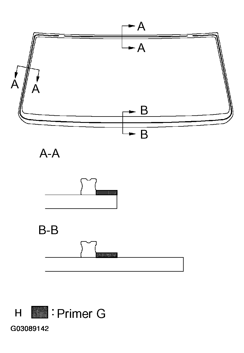
    3. Using a brush or sponge, apply Primer G to the edge of the windshield glass and contact surface.
      NOTE:
      • Allow the primer to dry for 3 minutes or more.
      • Throw away any leftover Primer G.
      • Do not apply too much Primer G.

        HINT:

        If Primer G is applied to any areas other than that which is specified, wipe off the primer with a clean shop rag before it dries.

        Fig 11: Applying Primer G To Edge Of Windshield Glass And Contact Surface
        G03089142Courtesy of © TOYOTA, LICENSE AGREEMENT TMS1002
    4. Apply adhesive.

      Adhesive: Part No. 08850-00801 or equivalent 

      1. Cut off the tip of the cartridge nozzle, as shown in the illustration.

        HINT:

        After cutting off the tip, use all adhesive within the times indicated in the table bellow.

        Usage time frame: 

        TEMPERATURE SPECIFICATION

        Temperature Usage Time Frame
        35°C (95°F) 15 minutes
        20°C (68°F) 1 hour 40 minutes
        5°C(41°F) 8 hours
      2. Load the sealer gun with the cartridge.
      3. Apply adhesive to the windshield glass as shown in the illustration.

        Specification: 

        TEMPERATURE SPECIFICATION

        Area Measurement
        a 8 mm (0.315 in.)
        b 12 mm (0.472 in.)
        c 3 mm (0.118 in.)
        d 26.9 mm (1.059 in.)
        Fig 12: Applying Adhesive
        G03089143Courtesy of © TOYOTA, LICENSE AGREEMENT TMS1002
    5. Install the windshield glass onto the vehicle body.
      1. Using suction cups, position the windshield glass so that the matchmarks are aligned. Press it in gently along the rim
        NOTE:
        • Allow the primer to dry for 3 minutes or more.
        • Check that the stoppers are attached to the vehicle body correctly.
        • Check that the vehicle body and windshield glass have a small gap between them.
          Fig 13: Aligning Matchmark
          G03089144Courtesy of © TOYOTA, LICENSE AGREEMENT TMS1002
      2. Lightly press the front surface of the windshield glass to ensure that the windshield glass is securely fitted to the vehicle body.
      3. Using a scraper, remove any excessive or protruding adhesive.

        HINT:

        Apply adhesive to the windshield glass rim.

        Fig 14: Removing Excessive Or Protruding Adhesive Using Scraper
        G03089145Courtesy of © TOYOTA, LICENSE AGREEMENT TMS1002
  27. INSTALL WINDSHIELD MOULDING OUTER UPPER 
    1. Using a brush or sponge, apply Primer G to the edge of the windshield glass and contact surface.
      NOTE:
      • Allow the primer to dry for 3 minutes or more.
      • Throw away any leftover Primer G.
      • Do not apply too mush Primer G.
    2. Install the windshield moulding outer upper before the adhesive dries.
      NOTE: Do not drive vehicle for the amount of time indicated in the table below.

      Minimum time: 

      AREA MEASUREMENT SPECIFICATION

      Temperature Minimum time prior to driving vehicle
      35°C (95°F) 1 hour 30 minutes
      20°C (68°F) 5 hours
      5°C (41°F) 24 hours
      Fig 15: Applying Primer G To Edge Of Windshield Glass And Contact Surface
      G03089146Courtesy of © TOYOTA, LICENSE AGREEMENT TMS1002
  28. INSTALL COWL TOP VENTILATOR LOUVER SUB-ASSY  (See REPLACEMENT
  29. INSTALL FRONT FENDER TO COWL SIDE SEAL LH  (See REPLACEMENT
  30. INSTALL FRONT FENDER TO COWL SIDE SEAL RH 

    HINT:

    Follow the same procedures as for the fender to cowl side seal LH.

  31. INSTALL FR WIPER ARM LH  (See REPLACEMENT
  32. INSTALL FR WIPER ARM RH  (See REPLACEMENT
  33. INSTALL FRONT WIPER ARM HEAD CAP  (See REPLACEMENT
  34. CHECK FOR LEAKAGE AND REPAIR 
    1. Conduct a leak test after the adhesive has completely hardened.
    2. Seal any leakage with auto glass sealer.
  35. INSTALL VISOR HOLDER 

    HINT:

  36. INSTALL LH VISOR ASSY 

    HINT:

  37. INSTALL RH VISOR ASSY 

    HINT:

    Follow the same procedures as for the LH visor.

  38. INSTALL ASSIST GRIP PLUG (W/CURTAIN SHIELD AIR BAG)  (See REPLACEMENT
  39. INSTALL ASSIST GRIP SUB-ASSY (DOUBLE CAB)  (See REPLACEMENT
  40. INSTALL ROOF CONSOLE BOX ASSY (EXCEPT REGULAR CAB) 

    HINT:

  41. INSTALL FRONT PILLAR GARNISH LH 

    HINT:

  42. INSTALL FRONT PILLAR GARNISH RH 

    HINT:

    Follow the same procedures as for the front pillar garnish LH.

  43. INSTALL FRONT DOOR OPENING TRIM WEATHERSTRIP LH 
    1. Install the front door opening trim weatherstrip.
  44. INSTALL FRONT DOOR OPENING TRIM WEATHERSTRIP RH 

    HINT:

    Follow the same procedures as for the front opening trim weatherstrip LH.

  45. INSTALL INNER REAR VIEW MIRROR ASSY  (See REPLACEMENT
  46. CONNECT CABLE TO NEGATIVE BATTERY TERMINAL  (See PRECAUTION

    Torque: 3.9 N.m (40 kgf.cm, 35 in.lbf)