LEMON Manuals: Even more car manuals for everyone: 1960-2025
Home >> Toyota >> 2005 >> Tacoma X-Runner >> Repair and Diagnosis >> Body & Frame >> Windows >> Power Window Control System (Diagnostics) >> Remote Up/Down Function Does Not Operate >> Wiring Diagram
April 5, 2026: LEMON Manuals is launched! Read the announcement.

Remote Up/Down Function Does Not Operate: Wiring Diagram

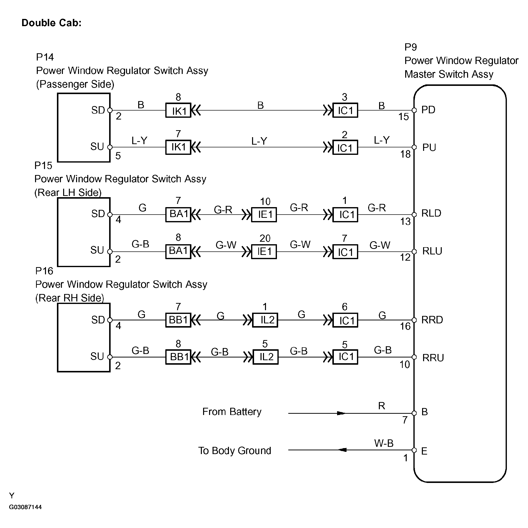
Fig 1: Power Window Regulator Motor Diagram - Double Cab
G03087144Courtesy of © TOYOTA, LICENSE AGREEMENT TMS1002
Fig 2: Power Window Regulator Motor Diagram - Acess Cab
G03087145Courtesy of © TOYOTA, LICENSE AGREEMENT TMS1002