LEMON Manuals: Even more car manuals for everyone: 1960-2025
Home >> Toyota >> 2005 >> Tacoma X-Runner >> Repair and Diagnosis >> General Information >> Identification >> Introduction >> Repair Instruction >> Precaution
April 5, 2026: LEMON Manuals is launched! Read the announcement.

Repair Instruction: Precaution

  1. BASIC REPAIR HINT 
    1. HINTS ON OPERATIONS
      Fig 1: Identifying Safety Precaution
      G03084060Courtesy of © TOYOTA, LICENSE AGREEMENT TMS1002
      Fig 2: Vehicle Protection Chart
      G03084061Courtesy of © TOYOTA, LICENSE AGREEMENT TMS1002
    2. JACKING UP AND SUPPORTING VEHICLE
      1. Care must be taken when jacking up and supporting the vehicle. Be sure to lift and support the vehicle at the proper locations (See VEHICLE LIFT AND SUPPORT LOCATIONS ).
    3. PRECOATED PARTS
      1. Precoated parts are bolts and nuts. They are coated with a seal lock adhesive at the factory.
      2. If a precoated part is retightened, loosened or moved in anyway, it must be recoated with the specified adhesive.
      3. When reusing precoated parts, clean off the old adhesive and dry the part with compressed air. Then apply new seal lock adhesive appropriate to the bolts and nut.
        Fig 3: Identifying Seal Lock Adhesive
        G03084062Courtesy of © TOYOTA, LICENSE AGREEMENT TMS1002
        NOTE: Perform the torque with the lower limit value of the torque tolerance.
      4. Some seal lock agents harden slowly. You may have to wait for the seal lock agent to harden.
    4. GASKETS
      1. When necessary, use a sealer on gaskets to prevent leaks.
    5. BOLTS, NUTS AND SCREWS
      1. Carefully follow all the specifications for tightening torques. Always use a torque wrench.
    6. FUSES
      1. When replacing fuses, be sure that the new fuse has the correct amperage rating. DO NOT exceed the rating or use one with a lower rating.
      Fig 4: Identifying Fuse
      G03084063Courtesy of © TOYOTA, LICENSE AGREEMENT TMS1002
      Fig 5: Identifying Fuse Symbol Chart
      G03084064Courtesy of © TOYOTA, LICENSE AGREEMENT TMS1002
    7. clips
      1. The removal and installation methods of typical clips used in body parts are shown in the table below.

      HINT:

      If clips are damaged during a procedure, always replace the damaged clip with a new clip.

      Fig 6: Removing Clip
      G03084065Courtesy of © TOYOTA, LICENSE AGREEMENT TMS1002
      Fig 7: Pushing Center Pin
      G03084066Courtesy of © TOYOTA, LICENSE AGREEMENT TMS1002
    8. REMOVAL AND INSTALLATION OF VACUUM HOSES
      1. To disconnect vacuum hoses, pull and twist from the end of the hose. Do not pull from the middle of the hose as this may cause damage.
        Fig 8: Caution For Vacuum Hose
        G03084067Courtesy of © TOYOTA, LICENSE AGREEMENT TMS1002
      2. When disconnecting vacuum hoses, use tags to identify where they should be reconnected.
      3. After completing the job, double check that the vacuum hoses are properly connected. The label under the hood shows the proper layout.
      4. When using a vacuum gauge, never force the hose onto a connector that is too large. Use a step-down adapter for adjustment. Once the hose has been stretched, it may leak air.
        Fig 9: Disconnecting Vacuum Hoses
        G03084068Courtesy of © TOYOTA, LICENSE AGREEMENT TMS1002
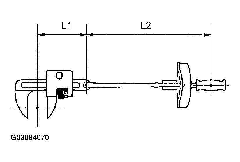
    9. TORQUE WHEN USING TORQUE WRENCH WITH EXTENSION TOOL
      1. If SST or an extension tool is combined with the torque wrench to extend its length, do not tighten the torque wrench to the specified torque values in this information. The resulting torque will be excessive.
      2. Use the formula below to calculate special torque values for situations where SST or an extension tool is combined with the torque wrench.
      3. Formula: T' = Tx L2/(L1 + L2)
        Fig 10: Identifying Torque Wrench Length (1st Example)
        G03084069Courtesy of © TOYOTA, LICENSE AGREEMENT TMS1002
        Fig 11: Identifying Torque Wrench Length (2nd Example)
        G03084070Courtesy of © TOYOTA, LICENSE AGREEMENT TMS1002
      TORQUE WRENCH FORMULA

      T' Reading of torque wrench {N.m (kgf.cm, ft.lbf)}
      T Torque {N.m (kgf.cm, ft.lbf)}
      L1 Length of SST or extension tool {cm (in.)}
      L2 Length of torque wrench {cm (in.)}
  2. FOR VEHICLES EQUIPPED WITH SRS AIRBAG AND SEAT BELT PRETENSIONER 

    HINT:

    The TACOMA is equipped with a Supplemental Restraint System (SRS) and seat belt pretensioner.

    Failure to carry out the service operations in the correct sequence could cause the SRS to unexpectedly deploy during servicing and lead to serious injury.

    Furthermore, if a mistake is made when servicing the SRS, it is possible that the SRS may fail to operate properly. Before servicing (including removal or installation of parts, inspection or replacement), be sure to read the following information carefully.

    1. GENERAL NOTICE
      1. Malfunction symptoms of the SRS are difficult to confirm so the Diagnostic Trouble Codes (DTCs) become the most important source of information when troubleshooting. When troubleshooting the SRS, always check the DTCs before disconnecting the battery (see DTC CHECK/CLEAR ).
      2. Work must be started at least 90 seconds after the ignition switch is turned to the LOCK position and the negative (-) terminal cable is disconnected from the battery.

        (The SRS is equipped with a back-up power source. So, if work is started within 90 seconds after disconnecting the negative (-) terminal cable from the battery, the SRS may deploy). When the negative (-) terminal cable is disconnected from the battery, clock and audio system memory is erased. Before starting work, make a record of the settings of each memory system. When work is finished, reset the clock and audio systems as before. Never use a back-up power source (battery or other) to avoid erasing system memory. The back-up power source may power the SRS and cause it to deploy.

        CAUTION: Never use a back-up power source (battery or other) in an attempt to avoid erasing system memory. The back-up power source may inadvertently power the SRS and cause it to deploy.
      3. IN minor collisions where the SRS does not deploy, the horn button assembly, instrument panel passenger airbag assembly, front seat airbag assembly, curtain shield airbag assembly and seat belt pretensioner should be inspected before further use of the vehicle (See DISPOSAL , DISPOSAL , DISPOSAL , DISPOSAL , DISPOSAL , DISPOSAL and DISPOSAL ).
      4. Never use SRS parts from another vehicle. When replacing parts, use new parts.
      5. Before repairs, remove the airbag sensor if impacts are likely to be applied to the sensor during repairs.
      6. Never disassemble and repair the airbag sensor assembly, horn button assembly, instrument panel passenger airbag assembly, front seat airbag assembly, curtain shield airbag assembly or seat belt pretensioner.
      7. Replace the center airbag sensor assembly, side airbag sensor assembly, horn button assembly or the instrument panel passenger airbag assembly, front seat airbag assembly or curtain shield airbag assembly if: 1) damage has occurred from being dropped, or 2) cracks, dents or other defects in the case, bracket or connector are present.
      8. Do not directly expose the airbag sensor assembly, the horn button assembly, the instrument panel passenger airbag assembly, front seat airbag assembly, the curtain shield airbag assembly or the seat belt pretensioner to hot air or flames.
      9. Use a voltmeter/ohmmeter with high impedance (10 k/V minimum) for troubleshooting electrical circuits.
      10. Information labels are attached to the SRS components. Follow the instructions on the labels.
      11. After work on the SRS is completed, check the SRS warning lamp (see DIAGNOSIS SYSTEM ).
    2. SPIRAL CABLE (in Combination Switch)
      1. The steering wheel must be fitted correctly to the steering column with the spiral cable at the neutral position, otherwise cable disconnection and other problems may occur. Refer to REPLACEMENT for information about correct installation of the steering wheel.
        Fig 12: Identifying Mark Of Steering Column
        G03084071Courtesy of © TOYOTA, LICENSE AGREEMENT TMS1002
    3. HORN BUTTON ASSEMBLY (with Airbag)
      1. When removing the horn button assembly or handling a new horn button, it should be placed with the pad surface facing up. See illustration below.

        Placing the horn button with the pad surface facing down may lead to a serious accident if the airbag accidently inflates. Also, do not place anything on top of the horn button.

      2. Never measure the resistance of the airbag squib. This may cause the airbag to inflate, which could cause serious injury.
      3. Grease or detergents of any kind should not be applied to the steering wheel pad.
      4. Store the horn button assembly in an area where the ambient temperature is below 93°C (200°F), the humidity is not high and electrical noise is not nearby.
      5. When using electric welding anywhere on the vehicle, disconnect the airbag ECU connectors (4 pins). These connectors contain shorting springs. This feature reduces the possibility of the airbag or seat belt pretensioner deploying due to currents entering the squib wiring.
      6. When disposing of the vehicle or the horn button assembly by itself, the airbag should be inflated using an SST before disposal (see DISPOSAL ). Activate in a safe place away from electrical noise.
        Fig 13: Caution For Horn Button
        G03084072Courtesy of © TOYOTA, LICENSE AGREEMENT TMS1002
        Fig 14: Caution For Steering Pad
        G03084073Courtesy of © TOYOTA, LICENSE AGREEMENT TMS1002
    4. INSTRUMENT PANEL PASSENGER AIRBAG ASSY
      1. Always place a removed or new instrument panel passenger airbag assembly with the airbag inflation direction facing up.

        Placing the airbag assembly with the airbag inflation direction facing down could cause a serious accident if the airbag inflates.

      2. Never measure the resistance of the airbag squib. This may cause the airbag to inflate, which could cause serious injury.
      3. Grease or detergents of any kinds should not be applied to the instrument panel passenger air-bag assembly.
      4. Store the airbag assembly in an area where the ambient temperature is below 93°C (200°F), the humidity is not high and electrical noise is not nearby.
      5. When using electric welding anywhere on the vehicle, disconnect the airbag ECU connectors (4 pins). These connectors contain shorting springs. This feature reduces the possibility of the airbag deploying due to currents entering the squib wiring.
      6. When disposing of a vehicle or the airbag assembly unit by itself, the airbag should be deployed using SST before disposal (see DISPOSAL ).

      Activate in a safe place away from electrical noise.

      Fig 15: Disposing Of An Airbag Assembly Unit
      G03084074Courtesy of © TOYOTA, LICENSE AGREEMENT TMS1002
    5. FRONT SEAT AIRBAG ASSEMBLY
      1. Always place a removed or new front seat airbag assembly with the airbag inflation direction facing up. Placing the airbag assembly with the airbag inflation direction facing downward could cause a serious accident if the airbag deploys.
      2. Never measure the resistance of the airbag squib. This may cause the airbag to inflate, which is very dangerous.
      3. Grease should not be applied to the front seat airbag assembly, and the airbag door should not be cleaned with detergents of any kind.
      4. Store the airbag assembly in an area where the ambient temperature is below 93°C (200°F), the humidity is not high and electrical noise is not nearby.
      5. When using electric welding anywhere on the vehicle, disconnect the airbag ECU connectors (2 pins). These connectors contain shorting springs. This feature reduces the possibility of the airbag deploying due to currents entering the squib wiring.
      6. When disposing of a vehicle or the airbag assembly unit by itself, the airbag should be deployed using SST before disposal (see DISPOSAL ).

      Activate in a safe place away from electrical noise.

      Fig 16: Caution For Front Passenger Airbag Assembly
      G03084076Courtesy of © TOYOTA, LICENSE AGREEMENT TMS1002
    6. CURTAIN SHIELD AIRBAG ASSEMBLY
      1. Always place the removed or new curtain shield airbag assembly in a clear plastic bag, and keep it in a safe place.
        NOTE: Plastic bag is not re-useable.
        CAUTION: Never disassemble the curtain shield airbag assembly.
      2. Never measure the resistance of the airbag squib. This may cause the airbag to inflate, which is very dangerous.
      3. Grease should not be attached to the curtain shield airbag assembly, and the surface should not be cleared with detergents of any kind.
      4. Store the airbag assembly in an area where the ambient temperature is below 93°C (200°F), the humidity is not high and electrical noise is not nearby.
      5. When using electric welding anywhere on the vehicle, disconnect the airbag ECU connectors (2 pins). These connectors contain shorting springs. This feature reduces the possibility of the airbag deploying due to currents entering the squib wiring.
      6. When disposing of a vehicle or the curtain shield airbag assembly unit by itself, the airbag should be deployed using SST before disposal (see DISPOSAL ).

      Activate in a safe place away from electrical noise.

      Fig 17: Caution For Plastic Bag
      G03084077Courtesy of © TOYOTA, LICENSE AGREEMENT TMS1002
      Fig 18: Measuring Resistance Of Seat Outer Belt
      G03084078Courtesy of © TOYOTA, LICENSE AGREEMENT TMS1002
    7. SEAT BELT PRETENSIONER
      1. Never measure the resistance of the seat belt pretensioner. This may cause the seat belt pretensioner to activate, which is very dangerous.
      2. Never disassemble the seat belt pretensioner.
      3. Never install the seat belt pretensioner on another vehicle.
      4. Store the seat belt pretensioner in an area where the ambient temperature is below 80°C (176°F), the humidity is not high and electrical noise is not nearby.
      5. When using electric welding anywhere on the vehicle, disconnect the airbag ECU connectors (2 pins). These connectors contain shorting springs. This feature reduces the possibility of the airbag deploying due to currents entering the squib wiring.
      6. When disposing of a vehicle or the seat belt pretensioner unit by itself, the seat belt pretensioner should be activated before disposal (see DISPOSAL , DISPOSAL or DISPOSAL ). Activate in a safe place away from electrical noise.
      7. The seat belt pretensioner is hot after being activated, so allow some time for it to cool down sufficiently before disposal. Never apply water to cool down the seat belt pretensioner.
      8. Oil or water should not be put on the front seat outer belt, and the front seat outer belt should not be cleaned with detergents of any kind.
        Fig 19: Measuring Resistance Between Connectors
        G03084079Courtesy of © TOYOTA, LICENSE AGREEMENT TMS1002
    8. AIRBAG SENSOR ASSEMBLY
      1. Never reuse an airbag sensor assembly that has been involved in a collision where the SRS has deployed.
      2. The connectors to the airbag sensor assembly should be connected or disconnected with the sensor mounted on the floor. If the connectors are connected or disconnected while the airbag sensor assembly is not mounted to the floor, it could cause accidental deployment of the SRS.
      3. Work must be started at least 90 seconds after the ignition switch is turned to the LOCK position and the negative (-) terminal cable is disconnected from the battery, even if only loosening the set bolts of the airbag sensor assembly.
    9. WIRE HARNESS AND CONNECTOR
      1. The SRS wire harness is integrated with the instrument panel wire harness assembly. All the connectors in the system are a standard yellow color. If the SRS wire harness becomes disconnected or the connector becomes broken, repair or replace it.
  3. ELECTRONIC CONTROL 
    1. REMOVAL AND INSTALLATION OF BATTERY TERMINAL
      1. Before performing electronic work, disconnect the battery negative (-) terminal cable to prevent component and wire damage caused by accidental short circuits.
      2. When disconnecting and installing the terminal cable, turn the ignition switch and lighting switch OFF and loosen the terminal nut completely. Perform these operations without twisting or prying the terminal. Remove the battery cable from battery post.
        Fig 20: Disconnecting Battery Negative Terminal Cable
        G03084080Courtesy of © TOYOTA, LICENSE AGREEMENT TMS1002
      3. Clock settings, radio settings, DTCs and other data are erased when the battery cable is removed. Before removing the battery cable, record any necessary data.
      4. When disconnecting the battery's negative (-) terminal cable, re-initialize the following systems after the completion of the operation.
      5. Connect the battery negative terminal to the cable and run the engine at no less than 2,000 rpm for 1 minute.
      NOTE: If the engine exceeds 2,000 rpm, the clutch is automatically disengaged by the compressor protection control system.
    2. HANDLING OF ELECTRONIC PARTS
      1. Do not open the cover or case of the ECU unless absolutely necessary. If the IC terminals are touched, the IC may be rendered inoperative by static electricity.
      2. To disconnect electronic connectors, pull the connector itself, not the wires.
      3. Be careful not to drop electronic components, such as sensors or relays. If they are dropped on a hard floor, they should be replaced.
        Fig 21: Caution For Electronic Parts
        G03084081Courtesy of © TOYOTA, LICENSE AGREEMENT TMS1002
      4. When cleaning the engine with steam, protect the electronic components, air filter and emission-related components from water.
      5. Never use an impact wrench to remove or install temperature switches or temperature sensors.
      6. When checking the continuity at the wire connector, insert the tester probe carefully to prevent terminals from bending.
  4. REMOVAL AND INSTALLATION OF FUEL CONTROL PARTS 
    1. PLACE FOR REMOVING AND INSTALLING OF FUEL SYSTEM PARTS
      1. Work in a place with good air ventilation and without any ignition sources, such as a welder, grinder, drill, electric motor or stove.
      2. Never work in a place such as a pit or near a pit because vaporized fuel will collect in those places.
    2. REMOVING AND INSTALLING OF FUEL SYSTEM PARTS
      1. Prepare a fire extinguisher before starting operation.
      2. To prevent static electricity, install a ground on the fuel changer, vehicle and fuel tank, and do not spray the area with water. The work surface will become slippery. Do not clean up spills with water as this will spread gasoline and create a fire hazard.
      3. Never use any electric equipment like an electric motor or a working light, as they may create sparks or high temperatures.
      4. Never use an iron hammer, as it may create sparks.
      5. Dispose of fuel-contaminated cloth separately using a fire resistant container.
  5. REMOVAL AND INSTALLATION OF ENGINE INTAKE PARTS 
    1. If any metal particle enters the inlet pass, this may damage the engine.
    2. When removing and installing the inlet system parts, cover the openings of the removed parts and engine openings. Use clean shop rags, gummed tape, or other suitable materials.
    3. When installing the inlet system parts, check that no metal particles have entered the engine or the installed part.
      Fig 22: Removing & Installing Engine Intake Parts
      G03084082Courtesy of © TOYOTA, LICENSE AGREEMENT TMS1002
  6. HANDLING OF HOSE CLAMPS 
    1. Before removing the hose, check the clamp position so that you can restore it in the same way.
    2. Replace deformed or dented clamps with new ones.
    3. When reusing a hose, attach the clamp on the clamp track portion of the hose.
    4. For a spring type clamp, to spread the tabs slightly after installation by pushing in the direction of the arrow marks as shown in the illustration.
      Fig 23: Removing Hose Clamps
      G03084083Courtesy of © TOYOTA, LICENSE AGREEMENT TMS1002
  7. FOR VEHICLES EQUIPPED WITH MOBILE COMMUNICATION SYSTEMS 
    1. Install the antenna as far away from the ECU and sensors of the vehicle electronic systems as possible.
    2. Install an antenna feeder at least 20 cm (7.87 in.) away from the ECU and sensors of the vehicle electronic systems. For details of the ECU and sensors locations, refer to the information on applicable components.
      Fig 24: Identifying Mobile Communication Systems
      G03084084Courtesy of © TOYOTA, LICENSE AGREEMENT TMS1002
    3. Keep the antenna and feeder separate from other wirings as much as possible. This will prevent signals from the communication equipment from affecting vehicle equipment and vice-versa.
    4. Check that the antenna and feeder are correctly adjusted.
    5. Do not install any high-powered mobile communication system.
  8. FOR VEHICLES EQUIPPED WITH TRACTION CONTROL (TRAC) SYSTEM 

    When testing with a 2-wheel drum tester such as a speedometer tester, a combination tester of the speedometer and brake, a chassis dynamometer, or when jacking up the front wheels and driving the wheels, always turn the TRAC system OFF.

    1. Confirm that the TRAC system is OFF.
      1. Ignition switch to OFF.
      2. Connect SST to terminals TS and CG of DLC3.
      NOTE: Confirm that the VSC/TRAC warning light blinks.
    2. Begin testing.
    3. Disconnect SST from DLC3.
      Fig 25: Identifying DLC3 Connector Terminal
      G03084085Courtesy of © TOYOTA, LICENSE AGREEMENT TMS1002
    4. Check that the VSC/TRAC warning light turns OFF.

    HINT:

    The SLIP indicator light blinks when the TRAC system is operating.

  9. FOR VEHICLES EQUIPPED WITH VEHICLE STABILITY CONTROL (VSC) SYSTEM 
    1. NOTICES WHEN USING DRUM TESTER
      1. Before beginning testing, to disable the VSC, turn the ignition switch OFF and connect SST to terminals TS and CG of the DLC3.

      SST 09843-18040

      Fig 26: Identifying SLIP Indicator Light
      G03084086Courtesy of © TOYOTA, LICENSE AGREEMENT TMS1002
      NOTE:
      • Confirm that the VSC warning lamp blinks.
      • VSC system will be reset when the engine is restarted.
      • For safety, secure the vehicle with restraint chains while using a wheel dynamometer.
    2. NOTICES OF RELATED OPERATIONS TO VSC
      1. Do not carry out unnecessary installation and removal as it might affect the adjustment of VSC related parts.
      2. Be sure to follow the instructions for work preparation and final confirmation of proper operation of the VSC system.
  10. FOR VEHICLES EQUIPPED WITH CATALYTIC CONVERTER 
    CAUTION: If a large amount of unburned gasoline or gasoline vapors flow into the converter, it may cause overheating and create a fire hazard. To prevent this, observe the following precautions.
    1. Use only unleaded gasoline.
    2. Avoid prolonged idling.

      Avoid idling the engine for more than 20 minutes.

    3. Avoid a spark jump test.
      1. Perform a spark jump test only when absolutely necessary. Perform this test as rapidly as possible.
      2. While testing, never race the engine.
    4. Avoid a prolonged engine compression measurement.

      Engine compression measurements must be performed as rapidly as possible.

    5. Do not run the engine when the fuel tank is nearly empty. This may cause the engine to misfire and create an extra load on the converter.