LEMON Manuals: Even more car manuals for everyone: 1960-2025
Home >> Toyota >> 2006 >> Land Cruiser >> Repair and Diagnosis >> Suspension >> Suspension Control Systems >> Suspension Control System >> Height Control Accumulator >> Disposal
April 5, 2026: LEMON Manuals is launched! Read the announcement.

Height Control Accumulator: Disposal

  1. DISPOSE OF HEIGHT CONTROL ACCUMULATOR ASSEMBLY 
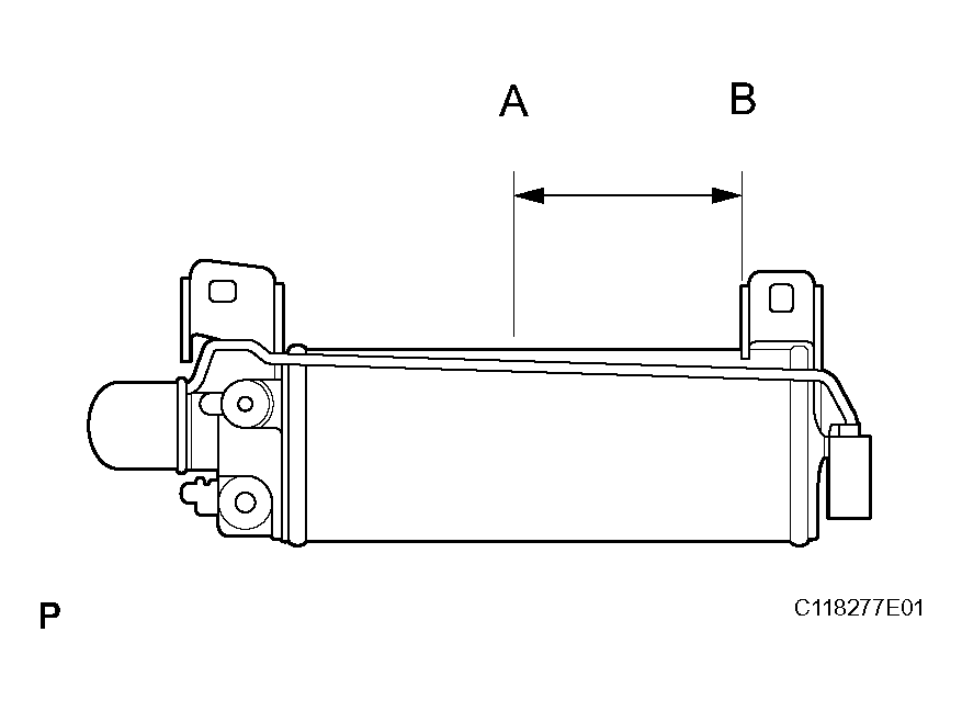
    1. Place the accumulator in a vise and saw a hole between "A" and "B" shown in Fig 1 using a saw to discharge the gas inside.
      CAUTION:
      • Before the gas discharging, loosen the bleeder plug to bleed high pressure oil.
      • The gas discharging is colorless, odorless and harmless.
      • Saw a hole while covering the saw with a cloth because chips may fly up.
      Fig 1: Identifying Distance For Showing Hole
      G04437513Courtesy of © TOYOTA, LICENSE AGREEMENT TMS1002