LEMON Manuals: Even more car manuals for everyone: 1960-2025
Home >> Toyota >> 2006 >> Land Cruiser >> Repair and Diagnosis >> Suspension >> Suspension Control Systems >> Suspension Control System >> Height Control Sensor >> Adjustment
April 5, 2026: LEMON Manuals is launched! Read the announcement.

Height Control Sensor: Adjustment

  1. ADJUST HEIGHT CONTROL SENSOR (IN CASE OF USING INTELLIGENT TESTER) 
    1. Connect the intelligent tester to DLC3 on the vehicle.
    2. Start the engine and push the height control select switch to adjust the vehicle height to the "LO" then to "N" position.
      Fig 1: Connecting Intelligent Tester To DLC3
      G04064541Courtesy of © TOYOTA, LICENSE AGREEMENT TMS1002
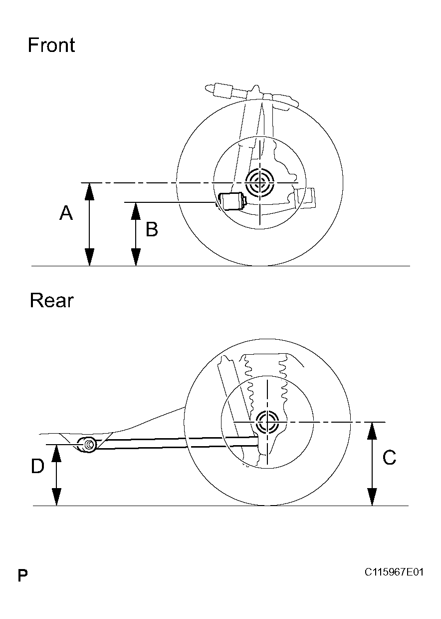
    3. Inspect the vehicle height.

      Vehicle height 

      ITEM SPECIFIED CONDITION

      Item Specified Condition
      Front A to B: 82.7 mm (3.256 in.)
      Rear C to D: 71.2 mm (2.803 in.)

      Measuring points:

      A: Ground clearance of spindle center

      B: Ground clearance of lower suspension arm front bolt center

      C: Ground clearance of rear axle shaft center

      D: Ground clearance of lower control arm front bolt center

    4. Inspect and adjust the height control sensor to the neutral position.
      1. Read the value of height control sensor on the intelligent tester.

        Standard value: 

        Actual vehicle height +/- 5 mm (0.20 in.) 

        HINT:

        (Example)

        When the measurement value of the front vehicle height is 85.0 mm (3.35 in.), the actual value of height control sensor is -2.3 mm (-0.09 in.).

        Fig 2: Inspecting Vehicle Height
        G04437530Courtesy of © TOYOTA, LICENSE AGREEMENT TMS1002
      2. Loosen the nut and adjust the positions of the height control sensor link and front upper suspension arm or rear lower control arm by moving them up and down to install them.
      3. Tighten the nut.

        Torque: 5.6 N*m (57 kgf*cm, 49 in.*lbf) 

        Fig 3: Inspecting Positions Of Height Control Sensor
        G04437531Courtesy of © TOYOTA, LICENSE AGREEMENT TMS1002
      4. When adjustment cannot be done by repeat the 2 previous steps, loosen the 2 nuts of height control sensor link and turn the link.

        HINT:

        • To raise the vehicle, turn the link clockwise.
        • To lower the vehicle, turn the link counterclockwise.
      5. Tighten the 2 nuts.

        Torque: 5.4 N*m (55 kgf*cm, 48 in.*lbf) 

      6. Coat the threads of the link with sealer.

        Sealer: 

        Part No. 08833-00070, THREE BOND 1324 or equivalent 

        Fig 4: Loosening Nuts Of Height Control Sensor Link
        G04437532Courtesy of © TOYOTA, LICENSE AGREEMENT TMS1002
  2. ADJUST HEIGHT CONTROL SENSOR (IN CASE OF NOT USING INTELLIGENT TESTER) 
    1. Inspect the vehicle height.

      Vehicle height 

      ITEM SPECIFIED CONDITION

      Item Specified Condition
      Front A to B: 82.7 mm (3.256 in.)
      Rear C to D: 71.2 mm (2.803 in.)

      Measuring points:

      A: Ground clearance of spindle center

      B: Ground clearance of lower suspension arm front bolt center

      C: Ground clearance of rear axle shaft center

      D: Ground clearance of lower control arm front bolt center

    2. Inspect and adjust the height control sensor to the neutral position.
      1. Disconnect the connector of front and rear height control sensors.
        Fig 5: Inspecting Vehicle Height
        G04437533Courtesy of © TOYOTA, LICENSE AGREEMENT TMS1002
      2. Connect 3 dry cell batteries of 1.5 V to SHB terminal and its negative to SHG terminal and apply approx. 4.5 V voltage between terminals.
      3. Measure the voltage between terminals SHB and SHG. The target voltage (Voltage between SHFL, SHFR, SHRR and SHB) can be obtained by driving this value by 2.

        HINT:

        (Example)

        Terminal voltage between SHB and SHG: 4.5 V

        Target voltage: 2.25 V

      4. Measure the voltage between SHFL (SHFR, SHRR) and SHG terminals when voltage is applied.

        Standard value 

        ITEM SPECIFIED CONDITION

        Item Specified Condition
        Front Sensor Target voltage +/- 0.08 V
        Rear Sensor Target voltage +/- 0.07 V
        Fig 6: Measuring Voltage Between Terminals SHB & SHG
        G04437534Courtesy of © TOYOTA, LICENSE AGREEMENT TMS1002
      5. Loosen the nut and adjust the positions of the height control sensor link and front upper suspension arm or rear lower control arm by moving them up and down to install them.
      6. Tighten the nut.

        Torque: 5.6 N*m (57 kgf*cm, 49 in.*lbf) 

        Fig 7: Adjusting Positions Of Height Control Sensor Link & Front Upper Suspension
        G04437535Courtesy of © TOYOTA, LICENSE AGREEMENT TMS1002
      7. When adjustment cannot be done by repeat the 2 previous step, loosen the 2 nuts of height control sensor link and turn the link.

        HINT:

        • To raise the vehicle, turn the link clockwise.
        • To lower the vehicle, turn the link counterclockwise.
      8. Tighten the 2 nut.

        Torque: 5.4 N*m (55 kgf*cm, 48 in.*lbf) 

        Fig 8: Inspecting Height Control Sensor Link
        G04437536Courtesy of © TOYOTA, LICENSE AGREEMENT TMS1002
      9. Coat the threads of the link with sealer.

        Sealer: 

        Part No. 08833-00070, THREE BOND 1324 or equivalent 

  3. ADJUST TORSION BAR SPRING (IN CASE OF USING INTELLIGENT TESTER) 
    NOTE:
    • Perform the operation with vehicle unloaded (with the fuel tank filled up).
    • Temperature should be normal. (10 to 50°C, 50°F to 122°F in the engine compartment).
    • Perform this on a level place.
    1. Connect the intelligent tester to DLC3 on the vehicle.
    2. Start the engine and push the height to the "N" position.
    3. With the ignition switch OFF, adjust the torsion bar spring so that the difference between right and left in vehicle height is less than 10 mm (0.039 in.)

      HINT:

      To reduce the difference between right and left is tightening amount of torsion bar spring, adjust the both sides by the same amount.

      NOTE: Adjust it with no passenger are in.
    4. Start the engine and push the height select switch to adjust the vehicle height from the "N" to "LO" then back to "N" position.
    5. Stop the engine.
    6. Read the pressure value of the front shock absorber with intelligent tester at this time.

      Pressure: 

      6.5 +/- 0.5 MPa (70 +/- 5 kgf/cm 2  , 996 +/- 71 psi) 

      HINT:

      The cylinder pressure read by the intelligent tester is estimated by the pump emitted pressure is approx.

      1.2 MPa (12 kgf/cm2 , 171 psi) higher than the pressure read by the LSPV gauge (SST).

      If the value is not within the specification, adjust the torsion bar spring.

      NOTE: Make sure to turn the ignition OFF when adjusting the torsion bar spring.

      HINT:

      • Approx. 0.2 MPa (2 kgf/cm2 , 28 psi) changes when both right and left adjusting bolts are turned one turn.
      • The pressure rises when the adjusting bolts are loosened.

        Pressure: 

        6.9 +/- 0.3 MPa (70 +/- 3 kgf/cm 2  , 996 +/- 43 psi) 

    7. Start the engine and push the height select switch to adjust the vehicle height to the "N" position.
    8. Check the fluid level (see ON-VEHICLE INSPECTION  ).
  4. ADJUST TORSION BAR SPRING (IN CASE OF NOT USING INTELLIGENT TESTER) 
    NOTE:
    • Perform the operation with the vehicle unloaded (with the fuel tank filled up).
    • After and before using LSPV gauge (SST), make sure to clean the hose, gauge and adopter.
    1. Start the engine and push the height select switch to adjust the vehicle height to the "LO" position.
    2. With the ignition switch Off, discharge the suspension fluid AHC from the bleeder plug of the either front right or left wheel dumping force control actuator.
      NOTE: The fluid gushes out because of high pressure, so discharge the fluid in the same way as air bleeding.
    3. Remove the bleeder plug of either right or left dumping force control actuator and install the LSPV gauge (SST).

      SST 09709-29018 

    4. Start the engine and push the height select switch to adjust the vehicle height to the "N" position.
    5. With the ignition switch OFF, adjust the torsion bar spring so that the difference between right and left in vehicle height is less than 10 mm (0.39 in.).
      Fig 9: Installing LSPV SST Gauge
      G04437537Courtesy of © TOYOTA, LICENSE AGREEMENT TMS1002

      HINT:

      To reduce the difference between right and left of the torsion bar spring, tighten the same amount for loosening.

    6. Start the engine and push the height select switch to adjust the vehicle height from the "N" to "LO" then back to "N" position.
    7. Stop the engine.
    8. Read the pressure value with LSPV gauge (SST) at this time.

      SST 09709-29018 

      Pressure: 

      5.7 +/- 0.3 MPa (58 +/- 3 kgf/cm 2  , 825 +/- 43 psi) 

      If the value is not within the specification, adjust the torsion bar spring.

      NOTE: Make sure to turn the ignition OFF when adjusting the torsion bar spring.

      HINT:

      • Approx. 0.2 MPa (2 kgf/cm2 , 28 psi) changes when both right and left adjusting bolts are turned one turn.
      • The pressure rises when the adjusting bolts are loosened.
    9. Start the engine and push the height select switch to adjust the vehicle height to the "LO" position.
    10. With the ignition switch OFF, discharge the suspension fluid AHC from the bleeder plug of LSPV gauge (SST).

      SST 09709-29018 

      CAUTION: The fluid gushes out because of high pressure, so discharge the fluid in the same way as air bleeding.
    11. Remove the LSPV gauge (SST).

      SST 09709-29018 

    12. Install the bleeder plug.

      Torque: 8.3 N*m (84 kgf*cm, 73 in.*lbf) 

    13. Bleed the air (see BLEEDING ).

      HINT:

      Bleed the bleeder plug with LSPV gauge (SST) installed to only once.

    14. Check the fluid level (see ON-VEHICLE INSPECTION  ).