LEMON Manuals: Even more car manuals for everyone: 1960-2025
Home >> Toyota >> 2006 >> Matrix 2WD L4-1.8L (1ZZ-FE) >> Repair and Diagnosis >> Powertrain Management >> Computers and Control Systems >> Engine Control Module >> Diagrams >> Diagnostic Aids >> How to Troubleshoot ECU Controlled Systems >> Electronic Circuit Inspection Procedure >> Check Short Circuit
April 5, 2026: LEMON Manuals is launched! Read the announcement.

Check Short Circuit

CHECK SHORT CIRCUIT




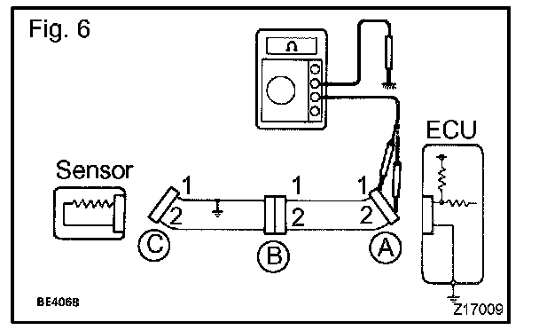
a. If the wire harness is ground shorted (Fig. 5), locate the section by conducting a resistance check with the body ground.




b. Check the resistance with the body ground.




1. Disconnect connectors A and C and measure the resistance between terminals 1 and 2 of connector A and the body ground.

HINT: Measure the resistance while lightly shaking the wire harness vertically and horizontally.

If your results match the examples above, a short circuit exists between terminal 1 of connector A and terminal 1 of connector C.







2. Disconnect connector B and measure the resistance between terminal 1 of connector A and the body ground, and terminal 1 of connector B2 and the body ground.
If your results match the examples above, a short circuit exists between terminal 1 of connector B2 and terminal 1 of connector C.