LEMON Manuals: Even more car manuals for everyone: 1960-2025
Home >> Toyota >> 2006 >> Matrix 2WD L4-1.8L (1ZZ-FE) >> Repair and Diagnosis >> Powertrain Management >> Computers and Control Systems >> Relays and Modules - Computers and Control Systems >> Engine Control Module >> Diagrams >> Diagnostic Aids >> How to Troubleshoot Electrical Circuits >> Continuity and Resistance Check
April 5, 2026: LEMON Manuals is launched! Read the announcement.

Continuity and Resistance Check

CONTINUITY AND RESISTANCE CHECK




a. Disconnect the battery terminal or wire so there is no voltage between the check points.




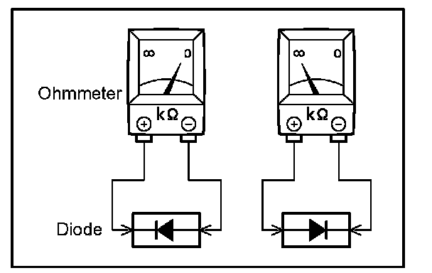
b. Contact the two leads of an ohmmeter to each of the check points.
If the circuit has diodes, reverse the two leads and check again.

When contacting the negative lead to the diode positive side and the positive lead to the negative side, there should be continuity.

When contacting the two leads in reverse, there should be no continuity.




c. Use a volt/ohmmeter with high impedance (10 kOhms/V minimum) for troubleshooting of the electrical circuit.