LEMON Manuals: Even more car manuals for everyone: 1960-2025
Home >> Toyota >> 2006 >> Matrix Base, FWD, Automatic >> Repair and Diagnosis (Single Page) >> Accessories & Equipment >> Cruise Control Systems >> Cruise Control System >> CRUISE CONTROL SYSTEM (w/o Electronic Throttle Control System) >> ECU Power Source Circuit >> Inspection Procedure
April 5, 2026: LEMON Manuals is launched! Read the announcement.

Inspection Procedure

  1. INSPECT FUSE (ECU-IG) 
    1. Remove the ECU-IG fuse from the instrument panel J/B.
    2. Check the continuity of the ECU-IG fuse.

      OK: Continuity 

    Fig 1: Inspecting Fuse (ECU-IG)
    G04466414Courtesy of © TOYOTA, LICENSE AGREEMENT TMS1002

    NG: REPLACE FUSE 

    OK: GO TO NEXT STEP 

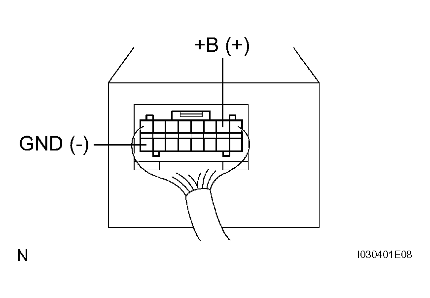
  2. INSPECT TERMINAL VOLTAGE (B) 
    1. Remove the cruise control ECU assembly with connector still connected.
    2. Turn the ignition switch to ON.
    3. Measure voltage between terminals 2 (B) and 16 (GND) of the cruise control ECU assembly connector.

      OK: Voltage: 10 to 16 V 

    4. Fig 2: Inspecting Terminal Voltage (B)
      G04466415Courtesy of © TOYOTA, LICENSE AGREEMENT TMS1002

    OK: PROCEED TO NEXT CIRCUIT INSPECTION SHOWN IN  PROBLEM SYMPTOMS TABLE  

    NG: GO TO NEXT STEP 

  3. CHECK HARNESS AND CONNECTOR (CRUISE CONTROL ECU ASSEMBLY - BODY GROUND) 
    1. Measure resistance between terminal 16 (GND) of the cruise control ECU assembly connector and body ground.

      OK: Resistance: Below 1 Ω 

    Fig 3: Checking Harness And Connector (Cruise Control ECU Assembly - Body Ground)
    G04466416Courtesy of © TOYOTA, LICENSE AGREEMENT TMS1002

    NG: REPAIR OR REPLACE HARNESS OR CONNECTOR 

    OK: CHECK AND REPAIR HARNESS AND CONNECTOR (CRUISE CONTROL ECU ASSEMBLY - BATTERY)