LEMON Manuals: Even more car manuals for everyone: 1960-2025
Home >> Toyota >> 2006 >> Matrix Base, FWD, Automatic >> Repair and Diagnosis (Single Page) >> Engine Performance >> System >> Engine Control System (1ZZ-FE) - SFI System - Component Tests >> ECM >> Removal
April 5, 2026: LEMON Manuals is launched! Read the announcement.

Engine Control System (1ZZ-FE) - SFI System - Component Tests: ECM: Removal

  1. DISCONNECT BATTERY NEGATIVE TERMINAL 
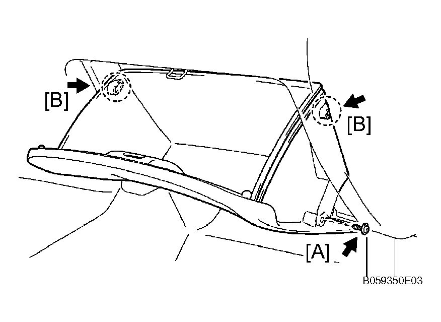
  2. REMOVE GLOVE COMPARTMENT DOOR ASSEMBLY 
    1. Remove the screw [A] from the glove compartment door stoppers.
    2. Deform the upper part of the glove compartment door assembly to release the stoppers [B].
    3. Pull the glove compartment door assembly upward to remove it.
      Fig 1: Removing Glove Compartment Door Assembly
      G04460493Courtesy of © TOYOTA, LICENSE AGREEMENT TMS1002
  3. REMOVE ECM 
    1. Remove the 2 clips using a clip remover, then open the cover.
      Fig 2: Opening ECM Cover
      G04460494Courtesy of © TOYOTA, LICENSE AGREEMENT TMS1002
    2. Disconnect the 4 ECM connectors [B].
    3. Remove the wire harness from the wire harness clamp [C].
      Fig 3: Disconnecting ECM Connectors
      G04460495Courtesy of © TOYOTA, LICENSE AGREEMENT TMS1002
    4. Remove the 2 screws [D].
    5. Unfasten the claw and clip, and then remove the ECM.
      Fig 4: Removing ECM
      G04460496Courtesy of © TOYOTA, LICENSE AGREEMENT TMS1002
  4. REMOVE ECM COVER 
    1. Remove the ECM cover from the ECM.
      Fig 5: Identifying Denso And Delco Made ECM Cover
      G04460497Courtesy of © TOYOTA, LICENSE AGREEMENT TMS1002
  5. REMOVE ECM BRACKET NO. 1 (for DELCO Made) 
    1. Remove the 4 screws, then remove the ECM bracket No. 1.
      Fig 6: Removing ECM Bracket No. 1 (For Delco Made)
      G04460498Courtesy of © TOYOTA, LICENSE AGREEMENT TMS1002
  6. REMOVE ECM BRACKET NO. 1 (for DENSO Made) 
    1. Remove the 2 screws, then remove the ECM bracket No. 1.
      Fig 7: Removing ECM Bracket No. 1 (For Denso Made)
      G04460499Courtesy of © TOYOTA, LICENSE AGREEMENT TMS1002
  7. REMOVE ECM BRACKET NO.2 (for DENSO Made) 
    1. Remove the 2 screws, then remove the ECM bracket No. 2.
      Fig 8: Removing ECM Bracket No.2 (For Denso Made)
      G04460500Courtesy of © TOYOTA, LICENSE AGREEMENT TMS1002
  8. REMOVE ECM BRACKET NO. 3 (for DENSO Made) 
    1. Remove the 2 screws, then remove the ECM bracket No. 3.
      Fig 9: Removing ECM Bracket No. 3 (For Denso Made)
      G04460501Courtesy of © TOYOTA, LICENSE AGREEMENT TMS1002