LEMON Manuals: Even more car manuals for everyone: 1960-2025
Home >> Toyota >> 2006 >> Matrix XRS >> Repair and Diagnosis >> Body & Frame >> Windows >> Windshield/Window Glass >> Windshield Glass >> Installation
April 5, 2026: LEMON Manuals is launched! Read the announcement.

Windshield Glass: Installation

  1. INSTALL WINDSHIELD GLASS STOPPER NO. 1 
    1. Install 2 new windshield glass stoppers No. 1 to the body as shown in the illustration.
      Fig 1: Installing Windshield Glass Stoppers No. 1 To Body
      G04466797Courtesy of © TOYOTA, LICENSE AGREEMENT TMS1002
  2. INSTALL WINDSHIELD GLASS STOPPER NO. 2 
    1. Coat the installation part of the stopper with Primer G.

      HINT:

      If an area other than that specified is coated by accident, wipe off the primer with a clean sponge.

      NOTE:
      • Allow the primer coating to dry for 3 minutes or more.
      • Do not apply too much primer.
        Fig 2: Installing Windshield Glass Stopper No. 2
        G04466798Courtesy of © TOYOTA, LICENSE AGREEMENT TMS1002
    2. Install 2 new windshield glass stoppers No. 2 onto the glass as shown in the illustration.

      A: 40.0 mm (1.575 in.) 

      B: 7.7 mm (0.303 in.) 

  3. INSTALL FRONT PILLAR OUTER DAM 
    1. Apply Primer G to the window glass where the front pillar outer dam will be installed.

      HINT:

      If an area other than that specified is coated by accident, wipe off the primer with a clean sponge.

      NOTE:
      • Allow the primer coating to dry for 3 minutes or more.
      • Do not apply too much primer.
    2. Remove the peeling paper from the adhesive part of the dam. Install the dam (adhesive side) to the window glass (Primer G area), but exclude the stopper area "d" as shown in the illustration.
      NOTE: Do not touch the glass surface after cleaning it.

      A: 7 mm (0.28 in.) 

      B: 22.5 mm (0.886 in.) 

      C: 45 mm (1.77 in.) 

      D: 5 mm (0.20 in.) 

      Fig 3: Installing Dam (Adhesive Side) To Window Glass
      G04466799Courtesy of © TOYOTA, LICENSE AGREEMENT TMS1002
  4. INSTALL WINDSHIELD GLASS 
    1. Clean and shape the contact surface of the adhesive on the vehicle's body.
      1. Using a knife, cut away any excessive adhesive.

        HINT:

        Leave as much adhesive on the body as possible.

      2. Clean the cut surface of the adhesive with a piece of sponge saturated in cleaner.
        Fig 4: Cutting Away Any Excessive Adhesive Using Knife
        G04466800Courtesy of © TOYOTA, LICENSE AGREEMENT TMS1002
    2. Position the glass.
      1. Using a suction cup, place the glass in the correct position.
      2. Check that all the contacting parts of the glass rim are perfectly even.
      3. Place reference marks between the glass and body.
        NOTE: Check that the stoppers are attached to the vehicle body correctly.

        HINT:

        When planning to reuse the glass, check and correct the reference mark's positions.

      4. Remove the glass.
    3. Coat the contact surface of the body panel with Primer M.
      1. Using a brush, coat the exposed part of the contact surface on the vehicle side with Primer M.
        NOTE:
        • Allow the primer coating to dry for 3 minutes or more.
        • Do not coat the adhesive with Primer M.
        • Do not apply too much Primer.
    4. Coat the contact surface of the glass with Primer G.
      1. Using a brush or sponge, coat the edge of the glass and the contact surface with Primer G.

        HINT:

        If an area other than that specified is coated by accident, wipe off the primer.

        NOTE:
        • Allow the primer coating to dry for 3 minutes or more.
        • Do not apply too much primer.
    5. Apply adhesive.
      1. Cut off the tip of the cartridge nozzle as shown in the illustration.

        Adhesive: Part No. 08850-00801 or equivalent 

        HINT:

        After cutting off the tip, use all adhesive within the time described in the table below.

        TEMPERATURE REFERENCE (1 OF 2)

        Temperature Usage Timeframe
        35°C (95°F) 15 minutes
        20°C (68°F) 100 minutes
        5°C (41°F) 8 hours
      2. Load the sealer gun with the cartridge.
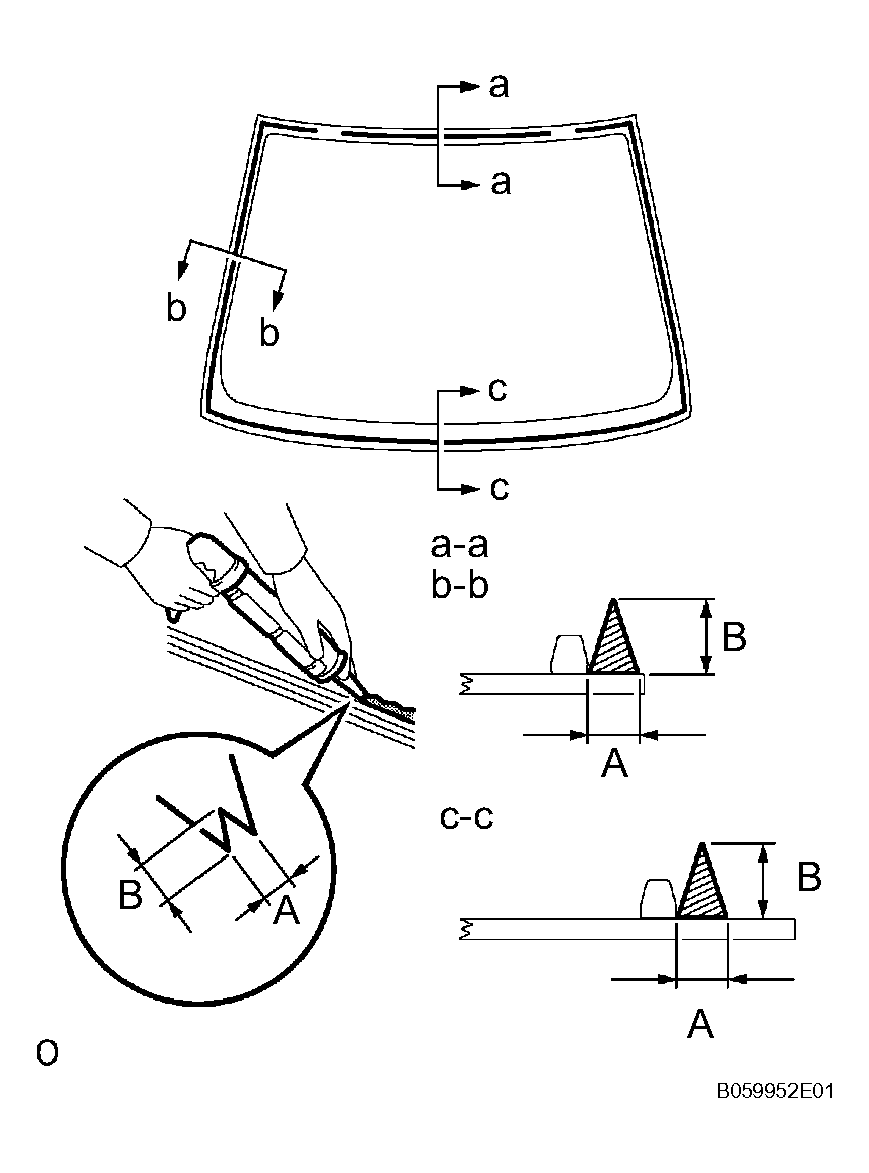
      3. Coat the glass with adhesive, as shown in the illustration.

        A: 8.0 mm (0.315 in.) 

        B: 12.5 mm (0.492 in.) 

        Fig 5: Cutting Off Tip Of Cartridge Nozzle
        G04466801Courtesy of © TOYOTA, LICENSE AGREEMENT TMS1002
    6. Install the glass.
      1. Using a suction cup, position the glass so that the reference marks are aligned, and press it in gently along the rim.
        NOTE:
        • Allow the primer coating to dry for 3 minutes or more.
        • Check that the stoppers are attached to the vehicle body correctly.
        • Check the clearance between the vehicle body and glass.
      2. Lightly press the glass surface to ensure that the windshield glass is securely fit to the vehicle body.
      3. Using a scraper, remove any excess or protruding adhesive.

        HINT:

        Apply adhesive on the glass rim.

  5. INSTALL WINDSHIELD MOULDING OUTSIDE 
    1. Install a new windshield moulding to the windshield glass before the adhesive has hardened.
    2. Hold the windshield glass in place securely with protective tape or equivalent until the adhesive has completely hardened.
    3. Using a scraper, remove any excess or protruding adhesive before the adhesive has hardened.
      NOTE: Do not drive the vehicle for the amount of time written in the table below.
      TEMPERATURE REFERENCE (2 OF 2)

      Temperature Minimum time prior to driving
      35°C (95°F) 1.5 hours
      20°C (68°F) 5 hours
      5°C (41°F) 24 hours
  6. CHECK FOR LEAKAGE AND REPAIR 
    1. Conduct a leak test after the adhesive has completely hardened.
    2. Seal any leaks with sealant.
  7. INSTALL ROOF HEADLINING ASSEMBLY (See  INSTALLATION  ) 
  8. INSTALL VISOR HOLDER 
  9. INSTALL ASSIST GRIP SUB-ASSEMBLY 
  10. INSTALL MAP LAMP ASSEMBLY 
  11. INSTALL LH VISOR ASSEMBLY 
  12. INSTALL RH VISOR ASSEMBLY 
  13. INSTALL INNER REAR VIEW MIRROR ASSEMBLY 
  14. INSTALL FRONT PILLAR GARNISH LH 
  15. INSTALL FRONT PILLAR GARNISH RH 
  16. INSTALL FRONT DOOR WEATHERSTRIP LH 
  17. INSTALL FRONT DOOR WEATHERSTRIP RH 
  18. INSTALL COWL TOP VENTILATOR LOUVER RH 
  19. INSTALL COWL TOP VENTILATOR LOUVER LH 
  20. INSTALL HOOD TO COWL TOP SEAL 
  21. REMOVE FR WIPER ARM LH (See  INSTALLATION  ) 
  22. INSTALL FR WIPER ARM LH (See  INSTALLATION  )