LEMON Manuals: Even more car manuals for everyone: 1960-2025
Home >> Toyota >> 2006 >> Prius >> Repair and Diagnosis (Single Page) >> Brakes >> Traction Control >> Brake Control System >> Electronically Controlled Brake System >> DTC C1311/11 Open in Main Relay 1 Circuit; DTC C1312/12 Short in Main Relay 1 Circuit; DTC C1313/13 Open in Main Relay 2 Circuit; DTC C1314/14 Short in Main Relay 2 Circuit >> Inspection Procedure
April 5, 2026: LEMON Manuals is launched! Read the announcement.

Inspection Procedure

NOTE: When replacing the skid control ECU, perform initialization of linear solenoid valve and calibration (see INITIALIZATION  ).
  1. PERFORM ACTIVE TEST BY INTELLIGENT TESTER (ABS NO. 1 RELAY, ABS NO. 2 RELAY) 
    1. Select the ACTIVE TEST for the proper functioning of the ABS NO. 1 and ABS NO. 2 relays.

      Skid control ECU 

      ACTIVE TEST

      Item Test Details Diagnostic Note
      MAIN RELAY 2 Turns MAIN RELAY 1 ON / OFF Operation of solenoid (clicking sound) can be heard
      MAIN RELAY 1 Turns MAIN RELAY 2 ON / OFF Operation of solenoid (clicking sound) can be heard

      OK : Operation sound of ABS NO. 1 relay and ABS NO. 2 relay should be heard. 

    NG : Go to step   3 

    OK : GO TO NEXT STEP 

  2. CHECK SKID CONTROL ECU (BS1, BS2 VOLTAGE) 
    1. Measure the voltage of the connectors.

      HINT:

      Measure the voltage from behind the connector with the connector connected to the skid control ECU.

      Standard voltage 

      TESTER CONNECTION SPECIFIED CONDITION

      Tester Connection Specified Condition
      S7-3 (BS1) - Body ground 10 to 14 V
      S10-7 (BS2) - Body ground 10 to 14 V

    NG : REPAIR OR REPLACE HARNESS AND CONNECTOR 

    Fig 1: Checking Skid Control ECU (Bs1, Bs2 Voltage)
    G04474640Courtesy of © TOYOTA, LICENSE AGREEMENT TMS1002

    OK : REPLACE SKID CONTROL ECU 

  3. INSPECT FUSE (ABS MAIN1, ABS MAIN2) 
    1. Remove the ABS MAIN1 and ABS MAIN2 fuses from the engine room relay block.
    2. Measure the resistance of the fuses.

      Standard resistance: Below 1 Ω 

    NG : CHECK FOR SHORT IN ALL HARNESS AND CONNECTOR CONNECTED TO FUSE AND REPLACE FUSE 

    Fig 2: Inspecting Fuse (ABS MAIN1, ABS MAIN2)
    G04474641Courtesy of © TOYOTA, LICENSE AGREEMENT TMS1002

    OK : GO TO NEXT STEP 

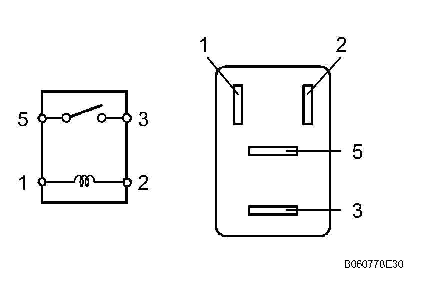
  4. INSPECT ABS MAIN RELAY (Marking: ABS NO. 1, ABS NO. 2) 
    1. Remove the ABS NO. 1 and ABS NO. 2 relays from the engine room relay block.
    2. Measure the resistance of the relays.

      Standard resistance 

      TESTER CONNECTION SPECIFIED CONDITION

      Tester Connection Specified Condition
      3 - 5 10 kΩ or higher
      3 - 5 Below 1 Ω (when battery voltage is applied to terminals 1 and 2

    NG : REPLACE RELAY 

    Fig 3: Inspecting ABS Main Relay
    G04474642Courtesy of © TOYOTA, LICENSE AGREEMENT TMS1002

    OK : GO TO NEXT STEP 

  5. CHECK SKID CONTROL ECU (+BI1, +BI2 VOLTAGE) 
    1. Measure the voltage of the connectors.

      HINT:

      Measure the voltage from behind the connector with the connector connected to the skid control ECU.

      Standard voltage 

      TESTER CONNECTION SPECIFIED CONDITION

      Tester Connection Specified Condition
      S8-3 (+BI1) - Body ground 10 to 14 V
      S9-5 (+BI2) - Body ground 10 to 14 V

    NG : REPAIR OR REPLACE HARNESS AND CONNECTOR 

    Fig 4: Checking Skid Control ECU (+Bi1, +Bi2 Voltage)
    G04474643Courtesy of © TOYOTA, LICENSE AGREEMENT TMS1002

    OK : GO TO NEXT STEP 

  6. CHECK SKID CONTROL ECU (+BO1, +BO2, R1+, R2+ VOLTAGE) 
    1. Measure the voltage of the connectors.

      HINT:

      Measure the voltage from behind the connector with the connector connected to the skid control ECU.

      Standard voltage 

      TESTER CONNECTION SPECIFIED CONDITION

      Tester Connection Specified Condition
      S7-2 (R1+) - Body ground 10 to 14 V
      S8-5 (+BO1) - Body ground 10 to 14 V
      S9-4 (+BO2) - Body ground 10 to 14 V
      S10-17 (R2+) - Body ground 10 to 14 V

    NG : REPAIR OR REPLACE HARNESS AND CONNECTOR 

    Fig 5: Checking Skid Control ECU (+BO1, +BO2, R1+, R2+ Voltage)
    G04474644Courtesy of © TOYOTA, LICENSE AGREEMENT TMS1002

    OK : GO TO NEXT STEP 

  7. CHECK SKID CONTROL ECU (BS1, BS2 VOLTAGE) 
    1. Measure the voltage of the connectors.

      HINT:

      Measure the voltage from behind the connector with the connector connected to the skid control ECU.

      Standard voltage 

      TESTER CONNECTION SPECIFIED CONDITION

      Tester Connection Specified Condition
      S7-3 (BS1) - Body ground 10 to 14 V
      S10-7 (BS2) - Body ground 10 to 14 V

    NG : REPAIR OR REPLACE HARNESS AND CONNECTOR 

    Fig 6: Checking Skid Control ECU (BS1, BS2 Voltage)
    G04474645Courtesy of © TOYOTA, LICENSE AGREEMENT TMS1002

    OK : REPLACE SKID CONTROL ECU