LEMON Manuals: Even more car manuals for everyone: 1960-2025
Home >> Toyota >> 2006 >> Prius >> Repair and Diagnosis >> Engine Performance >> Engine Control System (1NZ-FXE) >> SFI System >> ECM Power Source Circuit >> Wiring Diagram
April 5, 2026: LEMON Manuals is launched! Read the announcement.

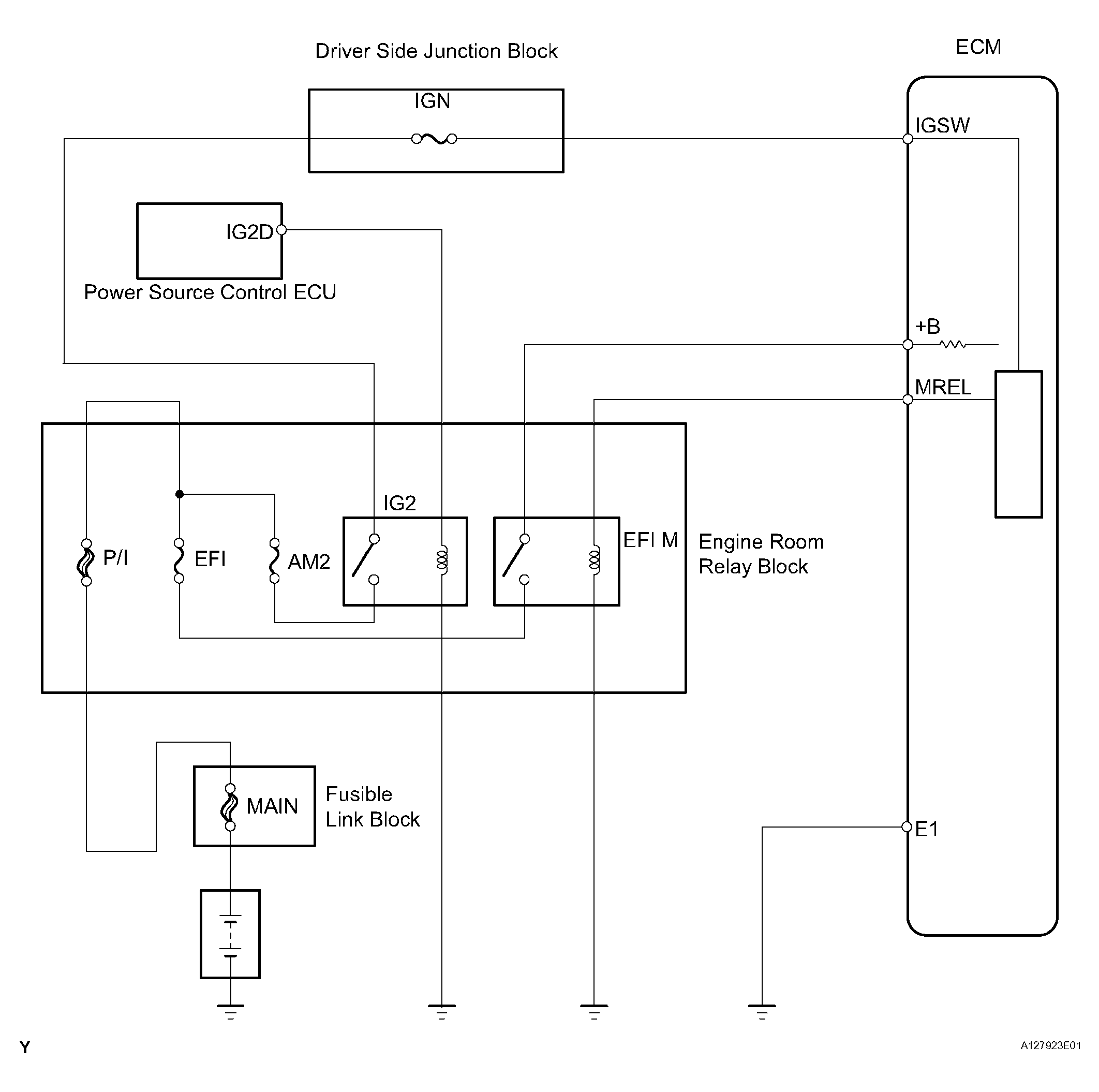
ECM Power Source Circuit: Wiring Diagram

Fig 1: Wiring Diagram - ECM Power Source Circuit
G04472271Courtesy of © TOYOTA, LICENSE AGREEMENT TMS1002
  1. CHECK ECM (+B VOLTAGE) 
    1. Turn the power switch ON (IG).
    2. Measure the voltage between the specified terminals of the E5 and E7 ECM connectors.

      Standard voltage 

      TESTER CONNECTION AND SPECIFIED CONDITION

      Tester Connection Specified Condition
      E7-4 (+B) - E5-28 (E1) 9 to 14 V

    OK : PROCEED TO NEXT CIRCUIT INSPECTION SHOWN ON PROBLEM SYMPTOMS TABLE 

    Fig 2: Identifying E5 And E7 ECM Connectors
    G04472272Courtesy of © TOYOTA, LICENSE AGREEMENT TMS1002

    NG : GO TO NEXT STEP 

  2. CHECK HARNESS AND CONNECTOR (ECM - BODY GROUND) 
    1. Disconnect the E5 ECM connector.
    2. Measure the resistance between the wire harness side connectors.

      Standard resistance (Check for open) 

      TESTER CONNECTION AND SPECIFIED CONDITION

      Tester Connection Specified Condition
      E5-28 (E1) - Body ground Below 1 Ω
    3. Reconnect the ECM connector.

    NG : REPAIR OR REPLACE HARNESS AND CONNECTOR 

    Fig 3: Identifying E5 ECM Connectors
    G04472273Courtesy of © TOYOTA, LICENSE AGREEMENT TMS1002

    OK : GO TO NEXT STEP 

  3. CHECK ECM (IGSW VOLTAGE) 
    1. Turn the power switch ON (IG).
    2. Measure the voltage between the specified terminals of the E5 and E6 ECM connectors.

      Standard voltage 

      TESTER CONNECTION AND SPECIFIED CONDITION

      Tester Connection Specified Condition
      E6-9 (IGSW) - E5-28 (E1) 9 to 14 V

    OK : Go to step   7 

    Fig 4: Identifying E5 And E6 ECM Connectors
    G04472274Courtesy of © TOYOTA, LICENSE AGREEMENT TMS1002

    NG : GO TO NEXT STEP 

  4. INSPECT FUSE (IGN FUSE) 
    1. Remove the IGN fuse from the driver side junction block.
    2. Measure the resistance of the IGN fuse.

      Standard resistance: 

      Below 1 Ω 

    3. Reinstall the IGN fuse

    NG : CHECK FOR SHORT IN ALL HARNESS AND COMPONENTS CONNECTED TO FUSE 

    Fig 5: Inspecting IGN Fuse
    G04472275Courtesy of © TOYOTA, LICENSE AGREEMENT TMS1002

    OK : GO TO NEXT STEP 

  5. INSPECT INTEGRATION RELAY (IG2 RELAY) 
    1. Remove the integration relay from the engine room relay block.
    2. Inspect the EFI M relay.

      Standard resistance 

      TESTER CONNECTION AND SPECIFIED CONDITION

      Tester Connection Specified Condition
      3K-1 - 3I-4 10 kΩ or higher
      3K-1 - 3I-4 Below 1 Ω
      (Apply battery voltage to terminals 3I-2 and 3I-3)
    3. Reinstall the integration relay.

    NG : REPLACE INTEGRATION RELAY 

    Fig 6: Inspecting IG2 Integration Relay
    G04472276Courtesy of © TOYOTA, LICENSE AGREEMENT TMS1002

    OK : GO TO NEXT STEP 

  6. INSPECT FUSE (AM2 FUSE) 
    1. Remove the AM2 fuse from the engine room relay block.
    2. Measure the resistance of the AM2 fuse.

      Standard resistance: 

      Below 1 Ω 

    3. Reinstall the AM2 fuse

    NG : CHECK FOR SHORT IN ALL HARNESS AND COMPONENTS CONNECTED TO FUSE 

    Fig 7: Inspecting AM2 Fuse
    G04472277Courtesy of © TOYOTA, LICENSE AGREEMENT TMS1002

    OK : CHECK AND REPAIR HARNESS AND CONNECTOR (BATTERY - IG2 RELAY, IG2 RELAY - ECM) 

  7. CHECK ECM (MREL VOLTAGE) 
    1. Turn the power switch ON (IG).
    2. Measure the voltage between the specified terminals of the E5 and E7 ECM connectors.

      Standard voltage 

      TESTER CONNECTION AND SPECIFIED CONDITION

      Tester Connection Specified Condition
      E7-7 (MREL) - E5-28 (E1) 9 to 14 V

    NG : REPLACE ECM 

    Fig 8: Identifying E5 And E7 ECM Connectors Terminal
    G04472278Courtesy of © TOYOTA, LICENSE AGREEMENT TMS1002

    OK : GO TO NEXT STEP 

  8. INSPECT FUSE (EFI FUSE) 
    1. Remove the EFI fuse from the engine room relay block.
    2. Measure the resistance of the EFI fuse.

      Standard resistance: 

      Below 1 Ω 

    3. Reinstall the EFI fuse.

    NG : CHECK FOR SHORT IN ALL HARNESS AND COMPONENTS CONNECTED TO FUSE 

    Fig 9: Inspecting EFI Fuse
    G04472279Courtesy of © TOYOTA, LICENSE AGREEMENT TMS1002

    OK : GO TO NEXT STEP 

  9. INSPECT INTEGRATION RELAY (EFI M RELAY) 
    1. Remove the integration relay from the engine room relay block.
    2. Inspect the EFI M relay.

      Standard resistance 

      TESTER CONNECTION AND SPECIFIED CONDITION

      Tester Connection Specified Condition
      3K-1 - 3I-8 10 kΩ or higher
      3K-1 - 3I-8 Below 1 Ω
      (Apply battery voltage to terminals 3I-6 and 3I-7)
    3. Reinstall the integration relay.

    NG : REPLACE INTEGRATION RELAY 

    Fig 10: Inspecting EFI M Relay
    G04472280Courtesy of © TOYOTA, LICENSE AGREEMENT TMS1002

    OK : GO TO NEXT STEP 

  10. CHECK HARNESS AND CONNECTOR (EFI M RELAY - ECM, EFI M RELAY - BODY GROUND) 
    1. Check the harness and connectors between the EFI M relay and ECM connector.
      1. Remove the integration relay from the engine room relay block.
        Fig 11: Removing Integration Relay From Engine Room Relay Block
        G04472281Courtesy of © TOYOTA, LICENSE AGREEMENT TMS1002
      2. Disconnect the E7 ECM connector.
      3. Measure the resistance between the wire harness side connectors.

        Standard resistance (Check for open) 

        TESTER CONNECTION AND SPECIFIED CONDITION

        Tester Connection Specified Condition
        3I-6 (EFI M relay) - E7-7 (MREL) Below 1 Ω

        Standard resistance (Check for short) 

        Fig 12: Identifying E7 ECM Connector Terminal
        G04472282Courtesy of © TOYOTA, LICENSE AGREEMENT TMS1002
        TESTER CONNECTION AND SPECIFIED CONDITION

        Tester Connection Specified Condition
        3I-6 (EFI M relay) or E7-7 (MREL) - Body ground 10 kΩ or higher
      4. Reinstall the integration relay.
      5. Reconnect the ECM connector.
    2. Check the harness and the connectors between the EFI M relay and the body ground.
      1. Remove the integration relay from the engine room relay block.
      2. Measure the resistance between the wire harness side connector and the body ground.

        Standard resistance (Check for open) 

        TESTER CONNECTION AND SPECIFIED CONDITION

        Tester Connection Specified Condition
        3I-7 (EFI M relay) - Body ground Below 1 Ω
      3. Reinstall the integration relay.

    NG : REPAIR OR REPLACE HARNESS AND CONNECTOR 

    OK : CHECK AND REPAIR HARNESS AND CONNECTOR (TERMINAL +B OF ECM - BATTERY POSITIVE TERMINAL)