LEMON Manuals: Even more car manuals for everyone: 1960-2025
Home >> Toyota >> 2006 >> Prius >> Repair and Diagnosis >> Transmission >> Automatic Trans >> Automatic Transmission >> Generator Cable >> Installation
April 5, 2026: LEMON Manuals is launched! Read the announcement.

Generator Cable: Installation

  1. INSTALL GENERATOR CABLE 
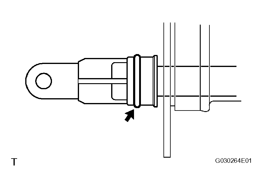
    1. Apply a small amount of ATF WS to the generator cable's O-ring.
      Fig 1: Identifying Generator Cable O-Ring
      G04474290Courtesy of © TOYOTA, LICENSE AGREEMENT TMS1002
    2. Connect the generator cable as shown in the illustration.
      NOTE:
      • Align the letters U, V and W, and connect the cable.
      • Ensure that no foreign objects are attached to the O-ring when connecting the cables.
        Fig 2: Connecting Generator Cable
        G04474291Courtesy of © TOYOTA, LICENSE AGREEMENT TMS1002
    3. Install the generator cable (terminals) with the 3 bolts.

      Torque: 8.5 N*m (87 kgf*cm, 71 in.*lbf) 

      Fig 3: Installing Generator Cable Terminals
      G04474292Courtesy of © TOYOTA, LICENSE AGREEMENT TMS1002
    4. Install the generator cable with the 2 bolts.

      Torque: 5.8 N*m (59 kgf*cm, 51 in.*lbf) 

      Fig 4: Installing Generator Cable
      G04474293Courtesy of © TOYOTA, LICENSE AGREEMENT TMS1002
    5. Apply seal packing in a continuous line of beads (diameter 1.5 mm (0.059 in.) to the power cable cover.

      Seal packing: Toyota Genuine Seal Packing 1281, Three Bond 1281 or Equivalent 

      NOTE:
      • Clean and degrease the installation surfaces.
      • Install within 10 minutes of applying seal packing.
      • Ensure that no foreign objects are inserted when the power cable cover is attached.
        Fig 5: Apply Seal Packing To Power Cable Cover
        G04474294Courtesy of © TOYOTA, LICENSE AGREEMENT TMS1002
    6. Install the power cable cover with the 4 bolts.

      Torque: 4.8 N*m (49 kgf*cm, 42 in.*lbf) 

  2. INSTALL INVERTER WITH CONVERTER ASSEMBLY 
    1. Install the inverter with converter (see INSTALLATION ).
  3. INSTALL FRONT COWL TOP PANEL OUTER SUB-ASSEMBLY 
    1. Install the cowl top front panel (See INSTALLATION ).
  4. INSTALL ENGINE UNDER COVER RH 
    Fig 6: Installing Power Cable Cover
    G04474295Courtesy of © TOYOTA, LICENSE AGREEMENT TMS1002
  5. INSTALL ENGINE UNDER COVER LH 
  6. INSTALL SERVICE PLUG GRIP 
    1. Install the service plug grip (See INSTALLATION ).
  7. CONNECT CABLE TO NEGATIVE BATTERY TERMINAL 
  8. ADD COOLANT 
    1. Add coolant (see COOLANT  ).
  9. CHECK FOR ENGINE COOLANT LEAKS 
    1. Check for engine coolant leaks (See ON-VEHICLE INSPECTION ).
  10. PERFORM INITIALIZATION 
    1. Perform initialization (see INITIALIZATION ).
      NOTE: Certain systems need to be initialized after disconnecting and reconnecting the cable from the negative (-) battery terminal.