LEMON Manuals: Even more car manuals for everyone: 1960-2025
Home >> Toyota >> 2006 >> RAV4 Base, 2.4 D, AWD >> Repair and Diagnosis >> External Pages >> Different variant/trim >> Section 2 (Engine Control System (2GR-FE)) >> SFI System >> DTC P2610 ECM / PCM Internal Engine Off Timer Performance >> Description
April 5, 2026: LEMON Manuals is launched! Read the announcement.

DTC P2610 ECM / PCM Internal Engine Off Timer Performance: Description

WARNING: This page is about a different variant/trim than selected.

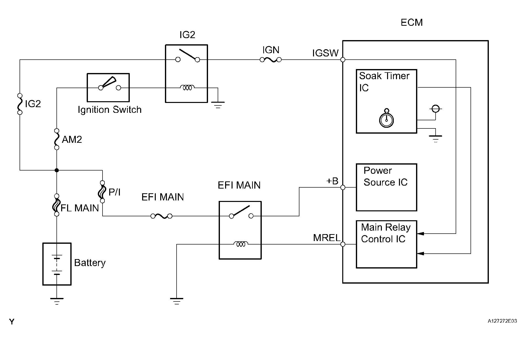
To ensure the accuracy of the EVAP (Evaporative Emission) monitor values, the soak timer, which is built into the ECM, measures 5 hours (+-15 minutes) from when the ignition switch is turned OFF, before the monitor is run. This allows the fuel to cool down, which stabilizes the EVAP pressure. When 5 hours have elapsed, the ECM turns on.

Fig 1: Description - ECM / PCM Internal Engine OFF Timer Performance Circuit
G04484443Courtesy of © TOYOTA, LICENSE AGREEMENT TMS1002