LEMON Manuals: Even more car manuals for everyone: 1960-2025
Home >> Toyota >> 2006 >> Sienna CE >> Repair and Diagnosis >> Engine Performance >> Engine Control System (3MZ-FE) >> SFI System >> ACIS Control Circuit >> Inspection Procedure
April 5, 2026: LEMON Manuals is launched! Read the announcement.

Inspection Procedure

When using intelligent tester 

  1. PERFORM ACTIVE TEST USING INTELLIGENT TESTER (OPERATE VSV FOR IAC VALVE NO. 2) 
    1. Disconnect the vacuum hose.
    2. Connect the intelligent tester to the DLC3.
    3. Turn the ignition switch ON and push the intelligent tester main switch ON.
    4. Enter the following menus: DIAGNOSIS / ENHANCED OBD II / ACTIVE TEST / INTAKE CTL VSV1. Operate the VSV.
    5. Check the VSV operation when it is operated by the intelligent tester.

      Standard 

      OPERATE VSV FOR IAC VALVE NO. 2

      Tester Operation Specified Condition
      VSV is ON Air from port E flows out through port F
      VSV is OFF Air from port E flows out through the air filter
      Fig 1: Operating VSV For IAC Valve No. 2 (Using Intelligent Tester)
      G04493824Courtesy of © TOYOTA, LICENSE AGREEMENT TMS1002
    6. Reconnect the vacuum hose.

    OK: Go to step   4 

    NG: GO TO NEXT STEP 

  2. INSPECT VSV FOR IAC VALVE NO. 2 (OPERATION) 
    1. Check that air flows from port E to the air filter.

      OK: Air from port E flows out through the air filter. 

      Fig 2: Checking Air Flows From Port E To Air Filter
      G04493825Courtesy of © TOYOTA, LICENSE AGREEMENT TMS1002
    2. Apply the battery positive voltage across the terminals.
    3. Check that air flows from port E to port F.
      Fig 3: Checking Air Flows From Port E To Port F
      G04493826Courtesy of © TOYOTA, LICENSE AGREEMENT TMS1002

      OK: Air from port E flows out through port F. 

    NG: REPLACE VSV FOR IAC VALVE NO. 2 

    OK: GO TO NEXT STEP 

  3. CHECK HARNESS AND CONNECTOR (VSV - ECM, VSV - EFI RELAY) 
    1. Check the wire harness between the VSV and the ECM.
      1. Disconnect the V1 VSV connector.
      2. Disconnect the E8 ECM connector.
      3. Check the resistance.

        Standard resistance 

        Fig 4: Checking Wire Harness Between VSV And ECM
        G04493827Courtesy of © TOYOTA, LICENSE AGREEMENT TMS1002
        VSV AND ECM

        Tester Connection Specified Condition
        V1-2 - E8-15 (ACIS) Below 1 Ω
        V1-2 or E8-15 (ACIS) - Body ground 10 kΩ or higher
      4. Reconnect the VSV connector.
      5. Reconnect the ECM connector.
    2. Check the wire harness between the VSV and EFI relay.
      1. Disconnect the V1 VSV connector.
      2. Remove the EFI relay from the engine room J/B.
      3. Check the resistance.

        Standard resistance 

        VSV AND EFI RELAY

        Tester Connection Specified Condition
        V1-1 - J/B EFI relay terminal 3 Below 1 Ω
        Fig 5: Checking Wire Harness Between VSV And EFI Relay
        G04493828Courtesy of © TOYOTA, LICENSE AGREEMENT TMS1002
      4. Reconnect the VSV connector.
      5. Reinstall the EFI relay.

    NG: REPAIR OR REPLACE HARNESS OR CONNECTOR 

    OK: GO TO NEXT STEP 

  4. CHECK VACUUM HOSES (IAC VALVE NO. 2 - INTAKE MANIFOLD, VSV FOR IAC VALVE NO. 2) 
    1. Check that the vacuum hoses are:
      • Connected correctly.
      • Are not loose or disconnected.
      • Do not have cracks, holes or damage.

    NG: REPAIR OR REPLACE VACUUM HOSES 

    OK: GO TO NEXT STEP 

  5. INSPECT INTAKE AIR CONTROL VALVE NO. 2 
    1. Remove the intake air control valve No. 2.
    2. With 26.7 kPa (200 mmHg, 7.9 in.Hg) of vacuum applied to the actuator, check that the actuator rod moves.

      OK: Actuator rod moves. 

    3. One minute after applying the vacuum, check that the actuator rod does not return.

      OK: Actuator rod does not return. 

    4. Reinstall the intake air control valve No. 2.
      Fig 6: Inspecting Intake Air Control Valve No. 2
      G04493829Courtesy of © TOYOTA, LICENSE AGREEMENT TMS1002

    NG: REPLACE INTAKE AIR CONTROL VALVE NO. 2 

    OK: REPLACE ECM 

When not using intelligent tester 

  1. INSPECT VSV FOR IAC VALVE NO. 2 (OPERATION) 
    1. Check that air flows from port E to the air filter.

      OK: Air from port E flows out through the air filter. 

      Fig 7: Checking Air Flows From Port E To Air Filter
      G04493830Courtesy of © TOYOTA, LICENSE AGREEMENT TMS1002
    2. Apply the battery positive voltage across the terminals.
    3. Check that air flows from port E to port F.

      OK: Air from port E flows out through port F. 

      Fig 8: Checking Air Flows From Port E To Port F
      G04493831Courtesy of © TOYOTA, LICENSE AGREEMENT TMS1002

    NG: REPLACE VSV FOR IAC VALVE NO. 2 

    OK: GO TO NEXT STEP 

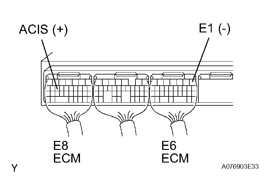
  2. CHECK ECM (ACIS VOLTAGE) 
    1. Start the engine.
    2. Measure the voltage of the ECM connectors.

      Standard voltage 

      ECM (ACIS VOLTAGE)

      Tester Connection Condition Specified Condition
      E8-15 (ACIS) - E6-1 (E1)
      • Engine speed is 4,000 rpm or less
      • Throttle valve opening angle is 30° or more
      9 to 14 V
      Fig 9: Checking ECM (ACIS Voltage)
      G04493832Courtesy of © TOYOTA, LICENSE AGREEMENT TMS1002

    OK: Go to step   4 

    NG: GO TO NEXT STEP 

  3. CHECK HARNESS AND CONNECTOR (VSV - ECM, VSV - EFI RELAY) 
    1. Check the wire harness between the VSV and the ECM.
      1. Disconnect the V1 VSV connector.
      2. Disconnect the E8 ECM connector.
      3. Check the resistance.

        Standard resistance 

        VSV AND ECM

        Tester Connection Specified Condition
        V1-2 - E8-15 (ACIS) Below 1 Ω
        V1-2 or E8-15 (ACIS) - Body ground 10 kΩ or higher
        Fig 10: Checking Wire Harness Between VSV And ECM
        G04493833Courtesy of © TOYOTA, LICENSE AGREEMENT TMS1002
      4. Reconnect the VSV connector.
      5. Reconnect the ECM connector.
    2. Check the wire harness between the VSV and EFI relay.
      1. Disconnect the V1 VSV connector.
      2. Remove the EFI relay from the engine room J/B.
      3. Check the resistance.

        Standard resistance 

        VSV AND EFI RELAY

        Tester Connection Specified Condition
        V1-1 - J/B EFI relay terminal 3 Below 1 Ω
        Fig 11: Checking Wire Harness Between VSV And EFI Relay
        G04493834Courtesy of © TOYOTA, LICENSE AGREEMENT TMS1002
      4. Reconnect the VSV connector.
      5. Reinstall the EFI relay.

    NG: REPAIR OR REPLACE HARNESS OR CONNECTOR 

    OK: GO TO NEXT STEP 

  4. CHECK VACUUM HOSES (IAC VALVE NO. 2 - INTAKE MANIFOLD, VSV FOR IAC VALVE NO. 2) 
    1. Check that the vacuum hoses are:
      • Connected correctly.
      • Are not loose or disconnected.
      • Do not have cracks, holes or damage.

    NG: REPAIR OR REPLACE VACUUM HOSES 

    OK: GO TO NEXT STEP 

  5. INSPECT INTAKE AIR CONTROL VALVE NO. 2 
    1. Remove the intake air control valve No. 2.
    2. With 26.7 kPa (200 mmHg, 7.9 in.Hg) of vacuum applied to the actuator, check that the actuator rod moves.

      OK: Actuator rod moves. 

    3. One minute after applying the vacuum, check that the actuator rod does not return.

      OK: Actuator rod does not return. 

    4. Reinstall the intake air control valve No. 2.
    Fig 12: Inspecting Intake Air Control Valve No. 2
    G04493835Courtesy of © TOYOTA, LICENSE AGREEMENT TMS1002

    NG: REPLACE INTAKE AIR CONTROL VALVE NO.2 

    OK: REPLACE ECM