LEMON Manuals: Even more car manuals for everyone: 1960-2025
Home >> Toyota >> 2006 >> Sienna CE >> Repair and Diagnosis >> Engine Performance >> Engine Control System (3MZ-FE) >> SFI System >> Air Intake Control Circuit >> Inspection Procedure
April 5, 2026: LEMON Manuals is launched! Read the announcement.

Inspection Procedure

When using intelligent tester 

  1. PERFORM ACTIVE TEST USING INTELLIGENT TESTER (VSV FOR IAC VALVE NO. 3) 
    1. Turn the ignition switch ON and push the intelligent tester main switch ON.
    2. Enter the following menus: DIAGNOSIS / ENHANCED OBD II / ACTIVE TEST / AICV VSV. Operate the VSV.
    3. Check the operation of the VSV when the VSV is operated by the intelligent tester.

      Standard 

      VSV FOR IAC VALVE NO. 3

      Tester Operation Specified Condition
      VSV is ON Air from port E flows out through port F
      VSV is OFF Air from port E flows out through the air filter
      Fig 1: VSV Fro IAC Valve No. 3 (Using Intelligent Tester)
      G04493838Courtesy of © TOYOTA, LICENSE AGREEMENT TMS1002

    OK: Go to step   4 

    NG: GO TO NEXT STEP 

  2. INSPECT VSV FOR IAC VALVE NO. 3 (OPERATION) 
    1. Check that air flows from port E to the filter.

      OK: Air from port E flows out through the filter. 

      Fig 2: Checking Air Flows From Port E To Filter
      G04493839Courtesy of © TOYOTA, LICENSE AGREEMENT TMS1002
    2. Apply the battery voltage across the terminals.
    3. Check that air flows from port E to port F.

      OK: Air from port E flows out through port F. 

      Fig 3: Checking Air Flows Form Port E To Port F
      G04493840Courtesy of © TOYOTA, LICENSE AGREEMENT TMS1002

    NG: REPLACE VSV FOR IAC VALVE NO. 3 

    OK: GO TO NEXT STEP 

  3. CHECK HARNESS AND CONNECTOR (VSV - ECM, VSV - EFI RELAY) 
    1. Check the wire harness between the VSV and ECM.
      1. Disconnect the V2 VSV for IAC valve No. 3 connector.
      2. Disconnect the E8 ECM connector.
      3. Check the resistance.

        Standard resistance 

        VSV AND ECM

        Tester Connection Specified Condition
        V2-2 - E8-33 (AICV) Below 1 Ω
        V2-2 or E8-33 (AICV) - Body ground 10 kΩ or higher
        Fig 4: Checking Wire Harness Between VSV And ECM
        G04493841Courtesy of © TOYOTA, LICENSE AGREEMENT TMS1002
      4. Reconnect the VSV for IAC valve No. 3 connector.
      5. Reconnect the ECM connector.
    2. Check the wire harness between the VSV and the EFI relay.
      1. Disconnect the V2 VSV for IAC valve No. 3 connector.
      2. Remove the EFI relay from the engine room J/B.
      3. Check the resistance.

        Standard resistance 

        VSV AND EFI RELAY

        Tester Connection Specified Condition
        V2-1 (VSV for AICV) - J/B EFI relay terminal 3 Below 1 Ω
        Fig 5: Checking Wire Harness Between VSV And EFI Relay
        G04493842Courtesy of © TOYOTA, LICENSE AGREEMENT TMS1002
      4. Reconnect the VSV for IAC valve No. 3 connector.
      5. Reinstall the EFI relay.

    NG: REPAIR OR REPLACE HARNESS OR CONNECTOR 

    OK: GO TO NEXT STEP 

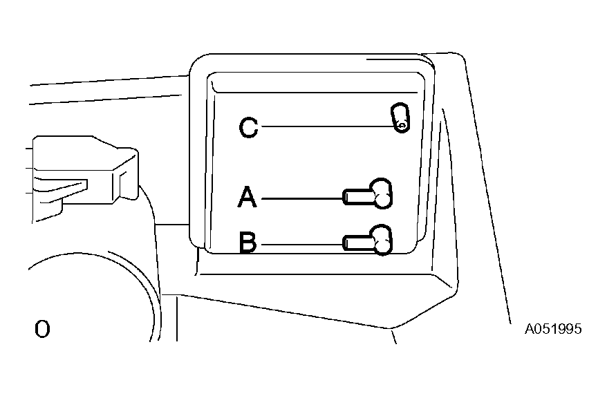
  4. INSPECT VACUUM TANK 
    1. Cover port C with finger, and check that air flows from port B to port A.

      OK: Air from port B flows out through port A. 

    2. Cover port C with finger, and check that air does not flow from port A to port B.

      OK: Air from port A does not flow out through port B. 

    3. Cover ports A and C with fingers, and apply 60 kPa (450 mmHg, 18 in.Hg) of vacuum to port B, and check that there is no change in vacuum after one minute.

      OK: Vacuum does not change. 

      Fig 6: Inspecting Vacuum Tank
      G04493843Courtesy of © TOYOTA, LICENSE AGREEMENT TMS1002

    NG: REPLACE VACUUM TANK 

    OK: REPLACE ECM 

When not using intelligent tester 

  1. INSPECT VSV FOR IAC VALVE NO. 3 (OPERATION) 
    1. Check that air flows from port E to the filter.

      OK: Air from port E flows out through the filter. 

      Fig 7: Checking Air Flows From Port E To Filter
      G04493844Courtesy of © TOYOTA, LICENSE AGREEMENT TMS1002
    2. Apply the battery voltage across the terminals.
    3. Check that air flows from port E to port F.

      OK: Air from port E flows out through port F. 

      Fig 8: Checking Air Flows From Port E To Port F
      G04493845Courtesy of © TOYOTA, LICENSE AGREEMENT TMS1002

    NG: REPLACE VSV FOR IAC VALVE NO. 3 

    OK: GO TO NEXT STEP 

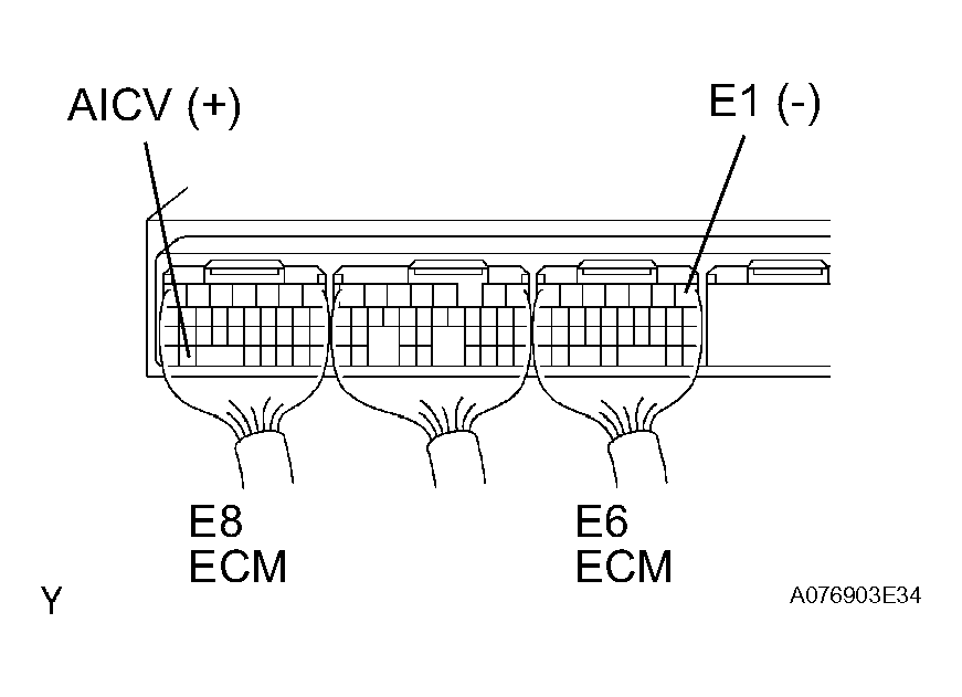
  2. CHECK ECM (AICV VOLTAGE) 
    1. Turn the ignition switch ON.
    2. Measure the voltage of the ECM connectors.

      Standard voltage 

      ECM (AICV VOLTAGE)

      Tester Connection Specified Condition
      E8-33 (AICV) - E6-1 (E1) 9 to 14 V
      Fig 9: Checking ECM (AICV Voltage)
      G04493846Courtesy of © TOYOTA, LICENSE AGREEMENT TMS1002

    NG: REPAIR OR REPLACE HARNESS OR CONNECTOR 

    OK: GO TO NEXT STEP 

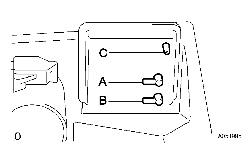
  3. INSPECT VACUUM TANK 
    1. Cover port C with finger, and check that air flows from port B to port A.

      OK: Air from port B flows out through port A. 

    2. Cover port C with finger, and check that air does not flow from port A to port B.

      OK: Air from port A does not flow out through port B. 

    3. Cover ports A and C with fingers, and apply 60 kPa (450 mmHg, 18 in.Hg) of vacuum to port B, and check that there is no change in vacuum after one minute.

      OK: Vacuum does not change. 

      Fig 10: Inspecting Vacuum Tank
      G04493847Courtesy of © TOYOTA, LICENSE AGREEMENT TMS1002

    NG: REPLACE VACUUM TANK 

    OK: GO TO NEXT STEP 

  4. CHECK HARNESS AND CONNECTOR (VSV - ECM, VSV - EFI RELAY) 
    1. Check the wire harness between the VSV and ECM.
      1. Disconnect the V2 VSV for IAC valve No. 3 connector.
      2. Disconnect the E8 ECM connector.
      3. Check the resistance.

        Standard resistance 

        VSV AND ECM

        Tester Connection Specified Condition
        V2-2 - E8-33 (AICV) Below 1 Ω
        V2-2 or E8-33 (AICV) - Body ground 10 kΩ or higher
        Fig 11: Checking Wire Harness Between VSV And ECM
        G04493848Courtesy of © TOYOTA, LICENSE AGREEMENT TMS1002
      4. Reconnect the VSV for IAC valve No. 3 connector.
      5. Reconnect the ECM connector.
    2. Check the wire harness between the VSV and the EFI relay.
      1. Disconnect the V2 VSV for IAC valve No. 3 connector.
      2. Remove the EFI relay from the engine room J/B.
      3. Check the resistance.

        Standard resistance 

        VSV AND EFI RELAY

        Tester Connection Specified Condition
        V2-1 (VSV for AICV) - J/B EFI relay terminal 3 Below 1 Ω
        Fig 12: Checking Wire Harness Between VSV And EFI Relay
        G04493849Courtesy of © TOYOTA, LICENSE AGREEMENT TMS1002
      4. Reconnect the VSV for IAC valve No. 3 connector.
      5. Reinstall the EFI relay.

    NG: REPAIR OR REPLACE HARNESS OR CONNECTOR 

    OK: REPLACE ECM