LEMON Manuals: Even more car manuals for everyone: 1960-2025
Home >> Toyota >> 2006 >> Sienna CE >> Repair and Diagnosis >> Engine Performance >> Engine Control System (3MZ-FE) >> SFI System >> Registration
April 5, 2026: LEMON Manuals is launched! Read the announcement.

SFI System: Registration

NOTE: The Vehicle Identification Number (VIN) must be input into the replacement ECM.

HINT:

The VIN is a 17-digit alphanumeric vehicle identification number. The intelligent tester is required to register the VIN.

  1. INPUT INSTRUCTIONS 
    1. Explains the general VIN input instructions using the intelligent tester.
    2. intelligent tester

      The arrow buttons (UP, DOWN, RIGHT and LEFT) and numerical buttons (0 to 9) are used to input the VIN.

    3. Cursor Operation

      To move the cursor around the tester screen, press the RIGHT and LEFT buttons.

    4. Alphabetical Character Input
      1. Press the UP and DOWN buttons to select the desired alphabetical character.
      2. After selection, the cursor should move.
    5. Numeric Character Input
      1. Press the numerical button corresponding to the number that you want to input.
      2. After input, the cursor should move.

        HINT:

        Numerical characters can be selected by using the UP and DOWN buttons.

    6. Correction
      1. When correcting the input character(s), put the cursor onto the character using the RIGHT or LEFT buttons.
      2. Select or input the correct character using the UP/DOWN buttons, or the numerical buttons.
    7. Finishing Input Operation
      1. Make sure that the input VIN matches the vehicle VIN after input.
      2. Press the ENTER button on the tester.
  2. READ VIN 
    1. Explains the VIN reading process in a flowchart. Reading the VIN stored in the ECM is necessary when comparing it to the VIN provided with the vehicle.
    2. Read the VIN using the intelligent tester.
    3. Check the vehicle's VIN.
    4. Connect the intelligent tester to the DLC3.
    5. Turn the ignition switch to ON.
    6. Turn the tester ON.
    7. Enter the following menus: DIAGNOSIS / ENHANCED OBD II / VIN.
      Fig 1: Diagnosis/Enhances OBD II/VIN Menu Screen
      G04382309Courtesy of © TOYOTA, LICENSE AGREEMENT TMS1002
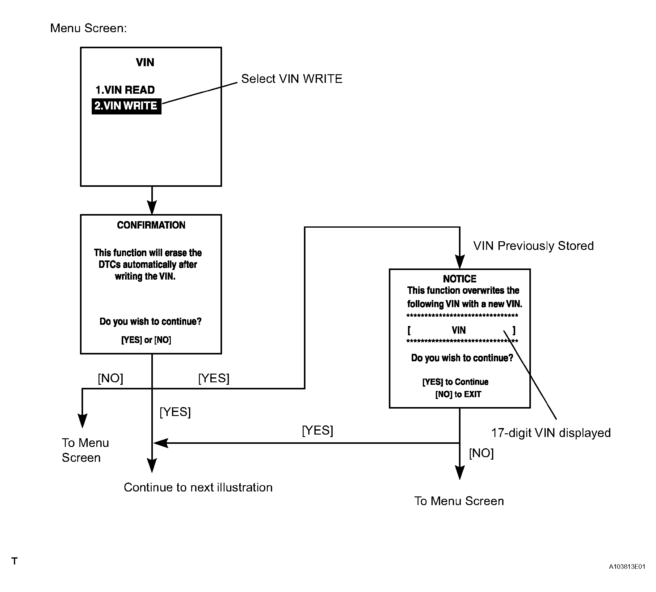
  3. WRITE VIN 
    1. Explains the VIN writing process in a flowchart. This process allows the VIN to be input into the ECM. If the ECM is changed, or the ECM VIN and Vehicle VIN do not match, the VIN can be registered, or overwritten in the ECM by following this procedure.
    2. Write the VIN using the intelligent tester.
    3. Connect the intelligent tester to the DLC3.
    4. Turn the ignition switch to ON.
    5. Turn the tester ON.
    6. Enter the following menus: DIAGNOSIS / ENHANCED OBD II / VIN.
      Fig 2: Diagnosis / Enhanced OBD II / VIN Display (1 Of 3)
      G04493470Courtesy of © TOYOTA, LICENSE AGREEMENT TMS1002
      Fig 3: Diagnosis / Enhanced OBD II / VIN Display (2 Of 3)
      G04493471Courtesy of © TOYOTA, LICENSE AGREEMENT TMS1002
      Fig 4: Diagnosis / Enhanced OBD II / VIN Display (3 Of 3)
      G04493472Courtesy of © TOYOTA, LICENSE AGREEMENT TMS1002