LEMON Manuals: Even more car manuals for everyone: 1960-2025
Home >> Toyota >> 2006 >> Sienna LE, AWD >> Repair and Diagnosis >> Engine Performance >> Engine Control System (3MZ-FE) >> SFI System >> Fuel Pump Control Circuit >> Inspection Procedure
April 5, 2026: LEMON Manuals is launched! Read the announcement.

Inspection Procedure

When using intelligent tester 

  1. PERFORM ACTIVE TEST USING INTELLIGENT TESTER (OPERATE C/OPN RELAY) 
    1. Connect the intelligent tester to the DLC3.
    2. Turn ON the ignition switch, push the intelligent tester main switch ON.
    3. Enter the following menus :DIAGNOSIS / ENHANCED OBD II / ACTIVE TEST / FUEL PUMP / SPD.
    4. Check the relay operation while operating it using the intelligent tester.

      Standard: Operating noise can be heard from the relay. 

    OK: Go to step   5 

    NG: GO TO NEXT STEP 

  2. INSPECT C/OPN RELAY 
    1. Remove the C/OPN relay from the engine room J/B.
    2. Measure the resistance of the C/OPN relay.

      Standard resistance 

      C/OPN RELAY

      Tester Connection Specified Condition
      3-5 10 kΩ or higher
      3-5 Below 1 Ω
      (When battery voltage is applied to terminals 1 and 2)
      Fig 1: Inspecting C/Opn Relay
      G04493807Courtesy of © TOYOTA, LICENSE AGREEMENT TMS1002
    3. Reinstall the C/OPN relay.

    NG: REPLACE C/OPN RELAY 

    OK: GO TO NEXT STEP 

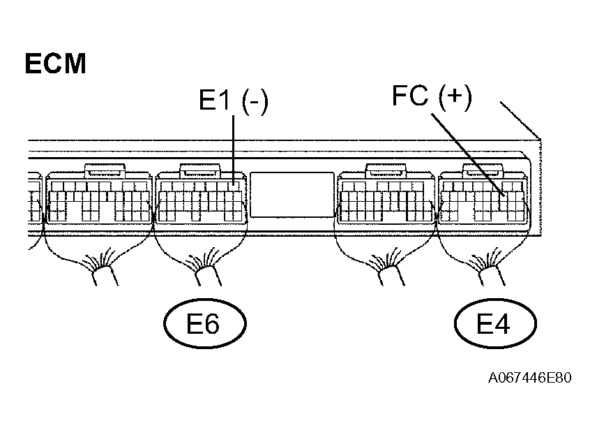
  3. CHECK ECM (FC VOLTAGE) 
    1. Turn the ignition switch ON.
    2. Measure the voltage of the ECM connectors.

      Standard voltage 

      ECM (FC VOLTAGE)

      Tester Connection Specified Condition
      E4-10 (FC) - E6-1 (E1) 9 to 14 V
      Fig 2: Checking ECM (FC Voltage)
      G04493808Courtesy of © TOYOTA, LICENSE AGREEMENT TMS1002

    OK: REPLACE ECM 

    NG: GO TO NEXT STEP 

  4. CHECK HARNESS AND CONNECTOR (ECM - C/OPN RELAY, C/OPN RELAY - IGNITION SWITCH) 
    1. Check the wire harness between the ECM and C/OPN relay.
      1. Disconnect the E4 ECM connector.
      2. Remove the C/OPN relay from the engine room J/B.
      3. Check the resistance.

        Standard resistance 

        ECM and C/OPN relay

        Tester Connection Specified Condition
        E4-10 (FC) - 1 of C/OPN relay Below 1 Ω
        E4-10 (FC) or 1 of C/OPN relay - Body ground 10 kΩ or higher
        Fig 3: Checking Wire Harness Between ECM And C/OPN Relay
        G04493809Courtesy of © TOYOTA, LICENSE AGREEMENT TMS1002
      4. Reconnect the ECM connector.
      5. Reinstall the C/OPN relay.
    2. Check the wire harness between the C/OPN relay and ignition switch.
      1. Check the IGN fuse.
        • Remove the IGN fuse from the driver side J/B.
        • Check the resistance of the IGN fuse.

          Standard resistance: Below 1 Ω 

        • Reinstall the IGN fuse.
      2. Remove the C/OPN relay from the engine room J/B.
      3. Disconnect the I15 ignition switch connector.
      4. Check the resistance.

        Standard resistance 

        C/OPN RELAY AND IGNITION SWITCH

        Tester Connection Specified Condition
        J/B C/OPN relay terminal 2 - I15-6 (IG2) Below 1 Ω
        J/B C/OPN relay terminal 2 or I15-6 (IG2) - Body ground 10 kΩ or higher
        Fig 4: Checking Wire Harness Between C/OPN Relay And Ignition Switch
        G04493810Courtesy of © TOYOTA, LICENSE AGREEMENT TMS1002
      5. Reinstall the C/OPN relay.
      6. Reconnect the ignition switch connector.

    NG: REPAIR OR REPLACE HARNESS OR CONNECTOR 

    OK: REPLACE ECM 

  5. INSPECT FUEL PUMP 
    1. Measure the resistance of the fuel pump.
      1. Measure the resistance between terminals 4 and 5.

        Standard resistance 

        FUEL PUMP

        Tester Connections Specified Condition
        4-5 0.2 to 0.3 Ω at 20°C (68°F)
        Fig 5: Inspecting Fuel Pump
        G04493811Courtesy of © TOYOTA, LICENSE AGREEMENT TMS1002
    2. Check operation of the fuel pump.
      1. Apply the battery voltage to both terminals. Check that the pump operates.
        NOTE:
        • These tests must be done quickly (within 10 seconds) to prevent the coil from burning out.
        • Keep the fuel pump as far away from the battery as possible.
        • Always turn ON and OFF the voltage on the battery side, not the fuel pump side.

    NG: REPLACE FUEL PUMP 

    OK: GO TO NEXT STEP 

  6. CHECK HARNESS AND CONNECTOR (C/OPN RELAY - FUEL PUMP, FUEL PUMP - BODY GROUND) 
    1. Check the wire harness between the C/OPN relay and fuel pump.
      1. Remove the C/OPN relay from the engine room J/B.
      2. Disconnect the F20 fuel pump connector.
      3. Check the resistance.

        Standard resistance 

        C/OPN RELAY AND FUEL PUMP

        Tester Connection Specified Condition
        J/B C/OPN relay terminal 3 - F20-4 Below 1 Ω
        J/B C/OPN relay terminal 3 or F20-4 - Body ground 10 kΩ or higher
        Fig 6: Checking Wire Harness Between C/OPN Relay And Fuel Pump
        G04493812Courtesy of © TOYOTA, LICENSE AGREEMENT TMS1002
      4. Reinstall the C/OPN relay.
      5. Reconnect the fuel pump connector.
    2. Check the wire harness between the fuel pump and body ground.
      1. Disconnect the F20 fuel pump connector.
      2. Check the resistance.

        Standard resistance 

        FUEL PUMP AND BODY GROUND

        Tester Connection Specified Condition
        F20-5 (Fuel pump) - Body ground Below 1 Ω
        Fig 7: Checking Wire Harness Between Fuel Pump And Body Ground
        G04493813Courtesy of © TOYOTA, LICENSE AGREEMENT TMS1002
      3. Reconnect the fuel pump connector.

    NG: REPAIR OR REPLACE HARNESS OR CONNECTOR 

    OK: REPLACE ECM 

When not using intelligent tester 

  1. CHECK FUEL PUMP OPERATION 
    1. Check if there is pressure in the fuel inlet hose.

      HINT:

      The pump has fuel pressure if the sound of fuel flowing can be heard.

    OK: PROCEED TO NEXT CIRCUIT INSPECTION SHOWN IN  PROBLEM SYMPTOMS TABLE  

    NG: GO TO NEXT STEP 

  2. CHECK RELAY OPERATION (C/OPN) 
    1. Connect terminal FC of the E4 ECM connector and body ground, and check the relay operation.

      Standard: Noise can be heard from the C/OPN relay. 

    Fig 8: Checking Relay Operation (C/OPN)
    G04493814Courtesy of © TOYOTA, LICENSE AGREEMENT TMS1002

    OK: Go to step   6 

    NG: GO TO NEXT STEP 

  3. INSPECT C/OPN RELAY 
    1. Remove the C/OPN relay from the engine room J/B.
    2. Measure the resistance of the C/OPN relay.

      Standard resistance 

      C/OPN RELAY

      Tester Connection Specified Condition
      3-5 10 kΩ or higher
      3-5 Below 1 Ω
      (When battery voltage is applied to terminals 1 and 2)
      Fig 9: Inspecting C/OPN Relay
      G04493815Courtesy of © TOYOTA, LICENSE AGREEMENT TMS1002
    3. Reinstall the C/OPN relay.

    NG: REPLACE C/OPN RELAY 

    OK: GO TO NEXT STEP 

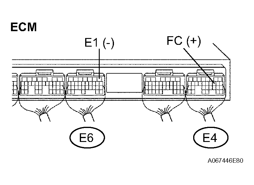
  4. CHECK ECM (FC VOLTAGE) 
    1. Turn the ignition switch ON.
    2. Measure the voltage of the ECM connectors.

      Standard voltage 

      ECM (FC VOLTAGE)

      Tester Connection Specified Condition
      E4-10 (FC) - E6-1 (E1) 9 to 14 V
      Fig 10: Checking ECM (FC Voltage)
      G04493816Courtesy of © TOYOTA, LICENSE AGREEMENT TMS1002

    NG: REPLACE ECM 

    OK: GO TO NEXT STEP 

  5. CHECK HARNESS AND CONNECTOR (ECM - C/OPN RELAY, C/OPN RELAY - IGNITION SWITCH) 
    1. Check the wire harness between the ECM and C/OPN relay.
      1. Disconnect the E4 ECM connector.
      2. Remove the C/OPN relay from the engine room J/B.
      3. Check the resistance.

        Standard resistance 

        ECM AND C/OPN RELAY

        Tester Connections Specified Condition
        E4-10 (FC) - 1 of C/OPN relay Below 1 Ω
        E4-10 (FC) or 1 of C/OPN relay - Body ground 10 kΩ or higher
        Fig 11: Checking Wire Harness Between ECM And C/OPN Relay
        G04493817Courtesy of © TOYOTA, LICENSE AGREEMENT TMS1002
      4. Reconnect the ECM connector.
      5. Reinstall the C/OPN relay.
    2. Check the wire harness between the C/OPN relay and ignition switch.
      1. Check the IGN fuse.
        • Remove the IGN fuse from the driver side J/B.
        • Check the resistance of the IGN fuse.

          Standard resistance: Below 1 Ω 

        • Reinstall the IGN fuse.
      2. Remove the C/OPN relay from the engine room J/B.
      3. Disconnect the I15 ignition switch connector.
      4. Check the resistance.

        Standard resistance 

        C/OPN RELAY AND IGNITION SWITCH

        Tester Connections Specified Condition
        J/B C/OPN relay terminal 2 - I15-6 (IG2) Below 1 Ω
        J/B C/OPN relay terminal 2 or I15-6 (IG2) - Body ground 10 kΩ or higher
        Fig 12: Checking Wire Harness Between C/OPN Relay And Ignition Switch
        G04493818Courtesy of © TOYOTA, LICENSE AGREEMENT TMS1002
      5. Reinstall the C/OPN relay.
      6. Reconnect the ignition switch connector.

    NG: REPAIR OR REPLACE HARNESS OR CONNECTOR 

    OK: REPLACE ECM 

  6. INSPECT FUEL PUMP 
    1. Measure the resistance of the fuel pump.
      1. Measure the resistance between terminals 4 and 5.

        Standard resistance 

        FUEL PUMP

        Tester Connection Specified Condition
        4-5 0.2 to 0.3 Ω at 20°C (68°F)
        Fig 13: Inspecting Fuel Pump
        G04493819Courtesy of © TOYOTA, LICENSE AGREEMENT TMS1002
    2. Check the operation of the fuel pump.
      1. Apply the battery voltage to both terminals. Check that the pump operates.
        NOTE:
        • These tests must be done quickly (within 10 seconds) to prevent the coil from burning out.
        • Keep the fuel pump as far away from the battery as possible.
        • Always turns ON and OFF the voltage on the battery side, not the fuel pump side.

    NG: REPLACE FUEL PUMP 

    OK: GO TO NEXT STEP 

  7. CHECK HARNESS AND CONNECTOR (C/OPN RELAY - FUEL PUMP, FUEL PUMP - BODY GROUND) 
    1. Check the wire harness between the C/OPN relay and fuel pump.
      1. Remove the C/OPN relay from the engine room J/B.
      2. Disconnect the F20 fuel pump connector.
      3. Check the resistance.

        Standard resistance 

        C/OPN RELAY AND FUEL PUMP

        Tester Connection Specified Condition
        J/B C/OPN relay terminal 3 - F20-4 Below 1 Ω
        J/B C/OPN relay terminal 3 or F20-4 - Body ground 10 kΩ or higher
        Fig 14: Checking Wire Harness Between C/OPN Relay And Fuel Pump
        G04493820Courtesy of © TOYOTA, LICENSE AGREEMENT TMS1002
      4. Reinstall the C/OPN relay.
      5. Reconnect the fuel pump connector.
    2. Check the wire harness between the fuel pump and body ground.
      1. Disconnect the F20 fuel pump connector.
      2. Check the resistance.

        Standard resistance 

        FUEL PUMP AND BODY GROUND

        Tester Connection Specified Condition
        F20-5 (Fuel pump) - Body ground Below 1 Ω
        Fig 15: Checking Wire Harness Between Fuel Pump And Body Ground
        G04493821Courtesy of © TOYOTA, LICENSE AGREEMENT TMS1002
      3. Reconnect the fuel pump connector.

    NG: REPAIR OR REPLACE HARNESS OR CONNECTOR 

    OK: REPLACE ECM