LEMON Manuals: Even more car manuals for everyone: 1960-2025
Home >> Toyota >> 2007 >> Avalon XL >> Repair and Diagnosis >> Engine Performance >> System >> Engine Control System - System And Circuit Testing, On-Vehicle Inspection, Removal, Inspection And Installation >> Active Control Engine Mount System >> Inspection Procedure
April 5, 2026: LEMON Manuals is launched! Read the announcement.

Inspection Procedure

  1. CHECK VACUUM HOSES 
    1. If the hose is damaged, replace the vacuum hose assembly.
    2. Check the air and vacuum hoses for looseness, disconnection and blockage.
    Fig 1: Intake Air Control Valve Actuator Flow Diagram
    G04996456Courtesy of TOYOTA MOTOR SALES, U.S.A., INC.

    NG: REPAIR OR REPLACE VACUUM HOSES 

    OK: Go to Next Step 

  2. CHECK VACUUM 
    1. Start the engine.
    2. Disconnect the vacuum hose from the air cleaner cap.
    3. Check that an unconnected port located on the vacuum tank applies suction to your finger.

      OK: 

      Vacuum pressure exists 

    4. Reconnect the vacuum hose.
    Fig 2: Disconnecting Vacuum Hose From Air Cleaner Cap
    G04973754Courtesy of TOYOTA MOTOR SALES, U.S.A., INC.

    NG: CHECK AND REPLACE VACUUM SOURCE AND HOSES 

    OK: Go to Next Step 

  3. INSPECT ECM 
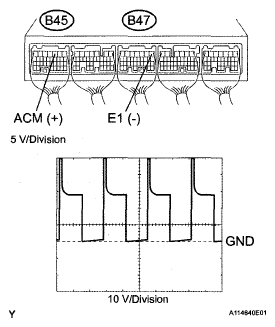
    1. Connect the oscilloscope between terminals ACM and E1 of the ECM connectors.
    2. Warm up the engine to normal operating temperature.
    3. Turn the A/C switch on.
    4. Measure the voltage between terminals ACM and E1 of the ECM connectors.

      Standard voltage 

      ECM TERMINALS VOLTAGE SPECIFICATION

      Condition Voltage
      Shift position is D, and engine speed is 850 rpm or less Pulse generation
      Shift position is D, and engine speed is 950 rpm or more 9 to 14 V
      Shift position Is P 9 to 14 V
    Fig 3: ECM Oscilloscope Voltage Waveform Graph
    G04996458Courtesy of TOYOTA MOTOR SALES, U.S.A., INC.

    OK:  Go to step  6

    NG: Go to Next Step 

  4. INSPECT DUTY VACUUM SWITCHING VALVE (RESISTANCE) 
    1. Disconnect the VSV for ACM connector.
    2. Measure the resistance between terminals 1 and 2.

      Standard resistance: 

      19 to 21 Ω at 20°C (68°F) 

    3. Reconnect the VSV for ACM connector.
    Fig 4: Identifying Duty Vacuum Switching Valve Connector Terminals
    G04996459Courtesy of TOYOTA MOTOR SALES, U.S.A., INC.

    NG: REPLACE DUTY VACUUM SWITCHING VALVE 

    OK: Go to Next Step 

  5. CHECK HARNESS AND CONNECTOR (VSV FOR ACM - ECM, VSV FOR ACM - EFI RELAY) 
    1. Check the wire harness between the VSV for ACM connector and the ECM connector.
      1. Disconnect the VSV for ACM connector.
      2. Disconnect the ECM connector.
      3. Measure the resistance according to the value(s) in the table below.

        Standard resistance (Check for open) 

        TESTER CONNECTION SPECIFIED CONDITION

        Tester Connections Specified Conditions
        VSV for ACM (B15-2) - ACM (B45-3) Below 1 Ω

        Standard resistance (Check for open) 

        TESTER CONNECTION SPECIFIED CONDITION

        Tester Connections Specified Conditions
        VSV for ACM (B15-2) or ACM (B45-3) - Body ground 10 kΩ or higher
      4. Reconnect the ECM connector.
    2. Check the wire harness between the VSV for ACM and the EFI relay.
      1. Remove the engine room junction block.
      2. Measure the resistance between the wire harness side connectors.

        Standard resistance (Check for open) 

        TESTER CONNECTION SPECIFIED CONDITION

        Tester Connections Specified Conditions
        VSV for ACM (B15-1) - Engine room junction block (EFI relay) (1D-5) Below 1 Ω
      3. Reconnect the VSV for ACM connector.
      4. Reinstall the engine room junction block.
    Fig 5: Identifying Engine Room Junction Block And VSV For ACM Connector Terminals
    G04996460Courtesy of TOYOTA MOTOR SALES, U.S.A., INC.

    NG: REPAIR OR REPLACE HARNESS OR CONNECTOR 

    OK: REPLACE ECM 

  6. INSPECT DUTY VACUUM SWITCHING VALVE (OPERATION) 
    1. Remove the VSV for ACM.
    2. Check operation of the VSV for ACM when positive battery voltage is applied to the terminals of the VSV for ACM connector.

      Positive battery voltage is not applied: 

      The air from pipe G is flowing out through pipes E and H. 

      Positive battery voltage is applied: 

      The air from pipe F is flowing out through pipes E and H. 

    3. Reinstall the VSV for ACM.

    NG: REPLACE DUTY VACUUM SWITCHING VALVE 

    OK: Go to Next Step 

    Fig 6: Inspecting Duty Vacuum Switching Valve Operation
    G04973755Courtesy of TOYOTA MOTOR SALES, U.S.A., INC.
  7. INSPECT ENGINE MOUNTING INSULATOR ASSEMBLY FRONT 
    1. Disconnect the vacuum hose from the front engine mount insulator.
    2. Using a vacuum pump, apply vacuum of 80 kPa (600 mmHg, 25 in.Hg) and wait for 1 minute.
    3. Check that there is no change in the needle movement of the vacuum pump gauge.
    4. Check that there is no fluid leakage caused by a break in the diaphragm.

      OK: 

      Vacuum pressure exists 

    5. Reconnect the vacuum hose.
    Fig 7: Inspecting Engine Mounting Insulator Assembly Front
    G04973757Courtesy of TOYOTA MOTOR SALES, U.S.A., INC.

    NG: REPLACE ENGINE MOUNTING INSULATOR ASSEMBLY FRONT 

    OK: SYSTEM OK