LEMON Manuals: Even more car manuals for everyone: 1960-2025
Home >> Toyota >> 2007 >> FJ Cruiser 4WD, Part Time >> Repair and Diagnosis >> Engine Performance >> Tune-Up >> Engine Ignition System >> Ignition System >> System Diagram
April 5, 2026: LEMON Manuals is launched! Read the announcement.

System Diagram

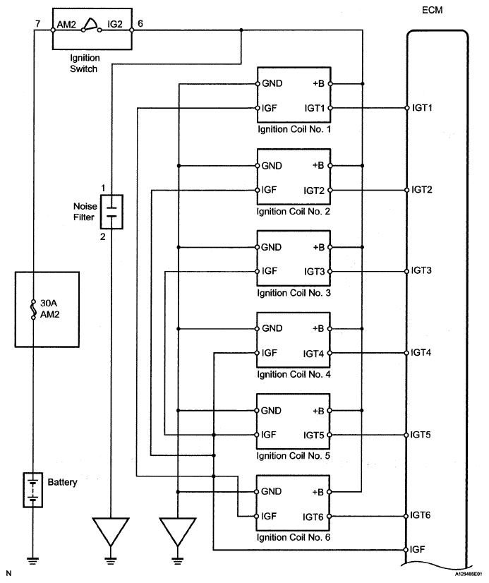
Fig 1: Identifying Ignition System Diagram (1 Of 2)
G05109911Courtesy of © TOYOTA, LICENSE AGREEMENT TMS1002
Fig 2: Identifying Ignition System Diagram (2 Of 2)
G05109912Courtesy of © TOYOTA, LICENSE AGREEMENT TMS1002