LEMON Manuals: Even more car manuals for everyone: 1960-2025
Home >> Toyota >> 2007 >> Land Cruiser >> Repair and Diagnosis >> Body & Frame >> Windows >> Windshield/Window Glass >> Power Window Regulator Motor >> Inspection
April 5, 2026: LEMON Manuals is launched! Read the announcement.

Power Window Regulator Motor: Inspection

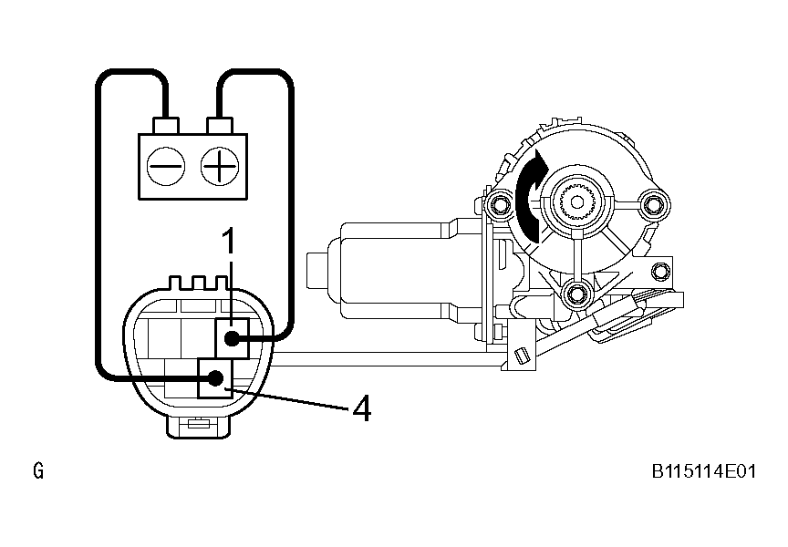
  1. INSPECT FRONT POWER WINDOW REGULATOR MOTOR ASSEMBLY LH AND REAR POWER WINDOW REGULATOR MOTOR ASSEMBLY RH (POWER WINDOW MOTOR) 
    1. Connect the battery positive (+) lead to terminal 1 and the battery negative (-) lead to terminal 4, and check that the motor turns counterclockwise.
      Fig 1: Inspecting Front Power Window Regulator Motor Assembly LH
      G04443754Courtesy of © TOYOTA, LICENSE AGREEMENT TMS1002
    2. Reverse the polarity, and check that the motor turns clockwise.

      If the result is not as specified, replace the motor assembly.

      Fig 2: Inspecting Rear Power Window Regulator Motor Assembly RH
      G04443755Courtesy of © TOYOTA, LICENSE AGREEMENT TMS1002
  2. INSPECT FRONT POWER WINDOW REGULATOR MOTOR ASSEMBLY RH AND REAR POWER WINDOW REGULATOR MOTOR ASSEMBLY LH (POWER WINDOW MOTOR) 
    1. Connect the battery positive (+) lead to terminal 4 and the battery negative (-) lead to terminal 1, and check that the motor turns clockwise.
      Fig 3: Inspecting Front Power Window Regulator Motor Assembly RH
      G04443756Courtesy of © TOYOTA, LICENSE AGREEMENT TMS1002
    2. Reverse the polarity, and check that the motor turns counterclockwise.

      If the result is not as specified, replace the motor assembly.

      Fig 4: Inspecting Rear Power Window Regulator Motor Assembly LH (2 Of 2)
      G04443757Courtesy of © TOYOTA, LICENSE AGREEMENT TMS1002
  3. INSPECT POWER WINDOW REGULATOR MOTOR ASSEMBLY (PTC THERMISTOR) 
    1. Disconnect the connector from the power window regulator motor assembly.
    2. Connect the positive (+) lead from the ammeter to terminal 1 on the wire harness side connector and the negative (-) lead to the negative terminal of the battery.
      Fig 5: Connecting Positive Lead From Ammeter To Terminal 1 & Negative Lead To Battery
      G04443758Courtesy of © TOYOTA, LICENSE AGREEMENT TMS1002
    3. Connect the positive (+) lead from the battery to terminal 4 on the wire harness side connector, and raise the window to the fully closed position.
    4. Continue to apply voltage and check that the current changes within 4 to 90 seconds.
    5. Disconnect the leads from the terminals.
    6. Approximately 60 seconds later, connect the positive (+) lead from the battery to terminal 1 and the negative (-) lead to terminal 4, and check that the window begins to descend.

      If the result is not as specified, replace the motor assembly.

      Fig 6: Connecting Positive Lead From Battery To Terminal 1 And Negative Lead To Terminal 4
      G04443759Courtesy of © TOYOTA, LICENSE AGREEMENT TMS1002
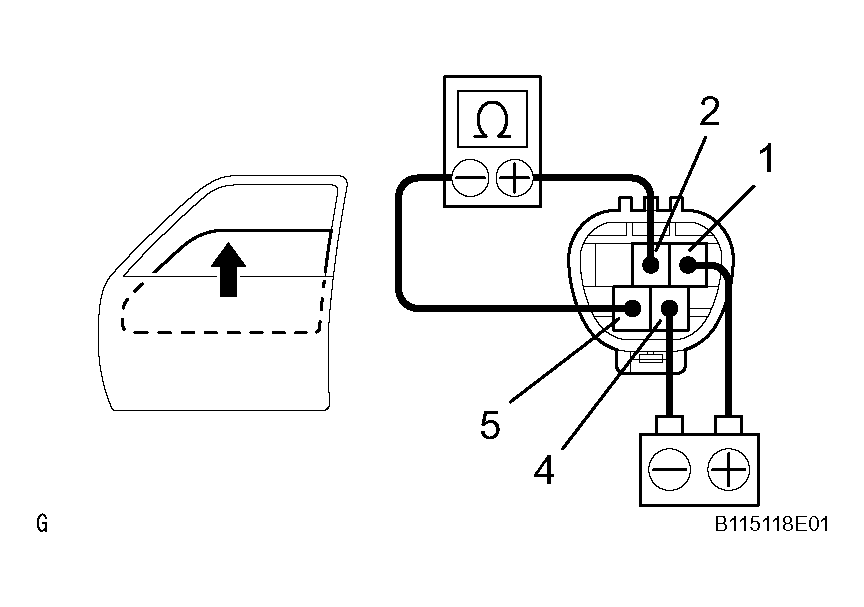
  4. INSPECT POWER WINDOW REGULATOR MOTOR ASSEMBLY (JAM PROTECTION LIMIT SWITCH) 
    1. Connect the positive (+) lead from the ohmmeter to terminal 2 and the negative (-) lead to terminal 5.
    2. Connect the positive (+) lead from the battery to terminal 1 and the negative (-) lead to terminal 4.
      Fig 7: Connecting Battery To Terminals
      G04443760Courtesy of © TOYOTA, LICENSE AGREEMENT TMS1002
    3. Check that continuity exists when the window goes up.
    4. Check that the no continuity exists when the window is in the fully closed position.

      If the result is not as specified, replace the motor assembly.

      NOTE: If the wire harness is connected wrongly, the sensor might be damaged so caution is necessary.
      Fig 8: Checking No Continuity Exists When Window Is Fully Closed
      G04443761Courtesy of © TOYOTA, LICENSE AGREEMENT TMS1002
  5. INSPECT POWER WINDOW REGULATOR MOTOR ASSEMBLY FRONT LH (JAM PROTECTION PULSE SWITCH) 
    1. Connect the positive (+) lead from the TOYOTA electrical tester to terminal 3 and the negative (-) lead to terminal 5.
      Fig 9: Connecting Electrical Tester To Terminals
      G04443762Courtesy of © TOYOTA, LICENSE AGREEMENT TMS1002
    2. Connect the positive (+) lead from the battery to terminal 1 and the negative (-) lead to terminal 4.
    3. Check that a pulse is generated while the motor is running.
    4. Reverse the polarity and check that a pulse is generated.

      If the result is not as specified, replace the motor assembly.

      NOTE: If the wire harness is connected wrongly, the sensor might be damaged so caution is necessary.
      Fig 10: Checking Pulse Is Generated
      G04443763Courtesy of © TOYOTA, LICENSE AGREEMENT TMS1002