LEMON Manuals: Even more car manuals for everyone: 1960-2025
Home >> Toyota >> 2007 >> Matrix Base, Automatic >> Repair and Diagnosis (Single Page) >> Transmission >> Automatic Trans >> Automatic Transmission - A246E >> Automatic Transaxle Assembly >> Installation
April 5, 2026: LEMON Manuals is launched! Read the announcement.

Automatic Transaxle Assembly: Installation

  1. INSTALL TORQUE CONVERTER CLUTCH ASSEMBLY 
    1. Install the torque converter clutch to the automatic transaxle.
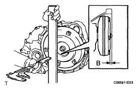
    2. Using vernier calipers, measure the dimension "A" between the transaxle fitting part of the engine and the converter fitting part of the drive plate (procedure "I").
      Fig 1: Measuring Dimension Between Transaxle Fitting Part Of Engine And Converter Fitting Part Of Drive Plate
      G05234059Courtesy of © TOYOTA, LICENSE AGREEMENT TMS1002
    3. Using vernier calipers and a straight edge, measure the dimension "B" shown in the illustration and check that "B" is greater than "A" measured in procedure "I".

      Standard: 

      A + 1 mm (0.04 in.) or more 

      NOTE: Remember to minus the thickness of the straight edge.
      Fig 2: Measuring Dimension B
      G05193716Courtesy of © TOYOTA, LICENSE AGREEMENT TMS1002
  2. INSTALL AUTOMATIC TRANSAXLE ASSEMBLY 
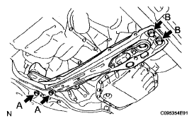
    1. Install the automatic transaxle and 6 bolts to the engine.

      Torque: Bolt A 

      64 N*m (650 kgf*cm, 47 ft.*lbf) 

      Bolt B 

      46 N*m (470 kgf*cm, 34 ft.*lbf) 

      Bolt C 

      23 N*m (235 kgf*cm, 17 ft.*lbf) 

      Fig 3: Identifying Automatic Transaxle Bolts
      G05193717Courtesy of © TOYOTA, LICENSE AGREEMENT TMS1002
    2. Install the 6 torque converter mounting bolts.

      Torque: 28 N*m (285 kgf*cm, 20 ft.*lbf) 

      HINT:

      First install the black colored bolt and then the remaining 5 bolts.

      Fig 4: Locating Torque Converter Mounting Bolts
      G05193713Courtesy of © TOYOTA, LICENSE AGREEMENT TMS1002
  3. INSTALL FLYWHEEL HOUSING UNDER COVER 
  4. INSTALL ENGINE MOUNTING MEMBER SUB-ASSEMBLY CENTER 
    1. Install the dynamic damper, member sub-assembly center with engine mounting insulator front and 4 bolts.

      Torque: Bolt A 

      52 N*m (530 kgf*cm, 38 ft.*lbf) 

      Bolt B 

      60 N*m (612 kgf*cm, 44 ft.*lbf) 

      Fig 5: Locating Dynamic Damper, Member Sub-Assembly Center Bolts
      G05193721Courtesy of © TOYOTA, LICENSE AGREEMENT TMS1002
  5. INSTALL ENGINE MOUNTING BRACKET REAR 
    1. Install the engine mounting bracket rear to the automatic transaxle with the 3 bolts.

      Torque: 64 N*m (652 kgf*cm, 47 ft.*lbf) 

      Fig 6: Locating Engine Mounting Bracket Bolts (Rear)
      G05193712Courtesy of © TOYOTA, LICENSE AGREEMENT TMS1002
  6. INSTALL ENGINE MOUNTING BRACKET FRONT 
    1. Install the engine mounting bracket front to the automatic transaxle with the 2 bolts.

      Torque: 64 N*m (652 kgf*cm, 47 ft.*lbf) 

      Fig 7: Locating Engine Mounting Bracket Bolts (Front)
      G05234055Courtesy of © TOYOTA, LICENSE AGREEMENT TMS1002
  7. INSTALL ENGINE MOUNTING INSULATOR REAR 
    1. Install the engine mounting insulator rear and bolt to the engine mounting bracket rear.

      Torque: 65 N*m (662 kgf*cm, 48 ft.*lbf) 

      Fig 8: Locating Engine Mounting Bracket Bolt (Rear)
      G05193707Courtesy of © TOYOTA, LICENSE AGREEMENT TMS1002
    2. Tighten the 3 nuts and bolt.

      Torque: 52 N*m (530 kgf*cm, 38 ft.*lbf) 

      Fig 9: Locating Engine Mounting Insulator Nuts And Bolt
      G05193723Courtesy of © TOYOTA, LICENSE AGREEMENT TMS1002
  8. INSTALL ENGINE MOUNTING BRACKET LH 
    1. Install the engine mounting bracket LH to the automatic transaxle with the 3 bolts.

      Torque: 52 N*m (530 kgf*cm, 38 ft.*lbf) 

      Fig 10: Locating Engine Mounting Bracket LH Bolts
      G05193706Courtesy of © TOYOTA, LICENSE AGREEMENT TMS1002
  9. INSTALL ENGINE MOUNTING INSULATOR LH 
    1. Install the engine mounting insulator LH with the 5 bolts and nut.

      Torque: Bolt 

      52 N*m (530 kgf*cm, 38 ft.*lbf) 

      Nut 

      80 N*m (815 kgf*cm, 59 ft.*lbf) 

      Fig 11: Locating Engine Mounting Insulator LH Bolts
      G05193725Courtesy of © TOYOTA, LICENSE AGREEMENT TMS1002
  10. INSTALL ENGINE MOUNTING INSULATOR FRONT 
    1. Install to the engine mounting bracket front with the bolt and nut.

      Torque: 52 N*m (530 kgf*cm, 38 ft.*lbf) 

      Fig 12: Locating Engine Mounting Bracket Bolt And Nut (Front)
      G05234053Courtesy of © TOYOTA, LICENSE AGREEMENT TMS1002
  11. INSTALL STARTER ASSEMBLY 
    1. Install the starter with the 2 bolts.

      Torque: 39 N*m (400 kgf*cm, 29 ft.*lbf) 

    2. Fig 13: Locating Starter Assembly Bolts
      G05193727Courtesy of © TOYOTA, LICENSE AGREEMENT TMS1002
    3. Connect the starter connector.
    4. Install the starter wire and nut.

      Torque: 9.8 N*m (100 kgf*cm, 7 ft.*lbf) 

    5. Close the terminal cover.
  12. INSTALL AUTOMATIC TRANSMISSION CASE PROTECTOR 
    1. Install the case protector with the 2 bolts.

      Torque: 18 N*m (182 kgf*cm, 14 ft.*lbf) 

  13. INSTALL FRONT DRIVE SHAFT ASSEMBLY LH 

    HINT:

    (See INSTALLATION )

  14. INSTALL FRONT DRIVE SHAFT ASSEMBLY RH 

    HINT:

    (See INSTALLATION )

  15. INSTALL EXHAUST PIPE ASSEMBLY FRONT 

    HINT:

    (See INSTALLATION )

  16. INSTALL ENGINE UNDER COVER LH 
  17. INSTALL ENGINE UNDER COVER RH 
  18. INSTALL FRONT WHEELS 

    Torque: 103 N*m (1,050 kgf*cm, 76 ft.*lbf) 

  19. INSTALL OXYGEN SENSOR CONNECTOR 
    1. Connect the oxygen sensor connector.
    2. Install the floor carpet and foot rest.
  20. INSTALL TRANSMISSION OIL FILLER TUBE SUB-ASSEMBLY 
    1. Temporarily install the oil cooler outlet tube No. 1.
    2. Temporarily install the oil cooler inlet tube No. 1.
    3. Coat a new O-ring with ATF, and install them to the oil filler tube.
    4. Install the oil filler tube to the automatic transaxle.
    5. Install the oil cooler tube clamp with the 2 bolts.

      Torque: 5.5 N*m (56 kgf*cm, 49 in.*lbf) 

      Fig 14: Locating Oil Cooler Tube Clamp Bolts
      G05193728Courtesy of © TOYOTA, LICENSE AGREEMENT TMS1002
    6. Install the ATF lever gauge.
  21. INSTALL OIL COOLER OUTLET TUBE NO.1 
    1. Tighten the oil cooler outlet tube No. 1.

      Torque: 35 N*m (350 kgf*cm, 25 ft.*lbf) 

  22. INSTALL OIL COOLER INLET TUBE NO.1 
    1. Tighten the oil cooler inlet tube No. 1.

      Torque: 35 N*m (350 kgf*cm, 25 ft.*lbf) 

    2. Fig 15: Locating Oil Cooler Inlet Tube
      G05193729Courtesy of © TOYOTA, LICENSE AGREEMENT TMS1002
  23. CONNECT CONNECTOR 
    1. Connect the transmission wire connector.
    2. Connect the park / neutral position switch connector.
    3. w/o ABS:

      Connect the speedometer sensor connector.

  24. INSTALL WIRE HARNESS 
    1. Install the wire harness clamp bracket with the bolt.

      Torque: 13 N*m (130 kgf*cm, 9 ft.*lbf) 

      Fig 16: Locating Wire Harness Clamp Bracket Bolt
      G05193700Courtesy of © TOYOTA, LICENSE AGREEMENT TMS1002
    2. Install the wire harness clamp bracket and 2 wire harnesses with the 3 bolts.

      Torque: Bolt A 

      26 N*m (260 kgf*cm, 19 ft.*lbf) 

      Bolt B 

      10 N*m (102 kgf*cm, 7 ft.*lbf) 

      Bolt C 

      13 N*m (132 kgf*cm, 10 ft.*lbf) 

  25. INSTALL TRANSMISSION CONTROL CABLE BRACKET NO.1 
    1. Install the control cable bracket with the 2 bolts.

      Torque: 12 N*m (122 kgf*cm, 9 ft.*lbf) 

      Fig 17: Locating Wire Harnesses Bolts
      G05193731Courtesy of © TOYOTA, LICENSE AGREEMENT TMS1002
  26. INSTALL TRANSMISSION CONTROL CABLE SUPPORT 
    1. Install the control cable support with the bolt.

      Torque: 12 N*m (122 kgf*cm, 9 ft.*lbf) 

    2. Connect the control cable and wire harness to the control cable support.
      Fig 18: Locating Transmission Control Cable Support Bolt
      G05193732Courtesy of © TOYOTA, LICENSE AGREEMENT TMS1002
  27. INSTALL TRANSMISSION CONTROL CABLE SUB-ASSEMBLY 
    1. Temporarily install the control cable to the control shaft lever with the nut.
    2. Install the control cable and clip to the bracket.
      Fig 19: Locating Control Shaft Lever Nut
      G05234077Courtesy of © TOYOTA, LICENSE AGREEMENT TMS1002
  28. INSTALL BATTERY CARRIER 
    1. Install the battery carrier with the 4 bolts.

      Torque: 13 N*m (132 kgf*cm, 10 ft.*lbf) 

  29. INSTALL BATTERY 
  30. INSTALL AIR CLEANER ASSEMBLY WITH HOSE 

    Torque: 7.0 N*m (71 kgf*cm, 62 in.*lbf) 

  31. INSTALL CYLINDER HEAD COVER NO.2 

    Torque: 7.0 N*m (71 kgf*cm, 62 in.*lbf) 

  32. INSTALL HOOD SUB-ASSEMBLY 

    Torque: 13 N*m (132 kgf*cm, 10 ft.*lbf) 

    Fig 20: Locating Battery Carrier Bolts
    G05194247Courtesy of © TOYOTA, LICENSE AGREEMENT TMS1002
  33. INSPECT HOOD SUB-ASSEMBLY 
  34. ADJUST HOOD SUB-ASSEMBLY 
  35. ADD AUTOMATIC TRANSAXLE FLUID 

    Fluid type: 

    T-IV 

    Capacity: 

    3.0 liters (3.2 US qts, 2.6 lmp. qts) 

  36. INSPECT AUTOMATIC TRANSAXLE FLUID 

    HINT:

    (See ON-VEHICLE INSPECTION  )

  37. ADJUST SHIFT LEVER POSITION (See  ADJUSTMENT   ) 
  38. INSPECT SHIFT LEVER POSITION (See  ADJUSTMENT   ) 
  39. INSPECT FRONT WHEEL ALIGNMENT 

    HINT:

    (See FRONT WHEEL ALIGNMENT )

  40. CHECK ABS SPEED SENSOR SIGNAL (w/ ABS) 

    HINT:

  41. RESET MEMORY 

    HINT:

    (See MANUAL SHIFTING TEST  )