LEMON Manuals: Even more car manuals for everyone: 1960-2025
Home >> Toyota >> 2007 >> Matrix Base, Standard >> Repair and Diagnosis >> Drivelines & Axles >> Wheel Hubs >> Axle >> Front Axle Hub >> Removal
April 5, 2026: LEMON Manuals is launched! Read the announcement.

Front Axle Hub: Removal

  1. REMOVE FRONT WHEEL 
  2. REMOVE FRONT AXLE HUB LH NUT (See  REMOVAL  ) 
  3. SEPARATE FRONT STABILIZER LINK ASSEMBLY LH (See  REMOVAL  ) 
  4. SEPARATE FRONT SPEED SENSOR LH (See  REMOVAL  ) 
  5. SEPARATE FRONT DISC BRAKE CALIPER ASSEMBLY LH 
    1. Remove the 2 bolts, separate the brake caliper assembly LH from the steering knuckle.
      Fig 1: Locating Front Disc Brake Caliper Assembly Bolts
      G05194594Courtesy of © TOYOTA, LICENSE AGREEMENT TMS1002
  6. REMOVE FRONT DISC 
  7. SEPARATE TIE ROD END SUB-ASSEMBLY LH (See  REMOVAL  ) 
  8. SEPARATE NO. 1 FRONT SUSPENSION ARM SUB-ASSEMBLY LOWER LH (See  REMOVAL  ) 
  9. REMOVE FRONT AXLE ASSEMBLY LH 
    1. Using a plastic hammer, separate the drive shaft from the axle hub.
      NOTE:
      • Be careful not to damage the boot.
      • With ABS:

        Be careful not to damage the speed sensor rotor.

        Fig 2: Removing Drive Shaft From Axle Hub
        G05194595Courtesy of © TOYOTA, LICENSE AGREEMENT TMS1002
    2. Remove the 2 bolts, 2 nuts and front axle assembly LH.
      Fig 3: Locating Front Axle Assembly LH Bolts And Nuts
      G05194596Courtesy of © TOYOTA, LICENSE AGREEMENT TMS1002
  10. REMOVE FRONT LOWER BALL JOINT ASSEMBLY LH 
    1. Remove the cotter pin and nut.
    2. Using SST, remove the lower ball joint assembly front LH.

      SST 09628-62011 

      Fig 4: Removing Front Lower Ball Joint Assembly LH
      G05194597Courtesy of © TOYOTA, LICENSE AGREEMENT TMS1002
  11. REMOVE FRONT AXLE HUB LH HOLE SNAP RING 
    1. Using snap ring pliers, remove the LH hole snap ring.
      Fig 5: Removing Front Axle Hub LH Hole Snap Ring
      G05194598Courtesy of © TOYOTA, LICENSE AGREEMENT TMS1002
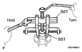
  12. REMOVE FRONT AXLE HUB SUB-ASSEMBLY LH 
    1. Using SST, remove the hub sub-assembly LH.

      SST 09520-00031 

      Fig 6: Removing Hub Sub-Assembly LH
      G05194599Courtesy of © TOYOTA, LICENSE AGREEMENT TMS1002
    2. Using SST, remove the inner race of hub LH bearing from the hub sub-assembly LH.

      SST 09950-40011(09951-04020,09952-04010, 09953-04030, 09954-04010, 09955-04061, 09957-04010, 09958-04011), 09950-60010 (09951-00370) 

      Fig 7: Removing Inner Race Of Hub LH Bearing From Hub Sub-Assembly LH
      G05194600Courtesy of © TOYOTA, LICENSE AGREEMENT TMS1002
  13. REMOVE FRONT DISC BRAKE DUST COVER LH 
    1. Remove the 3 bolts and front dust cover LH.
  14. REMOVE FRONT AXLE HUB LH BEARING 
    1. Place the inner race of hub LH bearing on the outer race of hub LH bearing.
    2. Using SST and a press, remove the hub LH bearing from the steering knuckle.

      SST 09527-17011, 09950-60010 (09951-00640), 09950-70010 (09951-07100) 

      Fig 8: Removing Front Axle Hub LH Bearing
      G05194601Courtesy of © TOYOTA, LICENSE AGREEMENT TMS1002