LEMON Manuals: Even more car manuals for everyone: 1960-2025
Home >> Toyota >> 2007 >> Matrix Base, Standard >> Repair and Diagnosis >> Suspension >> Wheel Alignment >> Suspension System >> Front Stabilizer Bar >> Installation
April 5, 2026: LEMON Manuals is launched! Read the announcement.

Front Stabilizer Bar: Installation

  1. INSTALL STABILIZER BAR FRONT 
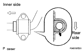
    1. Install 2 front stabilizer bar bushings No. 1, front stabilizer bracket No. 1 LH and front stabilizer bracket No. 1 RH to the stabilizer bar front.

      HINT:

      Install the bushing to the inner side of the bushing stopper on the stabilizer bar.

      Fig 1: Installing Front Stabilizer Bar Bushing No. 1
      G05194673Courtesy of © TOYOTA, LICENSE AGREEMENT TMS1002
    2. Install the stabilizer bar front and 4 bolts to the front suspension crossmember sub-assembly.

      Torque: 19 N*m (194 kgf*cm, 14 ft.*lbf) 

      Fig 2: Locating Stabilizer Bar Front Bolts
      G05235027Courtesy of © TOYOTA, LICENSE AGREEMENT TMS1002
  2. INSTALL FRONT SUSPENSION CROSSMEMBER SUB-ASSEMBLY (See  INSTALLATION   ) 
  3. INSTALL RACK & PINION POWER STEERING GEAR ASSEMBLY (See  INSTALLATION   ) 
  4. INSTALL FRONT SUSPENSION ARM SUB-ASSEMBLY LOWER NO. 1 LH (See  INSTALLATION   ) 
  5. INSTALL FRONT SUSPENSION ARM SUB-ASSEMBLY LOWER NO. 1 RH 

    HINT:

    Install the RH side by the same procedures as the LH side.

  6. INSTALL FRONT STABILIZER LINK ASSEMBLY LH 
    1. Install the stabilizer bar link with the 2 nuts.

      Torque: 74 N*m (755 kgf*cm, 55 ft.*lbf) 

      HINT:

      If the ball joint turns together with the nut, use a hexagon wrench (6 mm) to hold the stud.

  7. INSTALL FRONT STABILIZER LINK ASSEMBLY RH 

    HINT:

    Install the RH side by the same procedure as the LH side.

  8. INSTALL FRONT WHEEL 

    Torque; 103 N*m (1,050 kgf*cm, 76 ft.*lbf) 

  9. INSPECT AND ADJUST FRONT WHEEL ALIGNMENT 

    HINT:

    See ADJUSTMENT