LEMON Manuals: Even more car manuals for everyone: 1960-2025
Home >> Toyota >> 2007 >> Matrix Base, Standard >> Repair and Diagnosis >> Transmission >> Manual Trans >> Manual Transmission - C59 >> Manual Transaxle Unit >> Reassembly
April 5, 2026: LEMON Manuals is launched! Read the announcement.

Manual Transaxle Unit: Reassembly

  1. INSPECT SYNCHRONIZER RING NO. 3 (See  INSPECTION   ) 
  2. INSPECT TRANSMISSION HUB SLEEVE NO. 3 (See  INSPECTION   ) 
  3. INSPECT 5TH GEAR (See  INSPECTION   ) 
  4. INSPECT REVERSE IDLER GEAR SUB-ASSEMBLY (See  INSPECTION   ) 
  5. INSTALL OUTPUT SHAFT (MTM) COVER 
    1. Coat the output shaft (MTM) cover with MP grease, and install it to the transaxle case.
      NOTE: Fit the output shaft (MTM) cover projection into the case side hollow.
      Fig 1: Identifying Output Shaft (MTM) Cover
      G05234698Courtesy of © TOYOTA, LICENSE AGREEMENT TMS1002
  6. INSTALL OUTPUT SHAFT FRONT BEARING 
    1. Coat a new output shaft front bearing with gear oil, and using SST and a press, install it to the transaxle case.

      SST 09950-60010 (09951 -00550), 09950-70010 (09951-07150) 

      NOTE:
      • Be sure to install a new bearing in the correct direction, as shown in the illustration.
      • When replacing the output shaft front bearing, replace the output shaft front bearing inner race along with it.
        Fig 2: Identifying Output Shaft Front Bearing
        G05194356Courtesy of © TOYOTA, LICENSE AGREEMENT TMS1002
  7. INSTALL FRONT TRANSAXLE CASE OIL SEAL 
    1. Using SST and a hammer, install a new front transaxle case oil seal to the transaxle case.

      SST 09950-60010 (09951 -00370), 09950-70010 (09951-07150) 

      Drive in depth: 15.6 to 16.0 mm (0.6142 to 0.6299 in.) 

    2. Coat the lip of the front transaxle case oil seal with MP grease.
      Fig 3: Identifying Front Transaxle Case Oil Seal
      G05194357Courtesy of © TOYOTA, LICENSE AGREEMENT TMS1002
  8. INSTALL INPUT SHAFT FRONT BEARING 
    1. Coat a new input shaft front bearing with gear oil, and using SST and a press, install it to the transaxle case.

      SST 09950-60010 (09951 -00420), 09950-70010 (09951-07150) 

      Drive in depth: 0 to 0.3 mm (0 to 0.012 in.) 

      Fig 4: Identifying Input Shaft Front Bearing
      G05194358Courtesy of © TOYOTA, LICENSE AGREEMENT TMS1002
  9. INSTALL FR DIFFERENTIAL CASE FRONT TAPERED ROLLER BEARING 
    1. Using SST and a press, install a new FR differential case front tapered roller bearing (inner race) to the front differential case.

      SST 09350-32014 (09351-32120), 09950-60010 (09951-00530) 

      Fig 5: Identifying FR Differential Case Front Tapered Roller Bearing (Inner Race)
      G05194359Courtesy of © TOYOTA, LICENSE AGREEMENT TMS1002
    2. Using SST and a press, install a new FR differential case front tapered roller bearing (outer race) with the shim to the transaxle case.

      SST 09950-60020 (09951 -00680), 09950-70010 (09951-07150) 

      Fig 6: Identifying FR Differential Case Front Tapered Roller Bearing (Outer Race)
      G05194360Courtesy of © TOYOTA, LICENSE AGREEMENT TMS1002
  10. INSTALL FR DIFFERENTIAL CASE REAR TAPERED ROLLER BEARING 
    1. Using SST and a press, install a new FR differential case rear tapered roller bearing (inner race) to the front differential case.

      SST 09350-32014 (09351 -32120), 09950-60010 (09951-00530) 

      Fig 7: Identifying FR Differential Case Rear Tapered Roller Bearing (Inner Race)
      G05194361Courtesy of © TOYOTA, LICENSE AGREEMENT TMS1002
    2. Using SST and a press, install a new FR differential case rear tapered roller bearing (outer race) with the shim to the manual transmission case.

      SST 09309-36010, 09950-60020 (09951 -00710), 09950-70010 (09951-07150) 

      Fig 8: Identifying FR Differential Case Rear Tapered Roller Bearing (Outer Race)
      G05194362Courtesy of © TOYOTA, LICENSE AGREEMENT TMS1002
  11. ADJUST DIFFERENTIAL SIDE BEARING PRELOAD 
    1. Coat the differential case assembly with gear oil, and install it to the transaxle case.
    2. Install the manual transmission case with the 16 bolts.

      Torque: 29 N*m (300 kgf*cm, 22 ft/lbf) 

      Fig 9: Identifying Bearing Lock Plate
      G04831784Courtesy of © TOYOTA, LICENSE AGREEMENT TMS1002
    3. Using SST and a torque wrench, turn the differential case assembly to the right and left 2 or 3 times to allow the bearings to settle.

      SST 09564-32011 

      Fig 10: Adjusting Differential Side Bearing Preload
      G05194364Courtesy of © TOYOTA, LICENSE AGREEMENT TMS1002
    4. Using SST and a torque wrench, measure the preload.

      SST 09564-32011 

      Torque: New bearing preload (at starting) 0.78 to 1.57 N*m (8 to 16 kgf*cm, 6.9 to 13.9 in.*lbf) 

      Fig 11: Adjusting Differential Side Bearing Preload
      G05194364Courtesy of © TOYOTA, LICENSE AGREEMENT TMS1002

      If the preload is out of specification, select another shim.

      Shim thickness 

      THICKNESS REFERENCE

      Mark Thickness: mm (in.) Mark Thickness: mm (in.)
      AA 2.10 (0.0827) LL 2.60 (0.1024)
      BB 2.15 (0.0846) MM 2.65 (0.1043)
      CC 2.20 (0.0866) NN 2.70 (0.1063)
      DD 2.25 (0.0886) PP 2.75 (0.1083)
      EE 2.30 (0.0906) QQ 2.80(0.1102)
      FF 2.35 (0.0925) RR 2.85 (0.1122)
      GG 2.40 (0.0945) SS 2.90 (0.1142)
      HH 2.45 (0.0965) TT 2.95 (0.1161)
      JJ 2.50 (0.0984) UU 3.00 (0.1181)
      KK 2.55 (0.1004) - -

      HINT:

      The preload will change by about 0.3 to 0.4 N*m (3 to 4 kgf*cm, 2.6 to 3.5 in.*lbf) corresponding to a change of 0.05 mm (0.0020 in.) in shim thickness.

    5. Remove the 16 bolts and manual transmission case from the transaxle case.
    6. Remove the differential case assembly from the transaxle case.
  12. INSTALL TRANSMISSION CASE OIL SEAL 
    1. Using SST and a hammer, install a new transmission case oil seal to the manual transmission case.

      SST 09316-60011 (09316-00011) 

      Drive in depth: 9.6 to 10.2 mm (0.378 to 0.402 in.) 

    2. Coat the lip of the transmission case oil seal with MP grease.
      Fig 12: Identifying Transmission Case Oil Seal
      G05194366Courtesy of © TOYOTA, LICENSE AGREEMENT TMS1002
  13. INSTALL TRANSAXLE CASE OIL SEAL 
    1. Using SST and a hammer, install a new transaxle case oil seal in the transaxle case.

      SST 09710-20011 (09710-06071), 09950-70010 (09951-07150) 

      Drive in depth: 1.6 to 2.2 mm (0.063 to 0.087 in.) 

    2. Coat the lip of the transaxle case oil seal with MP grease.
      Fig 13: Identifying Transaxle Case Oil Seal
      G05194367Courtesy of © TOYOTA, LICENSE AGREEMENT TMS1002
  14. INSTALL TRANSMISSION MAGNET 
    1. Clean the transmission magnet, and install it to the transmission case.
      Fig 14: Identifying Transmission Magnet
      G05234711Courtesy of © TOYOTA, LICENSE AGREEMENT TMS1002
  15. INSTALL BEARING LOCK PLATE 
    1. Install the bearing lock plate with the bolt.

      Torque: 11 N*m (115 kgf*cm, 8 ft.*lbf) 

      Fig 15: Identifying Bearing Lock Plate
      G04831741Courtesy of © TOYOTA, LICENSE AGREEMENT TMS1002
  16. INSTALL OIL RECEIVER PIPE NO. 1 (MTM) 
    1. Install the oil receiver pipe No. 1 (MTM) with the bolt to the manual transmission case.

      Torque: 17 N*m (175 kgf*cm, 13 ft.*lbf) 

      NOTE:
      • Prevent the oil receiver pipe No. 1 (MTM) from being deformed.
      • Install the oil receiver pipe No. 1 (MTM) while placing it against the manual transmission case, as shown in the illustration.
        Fig 16: Identifying Oil Receiver Pipe No. 1
        G04831778Courtesy of © TOYOTA, LICENSE AGREEMENT TMS1002
  17. INSTALL OIL RECEIVER PIPE NO. 2 (MTM) 
    1. Install the oil receiver pipe No. 2 (MTM) with the bolt to the manual transmission case.

      Torque: 17 N*m (175 kgf*cm, 13 ft.*lbf) 

      NOTE:
      • Prevent the oil receiver pipe No. 2 (MTM) from being deformed.
      • Install the oil receiver pipe No. 2 (MTM) while placing it against the manual transmission case, as shown in the illustration.
        Fig 17: Locating Oil Receiver Pipe No. 2 (MTM)
        G05194371Courtesy of © TOYOTA, LICENSE AGREEMENT TMS1002
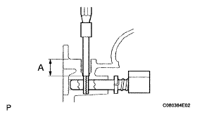
  18. INSTALL REVERSE RESTRICT PIN ASSEMBLY 
    1. Install the reverse restrict pin assembly to the manual transmission case.
      NOTE: Do not set the reverse restrict pin assembly in an incorrect orientation.
      Fig 18: Installing Reverse Restrict Pin Assembly
      G04831780Courtesy of © TOYOTA, LICENSE AGREEMENT TMS1002
    2. Using a pin punch (ø 5 mm) and hammer, install the slotted pin to the reverse restrict pin assembly.

      Standard clearance (A): 15.5 to 16.5 mm (0.6102 to 0.6496 in.) 

    3. Apply sealant to the reverse restrict pin plug.

      Sealant: Toyota Genuine Adhesive 1344, Three Bond 1344 or equivalent 

      Fig 19: Identifying Clearance Between Slotted Pin And Restrict Pin
      G05194373Courtesy of © TOYOTA, LICENSE AGREEMENT TMS1002
    4. Using a hexagon wrench and a torque wrench, install the reverse restrict pin plug to the manual transmission case.

      Torque: 13 N*m (130 kgf*cm, 9 ft.*lbf) 

      Fig 20: Installing Reverse Restrict Pin Plug To Manual Transmission Case
      G05194374Courtesy of © TOYOTA, LICENSE AGREEMENT TMS1002
  19. INSTALL MANUAL TRANSAXLE CASE RECEIVER 
    1. Install the manual transaxle case receiver with the bolt to the transaxle case.

      Torque: 11 N*m (115 kgf*cm, 8 ft.*lbf) 

      Fig 21: Installing Manual Transaxle Case Receiver
      G04831736Courtesy of © TOYOTA, LICENSE AGREEMENT TMS1002
  20. INSTALL DIFFERENTIAL CASE ASSEMBLY 
    1. Coat the differential case tapered roller bearing with gear oil, and install the differential case assembly to the transaxle case.
      Fig 22: Identifying Differential Case Assembly
      G05234719Courtesy of © TOYOTA, LICENSE AGREEMENT TMS1002
  21. INSTALL INPUT SHAFT ASSEMBLY 
    1. Coat the sliding and rotating surfaces of the input and output shafts with gear oil, and install them to the transaxle case.
      Fig 23: Installing Input Shaft Assembly
      G05194377Courtesy of © TOYOTA, LICENSE AGREEMENT TMS1002
  22. INSTALL REVERSE IDLER GEAR SUB-ASSEMBLY 
    1. Coat the reverse idler gear sub-assembly, thrust washer and reverse idler gear shaft with gear oil, and install them as shown in the illustration.

      HINT:

      Align the mark on the reverse idler gear shaft with the bolt hole shown in the illustration.

      Fig 24: Aligning Mark On Reverse Idler Gear Shaft With Bolt Hole
      G05194378Courtesy of © TOYOTA, LICENSE AGREEMENT TMS1002
  23. INSTALL GEAR SHIFT FORK SHAFT SUB-ASSEMBLY NO. 1 
    1. Coat the gear shift fork No. 1 and gear shift fork No. 2 with gear oil, and install them.
      Fig 25: Identifying Gear Shift Fork No. 1 And Gear Shift Fork No. 2
      G05194379Courtesy of © TOYOTA, LICENSE AGREEMENT TMS1002
    2. Coat the gear shift fork shaft sub-assembly No. 1 with gear oil, and install it.
    3. Apply sealant to the shift fork lock bolt.

      Sealant: Toyota Genuine Adhesive 1344, Three Bond 1344 or equivalent 

    4. Install the gear shift fork lock bolt.

      Torque: 16 N*m (160 kgf*cm, 12 ft.*lbf) 

      Fig 26: Identifying Gear Shift Fork Shaft Sub-Assembly No. 1
      G05194380Courtesy of © TOYOTA, LICENSE AGREEMENT TMS1002
    5. Using a brass bar and a hammer, install the snap ring to the gear shift fork shaft No. 1.
      Fig 27: Locating Snap Ring To Gear Shift Fork Shaft No. 1
      G04831789Courtesy of © TOYOTA, LICENSE AGREEMENT TMS1002
  24. INSTALL GEAR SHIFT FORK SHAFT NO. 3 
    1. Coat the 2 balls with MP grease, and install them to the reverse shift fork.
    2. Install the reverse shift fork to the gear shift fork shaft No. 3.
      Fig 28: Installing Balls To Reverse Shift Fork
      G04831790Courtesy of © TOYOTA, LICENSE AGREEMENT TMS1002
    3. Using a brass bar and a hammer, install the 2 shift fork haft snap rings to the gear shift fork shaft No. 3.
      Fig 29: Installing Shift Fork Haft Snap Rings To Gear Shift Fork Shaft No. 3
      G04831791Courtesy of © TOYOTA, LICENSE AGREEMENT TMS1002
    4. Coat the gear shift fork shaft No. 3 with gear oil, and install it.
      Fig 30: Identifying Gear Shift Fork Shaft No. 3
      G04831792Courtesy of © TOYOTA, LICENSE AGREEMENT TMS1002
  25. INSTALL GEAR SHIFT FORK SHAFT NO. 2 
    1. Coat the gear shift head No. 1 and gear shift fork shaft No. 2 with gear oil, and install them.
      NOTE: To avoid the interference of the 2 shift fork balls, lift up the gear shift fork shaft No. 3 to the position shown in the illustration.
      Fig 31: Installing Gear Shift Head No. 1 And Gear Shift Fork Shaft No. 2
      G05194385Courtesy of © TOYOTA, LICENSE AGREEMENT TMS1002
    2. Coat the 2 shift lock bolts with sealant, and install them to the gear shift fork No. 2 and gear shift head No. 1.

      Sealant: Toyota Genuine Adhesive 1344, Three Bond 1344 or equivalent 

      Torque: 16 N*m (160 kgf*cm, 12 ft.*lbf) 

      Fig 32: Locating Shift Lock Bolts
      G04831725Courtesy of © TOYOTA, LICENSE AGREEMENT TMS1002
  26. INSTALL REVERSE SHIFT ARM BRACKET ASSEMBLY 
    1. Install the reverse shift arm bracket assembly with the 2 bolts to the transaxle case.

      Torque: 17 N*m (175 kgf*cm, 13 ft.*lbf) 

      Fig 33: Locating Reverse Shift Arm Bracket Assembly
      G04831724Courtesy of © TOYOTA, LICENSE AGREEMENT TMS1002
  27. INSTALL MANUAL TRANSMISSION CASE 
    1. Apply FIPG to the manual transmission case, as shown in the illustration.

      FIPG: Toyota Genuine Seal Packing 1281, Three Bond 1281 or equivalent 

      NOTE: Parts must be assembled within 10 minutes of application. Otherwise, the packing (FIPG) material must be removed and reapplied.
      Fig 34: Identifying FIPG
      G05194388Courtesy of © TOYOTA, LICENSE AGREEMENT TMS1002
    2. Install the 13 bolts to the manual transmission side.

      Torque: 29 N*m (300 kgf*cm, 22 ft.*lbf) 

      Fig 35: Installing Bolts To Manual Transmission Side
      G04831721Courtesy of © TOYOTA, LICENSE AGREEMENT TMS1002
    3. Install the 3 bolts to the transaxle case side.

      Torque: 29 N*m (300 kgf*cm, 22 ft.*lbf) 

      Fig 36: Installing Bolts To Transaxle Case Side
      G04831720Courtesy of © TOYOTA, LICENSE AGREEMENT TMS1002
  28. INSTALL REVERSE IDLER GEAR SHAFT BOLT 
    1. Coat the reverse idler gear shaft bolt with sealant, and install it with a new gasket.

      Sealant: Toyota Genuine Adhesive 1344, Three Bond 1344 or equivalent 

      Torque: 29 N*m (300 kgf*cm, 22 ft.*lbf) 

      Fig 37: Locating Reverse Idler Gear Shaft Bolt
      G04831713Courtesy of © TOYOTA, LICENSE AGREEMENT TMS1002
  29. INSTALL LOCK BALL ASSEMBLY NO. 1 
    1. Coat the lock ball assembly No. 1 with sealant, and install it using a hexagon wrench.

      Sealant: Toyota Genuine Adhesive 1344, Three Bond 1344 or equivalent 

      Torque: 29 N*m (296 kgf*cm, 21 ft.*lbf) 

      Fig 38: Identifying Lock Ball Assembly No. 1
      G04831719Courtesy of © TOYOTA, LICENSE AGREEMENT TMS1002
  30. INSTALL SHIFT DETENT BALL 
    1. Install the 2 shift detent balls, 2 springs, and 2 seats to the manual transmission case.
      Fig 39: Identifying Shift Detent Ball
      G04831801Courtesy of © TOYOTA, LICENSE AGREEMENT TMS1002
    2. Coat the 2 shift detent ball plugs with sealant, and install them using a hexagon wrench.

      Sealant: Toyota Genuine Adhesive 1344, Three Bond 1344 or equivalent 

      Torque: 22 N*m (224 kgf*cm, 16 ft.*lbf) 

      Fig 40: Identifying Shift Detent Ball Plugs
      G04831715Courtesy of © TOYOTA, LICENSE AGREEMENT TMS1002
    3. Install the shift detent ball, spring and seat to the transaxle case.
      Fig 41: Identifying Shift Detent Ball, Spring And Transaxle Case
      G05234738Courtesy of © TOYOTA, LICENSE AGREEMENT TMS1002
    4. Coat the shift detent ball plug with sealant, and install it using a hexagon wrench.

      Sealant: Toyota Genuine Adhesive 1344, Three Bond 1344 or equivalent 

      Torque: 22 N*m (224 kgf*cm, 16 ft.*lbf) 

      Fig 42: Identifying Shift Detent Ball Plug
      G04831717Courtesy of © TOYOTA, LICENSE AGREEMENT TMS1002
  31. INSTALL INPUT SHAFT REAR BEARING HOLE SNAP RING 
    1. Using a snap ring expander, install the input shaft rear bearing hole snap ring to the input shaft.
      Fig 43: Installing Input Shaft Rear Bearing Hole Snap Ring
      G04831712Courtesy of © TOYOTA, LICENSE AGREEMENT TMS1002
  32. INSTALL OUTPUT SHAFT REAR BEARING HOLE SNAP RING 
    1. Using a snap ring expander, install the output shaft rear bearing hole snap ring to the output shaft.
      Fig 44: Identifying Output Shaft Rear Bearing Hole Snap Ring
      G04831711Courtesy of © TOYOTA, LICENSE AGREEMENT TMS1002
  33. INSTALL SHIFT FORK SHAFT, SHAFT SNAP RING 
    1. Using a brass bar and a hammer, install the shift fork shaft, shaft snap ring to the shift fork shaft No. 2.
      Fig 45: Locating Shift Fork Shaft, Shaft Snap Ring
      G04831807Courtesy of © TOYOTA, LICENSE AGREEMENT TMS1002
  34. INSTALL BEARING RETAINER REAR (MTM) 
    1. Coat the 5 bolts with sealant, and install them and bearing retainer rear (MTM) to the manual transmission case.

      Torque: 27 N*m (279 kgf*cm, 20 ft.*lbf) 

      Fig 46: Installing Bearing Retainer Rear (MTM) To Manual Transmission Case
      G05234743Courtesy of © TOYOTA, LICENSE AGREEMENT TMS1002
  35. INSTALL 5TH DRIVEN GEAR 
    1. Using SST, install the 5th driven gear to the output shaft.

      SST 09309-12020 

      Fig 47: Identifying 5Th Driven Gear
      G05194401Courtesy of © TOYOTA, LICENSE AGREEMENT TMS1002
  36. INSTALL 5TH GEAR NEEDLE ROLLER BEARING 
    1. Coat the 5th gear needle roller bearing and 5th gear bearing spacer with gear oil, and install them to the input shaft.
      Fig 48: Identifying 5Th Gear Needle Roller Bearing
      G04831708Courtesy of © TOYOTA, LICENSE AGREEMENT TMS1002
  37. INSTALL 5TH GEAR 
    1. Coat the 5th gear with gear oil, and install it to the input shaft.
      Fig 49: Identifying 5Th Gear
      G04831811Courtesy of © TOYOTA, LICENSE AGREEMENT TMS1002
  38. INSTALL SYNCHRONIZER RING NO. 3 
    1. Coat the synchronizer ring No. 3 with gear oil, and install it to the 5th gear.
      Fig 50: Identifying Synchronizer Ring No. 3
      G05194404Courtesy of © TOYOTA, LICENSE AGREEMENT TMS1002
  39. INSTALL TRANSMISSION CLUTCH HUB NO. 3 
    1. Install the 3 synchromesh shifting keys and 2 synchromesh shifting key springs to the transmission clutch hub No. 3.

      HINT:

      Do not set the openings of the shifting key springs in the same position.

      Fig 51: Identifying Synchromesh Shifting Keys And Synchromesh Shifting Key Springs
      G05194405Courtesy of © TOYOTA, LICENSE AGREEMENT TMS1002
    2. Using SST and a hammer, install the transmission clutch hub No. 3 to the input shaft.

      SST 09636-20010 

      NOTE:
      • Before driving in the No. 3 clutch hub assembly, place a suitable sized wooden block under the rear side of the input shaft, as shown in the illustration.
      • When driving it in, fix the input shaft firmly so that it is not pushed downward. Otherwise the input shaft rear bearing is over loaded and might be damaged.
        Fig 52: Identifying Transmission Clutch Hub No. 3 To Input Shaft
        G05194406Courtesy of © TOYOTA, LICENSE AGREEMENT TMS1002
    3. Select a snap ring from the table below that will make the thrust clearance of the transmission clutch hub No. 3 below 0.1 mm (0.004 in.).

      Snap ring thickness 

      THICKNESS REFERENCE

      Mark Thickness: mm (In.) Mark Thickness: mm (in.)
      A 2.25 (0.0886) E 2.49 (0.0980)
      B 2.31 (0.0909) F 2.55 (0.1004)
      C 2.37 (0.0933) G 2.61 (0.1028)
      D 2.43 (0.0957) - -
      Fig 53: Installing Clutch Hub No. 3 Shaft Snap Ring
      G04831815Courtesy of © TOYOTA, LICENSE AGREEMENT TMS1002
    4. Using a brass bar and a hammer, install the snap ring to the input shaft.
  40. INSPECT 5TH GEAR THRUST CLEARANCE (See  INSPECTION   ) 
  41. INSPECT 5TH GEAR RADIAL CLEARANCE (See  INSPECTION   ) 
  42. INSTALL GEAR SHIFT FORK NO. 3 
    1. Coat the transmission clutch hub sleeve No. 3 with gear oil, and install it and gear shift fork No. 3 to the transmission clutch hub No. 3.

      HINT:

      Do not set the transmission clutch hub No. 3 in an incorrect orientation.

      Fig 54: Installing Gear Shift Fork No. 3
      G04831818Courtesy of © TOYOTA, LICENSE AGREEMENT TMS1002
    2. Coat the gear shift lock fork ball with sealant, and install it to the gear shift fork No. 3.

      Sealant: Toyota Genuine Adhesive 1344, Three Bond 1344 or equivalent 

      Torque: 16 N*m (160 kgf*cm, 12 ft.*lbf) 

      Fig 55: Installing Gear Shift Fork Lock Bolt
      G04831819Courtesy of © TOYOTA, LICENSE AGREEMENT TMS1002
  43. INSTALL MANUAL TRANSMISSION OUTPUT SHAFT REAR SET NUT 
    1. Engage two gears simultaneously to lock the transmission.
    2. Install a new manual transmission output shaft rear set nut.

      Torque: 118 N*m (1,200 kgf*cm, 87 ft.*lbf) 

      Fig 56: Installing Manual Transmission Output Shaft Rear Set Nut
      G04831820Courtesy of © TOYOTA, LICENSE AGREEMENT TMS1002
    3. Using a chisel and a hammer, stake the manual transmission output shaft rear set nut.
    4. Disengage the two gears.
      Fig 57: Installing Stake Manual Transmission Output Shaft Rear Set Nut
      G04831821Courtesy of © TOYOTA, LICENSE AGREEMENT TMS1002
  44. INSTALL MANUAL TRANSMISSION CASE COVER SUB-ASSEMBLY 
    1. Apply FIPG to the manual transmission case cover sub-assembly as shown in the illustration.

      FIPG: Toyota Genuine Seal Packing 1281, Three Bond 1281 or equivalent 

      NOTE: Parts must be assembled within 10 minutes of application. Otherwise, the packing (FIPG) material must be removed and reapplied.
      Fig 58: Applying FIPG To Manual Transmission Case Cover Sub-Assembly
      G05194412Courtesy of © TOYOTA, LICENSE AGREEMENT TMS1002
    2. Install the manual transmission case cover sub-assembly with the 9 bolts to the manual transmission case.

      Torque: 18 N*m (185 kgf*cm, 13 ft.*lbf) 

      Fig 59: Identifying Manual Transmission Case Cover Subassembly
      G05194413Courtesy of © TOYOTA, LICENSE AGREEMENT TMS1002
  45. INSTALL SHIFT AND SELECT LEVER SHAFT ASSEMBLY 
    1. Coat the 2 bolts with sealant, and install them, 2 bolts, a new gasket and the shift & select lever shaft assembly to the manual transmission case.

      Sealant: Toyota Genuine Adhesive 1344, Three Bond 1344 or equivalent 

      Torque: 20 N*m (200 kgf*cm, 14 ft.*lbf) 

      NOTE: Set the claws of the shift interlock plate into the shift head part of the gear shift fork shaft securely.
      Fig 60: Identifying Shift And Select Lever Shaft Assembly
      G05234757Courtesy of © TOYOTA, LICENSE AGREEMENT TMS1002
  46. INSTALL LOCK BALL ASSEMBLY NO. 1 
    1. Coat the lock ball assembly No. 1 with sealant, and install it to the manual transmission case.

      Sealant: Toyota Genuine Adhesive 1344, Three Bond 1344 or equivalent 

      Torque: 29 N*m (300 kgf*cm, 22 ft.*lbf) 

      Fig 61: Identifying Lock Ball Assembly No. 1
      G05194291Courtesy of © TOYOTA, LICENSE AGREEMENT TMS1002
  47. INSTALL SELECTING BELL CRANK ASSEMBLY 
    1. Install the selecting bell crank assembly and the control shift lever bush with the 2 bolts to the manual transmission case.

      Torque: 25 N*m (250 kgf*cm, 18 ft.*lbf) 

      NOTE: Apply MP grease to the inside circumferential surface of the control shift lever bush (A).
      Fig 62: Identifying Selecting Bell Crank Assembly
      G05194416Courtesy of © TOYOTA, LICENSE AGREEMENT TMS1002
  48. INSTALL FLOOR SHIFT CONTROL LEVER HOUSING SUPPORT BRACKET 
    1. Install the floor shift control lever housing support bracket with the 3 bolts to the transaxle case.

      Torque: 18 N*m (184 kgf*cm, 13. ft.*lbf) 

      Fig 63: Identifying Floor Shift Control Lever Housing Support Bracket
      G05194288Courtesy of © TOYOTA, LICENSE AGREEMENT TMS1002
  49. INSTALL BACK UP LIGHT SWITCH ASSEMBLY 
    1. Using SST, install the back up light switch assembly with a new gasket to the manual transmission case.

      Torque: 40 N*m (411 kgf*cm, 30 ft.*lbf) 

      SST 09817-16011 

      Fig 64: Identifying Back Up Light Switch Assembly
      G05194418Courtesy of © TOYOTA, LICENSE AGREEMENT TMS1002
  50. INSTALL SPEEDOMETER DRIVEN HOLE COVER SUB-ASSEMBLY 
    1. Install a new O-ring to the speedometer driver hole cover sub-assembly.
    2. Install the speedometer driver hole cover sub-assembly with the bolt.

      Torque: 11 N*m (115 kgf*cm, 8 ft.*lbf) 

  51. INSTALL SPEEDOMETER SENSOR 
    1. Install a new O-ring to the speedometer sensor.
    2. Install the speedometer sensor with the bolt.

      Torque: 11 N*m (115 kgf*cm, 8 ft.*lbf) 

  52. INSTALL RELEASE FORK SUPPORT 
    1. Install the clutch release fork support to the transaxle case.

      Torque: 37 N*m (375 kgf*cm, 27 ft.*lbf) 

      Fig 65: Identifying Snap Ring
      G05234762Courtesy of © TOYOTA, LICENSE AGREEMENT TMS1002
  53. INSTALL CLUTCH RELEASE FORK BOOT 
    1. Install the clutch release fork boot to the transaxle case.
      Fig 66: Identifying Clutch Release Fork Boot
      G05194286Courtesy of © TOYOTA, LICENSE AGREEMENT TMS1002
  54. INSTALL CLUTCH RELEASE BEARING ASSEMBLY 
    1. Coat the clutch release bearing assembly with release hub grease, and install it to the clutch release fork sub-assembly with the release bearing clip.

      Grease: Toyota Genuine Release Hub Grease or equivalent 

      Fig 67: Identifying Clutch Release Bearing Assembly
      G05194284Courtesy of © TOYOTA, LICENSE AGREEMENT TMS1002
  55. INSTALL CLUTCH RELEASE FORK SUB-ASSEMBLY 
    1. Install the clutch release fork sub-assembly to the input shaft.
    2. Apply clutch spline grease to the spline of the input shaft.

      Grease: Toyota Genuine Clutch Spline Grease or equivalent 

      Fig 68: Identifying Clutch Release Fork Sub-Assembly
      G05194422Courtesy of © TOYOTA, LICENSE AGREEMENT TMS1002
  56. INSTALL MANUAL TRANSMISSION FILLER PLUG 
    1. Install the manual transmission filler plug with a new gasket.

      Torque: 39 N*m (400 kgf*cm, 29 ft.*lbf) 

      Fig 69: Identifying Manual Transmission Filler Plug
      G04831683Courtesy of © TOYOTA, LICENSE AGREEMENT TMS1002
  57. INSTALL DRAIN (MTM) PLUG SUB-ASSEMBLY 
    1. Install the drain (MTM) plug sub-assembly with a new gasket.

      Torque: 39 N*m (400 kgf*cm, 29 ft.*lbf) 

      Fig 70: Identifying Drain (MTM) Plug Sub-Assembly
      G04831684Courtesy of © TOYOTA, LICENSE AGREEMENT TMS1002