LEMON Manuals: Even more car manuals for everyone: 1960-2025
Home >> Toyota >> 2007 >> Matrix L4-1.8L (1ZZ-FE) >> Repair and Diagnosis >> Specifications >> Mechanical Specifications >> Engine >> Cylinder Block Assembly >> System Specifications
April 5, 2026: LEMON Manuals is launched! Read the announcement.

System Specifications

Cylinder Block
Connecting Rod
Connecting rod thrust clearance
Standard 0.160 to 0.342 mm (0.0063 to 0.0135 in.)
Maximum 0.342 mm (0.0135 in.)
Connecting rod oil clearance
Standard 0.028 to 0.060 mm (0.0011 to 0.0024 in.)
Maximum 0.080 mm (0.0032 in.)
Connecting rod large end bore diameter
1 47.000 to 47.008 mm (1.8504 to 1.8507 in.)
2 47.009 to 47.016 mm (1.8507 to 1.8510 in.)
3 47.017 to 47.024 mm (1.8511 to 1.8513 in.)
Connecting rod bearing thickness
1 1.486 to 1.490 mm (0.0585 to 0.0587 in.)
2 1.491 to 1.494 mm (0.0587 to 0.0588 in.)
3 1.495 to 1.498 mm (0.0589 to 0.0590 in.)
Crankshaft pin outer diameter 43.992 to 44.000 mm (1.7320 to 1.7323 in.)
Crankshaft thrust clearance
Standard 0.04 to 0.24 mm (0.0016 to 0.0094 in.)
Maximum 0.30 mm (0.0118 in.)
Cylinder block warpage
Maximum 0.05 mm (0.0020 in.)
Cylinder bore diameter
Standard 79.000 to 79.013 mm (3.1102 to 3.1107 in.)
Maximum 79.133 mm (3.1155 in.)
Piston diameter at 28.0 mm (1.102 in.) from piston head 78.917 to 78.927 mm (3.1070 to 3.1074 in.)
Piston oil clearance
Standard 0.073 to 0.096 mm (0.0029 to 0.0038 in.)
Maximum 0.10 mm (0.0039 in.)
Piston pin bore diameter
A 20.006 to 20.009 mm (0.7876 to 0.7878 in.)
B 20.010 to 20.012 mm (0.7878 to 0.7879 in.)
C 20.013 to 20.015 mm (0.7879 to 0.7880 in.)
Piston pin outer diameter
A 20.004 to 20.007 mm (0.7876 to 0.7877 in.)
B 20.008 to 20.010 mm (0.7877 to 0.7878 in.)
C 20.011 to 20.013 mm (0.7878 to 0.7879 in.)
Connecting rod small end bore diameter
A 20.012 to 20.015 mm (0.7879 to 0.7880 in.)
B 20.016 to 20.018 mm (0.7880 to 0.7881 in.)
C 20.019 to 20.021 mm (0.7881 to 0.7882 in.)
Piston pin oil clearance
Piston pin x Piston
Standard 0.002 to 0.011 mm (0.0001 to 0.0004 in.)
Maximum 0.011 mm (0.0004 in.)
Piston pin x Connecting rod
Standard -0.001 to 0.017 mm (-0.00004 to 0.0007 in.)
Maximum 0.017 mm (0.0007 in.)
Ring groove clearance
No. 1 0.02 to 0.07 mm (0.0008 to 0.0028 in.)
No. 2 0.03 to 0.07 mm (0.0012 to 0.0028 in.)
Oil 0.03 to 0.11 mm (0.0012 to 0.0043 in.)
Piston ring end gap
Standard No. 1 0.25 to 0.35 mm (0.0098 to 0.0138 in.)
Standard No. 2 0.35 to 0.50 mm (0.0138 to 0.0197 in.)
Standard Oil 0.15 to 0.40 mm (0.0059 to 0.157 in.)
Maximum No. 1 1.05 mm (0.0413 in.)
Maximum No. 2 1.20 mm (0.0472 in.)
Connecting rod
Out-of-alignment
Maximum 0.05 mm (0.0020 in.) per 100 mm (3.94 in.)
Twist
Maximum 0.05 mm (0.0020 in.) per 100 mm (3.94 in.)
Connecting rod bolt diameter
Standard 6.6 to 6.7 mm (0.260 to 0.264 in.)
Maximum 6.4 mm (0.252 in.)
Crankshaft
Circle runout
Maximum 0.03 mm (0.0012 in.)
Main journal diameter 47.988 to 48.000 mm (1.8893 to 1.8898 in.)
Taper and out-of-round
Maximum 0.02 mm (0.0008 in.)
Crank pin diameter 43.992 to 44.000 mm (1.7320 to 1.7323 in.)
Taper and out-of-round
Maximum 0.02 mm (0.0008 in.)
Crankshaft bearing cap set bolt diameter
Standard 7.3 to 7.5 mm (0.287 to 0.295 in.)
Minimum 7.3 mm (0.287 in.)
Crankshaft oil clearance
Standard 0.015 to 0.032 mm (0.0006 to 0.0013 in.)
Minimum 0.05 mm (0.0020 in.)
Cylinder block journal bore diameter
0 52.000 to 52.002 mm (2.0472 to 2.0473 in.)
1 52.003 to 52.004 mm (2.0474 to 2.0474 in.)
2 52.005 to 52.006 mm (2.0474 to 2.0475 in.)
3 52.007 to 52.009 mm (2.0475 to 2.0476 in.)
4 52.010 to 52.011 mm (2.0476 to 2.0477 in.)
5 52.012 to 52.013 mm (2.0477 to 2.0478 in.)
6 52.014 to 52.015 mm (2.0478 to 2.0478 in.)
Crankshaft journal diameter
0 47.999 to 48.000 mm (1.8897 to 1.8898 in.)
1 47.997 to 47.998 mm (1.8896 to 1.8897 in.)
2 47.995 to 47.996 mm (1.8896 to 1.8896 in.)
3 47.993 to 47.994 mm (1.8895 to 1.8895 in.)
4 47.991 to 47.992 mm (1.8894 to 1.8894 in.)
5 47.988 to 47.990 mm (1.8893 to 1.8894 in.)
Standard bearing center wall thickness
1 1.994 to 1.997 mm (0.0785 to 0.0786 in.)
2 1.998 to 2.000 mm (0.0787 to 0.0787 in.)
3 2.001 to 2.003 mm (0.0788 to 0.0789 in.)
4 2.004 to 2.006 mm (0.0789 to 0.0790 in.)
Straight pin (cylinder block)
A 5 mm (0.197 in.)
B 7.5 mm (0.295 in.)
C 12 mm (0.472 in.)
D 8 mm (0.315 in.)
Ring pin (cylinder block)
A 6 mm (0.236 in.)
B 7 mm (0.276 in.)
C 10 mm (0.394 in.)
Manifold stay x Cylinder block sub-assembly 49 N*m (500 kgf*cm, 36 ft.*lbf)
Knock sensor x Cylinder block sub-assembly 20 N*m (205 kgf*cm, 15 ft.*lbf)
Water by-pass pipe No. 1 x Cylinder block sub-assembly 9.0 N*m (92 kgf*cm, 80 in.*lbf)
Oil strainer sub-assembly x Crankshaft bearing cap sub-assembly 9.0 N*m (92 kgf*cm, 80 in.*lbf
Oil pan sub-assembly x Crankshaft bearing cap sub-assembly 9.0 N*m (92 kgf*cm, 80 in.*lbf)
Oil filter union x Crankshaft bearing cap sub-assembly 30 N*m (306 kgf*cm, 22 ft.*lbf)
Oil pump assembly x Cylinder block sub-assembly 9.0 N*m (92 kgf*cm, 80 in.*lbf)
Chain vibration damper No. 1 x Cylinder block sub-assembly 9.0 N*m (92 kgf*cm, 80 in.*lbf)
Chain tensioner slipper x Cylinder block sub-assembly 18.5 N*m (189 kgf*cm, 14 ft.*lbf)
Stud bolt x Cylinder block sub-assembly
A, C and D 5.0 N*m (51 44 in.*lbf)
B 11 N*m (112 kgf*cm, 8 ft.*lbf)
E 9.0 N*m (92 kgf*cm, 80 in.*lbf)
Cylinder block water drain cock sub-assembly x Cylinder block subassembly 25 N*m (255 kgf*cm, 18 ft.*lbf)

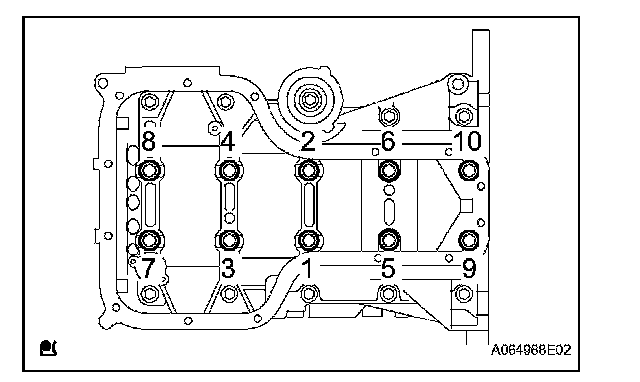
Main Bearing Cap





Tighten the bolts to the specified torque in several passes in the sequence shown.
Torque 44 N*m (449 kgf*cm, 33 ft.*lbf)





Mark the front of the bearing cap bolts with paint.
Retighten the bearing cap bolts by 90° as shown in the illustration.
Check that the painted mark of each bolt is now at a 90° angle to the front.





Tighten the 10 other bolts for the bearing cap.
Torque 19 N*m (194 kgf*cm, 14 ft.*lbf)

Crankshaft Pulley
Torque 138 N*m (1,407 kgf*cm, 102 ft.*lbf)