LEMON Manuals: Even more car manuals for everyone: 1960-2025
Home >> Toyota >> 2007 >> Matrix L4-1.8L (1ZZ-FE) >> Repair and Diagnosis >> Specifications >> Mechanical Specifications >> Engine >> Cylinder Head Assembly >> System Specifications
April 5, 2026: LEMON Manuals is launched! Read the announcement.

System Specifications

Cylinder Head





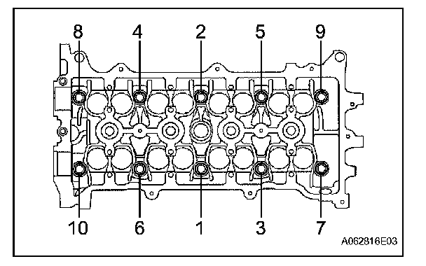
Using several steps, uniformly install and tighten the 10 cylinder head bolts and plate washers with a bi-hexagon wrench 10 mm min the sequence shown in the illustration.
Torque 49 N*m (500 kgf*cm, 36 ft.*lbf)





Mark the front of the cylinder head bolts with paint.
Retighten the cylinder head bolts by 90° in the sequence order shown.
Check that the paint mark of each bolt is at 90° angle to the front.





CYLINDER HEAD SET BOLT
Using vernier calipers, measure the length of the cylinder head bolts from the seat to the end.
Standard length 146.8 to 148.2 mm (5.780 to 5.835 in.)
Maximum length 148.5 mm (5.846 in.)
If the bolt length is greater than maximum, replace the cylinder head set bolt.





CYLINDER HEAD FOR FLATNESS
Using a precision straight edge and a feeler gauge, measure the surface that is in contact with the cylinder block and the manifolds for warpage.
Maximum warpage:
Cylinder block side 0.05 mm (0.0020 in.)
Intake manifold side 0.10 mm (0.0039 in.)
Exhaust manifold side 0.10 mm (0.0039 in.)
If the warpage is greater than maximum, replace the cylinder head.





CYLINDER HEAD FOR CRACKS
Using a dye penetrate, check the combustion chamber, intake ports, exhaust ports and cylinder block surface for cracks.
If cracked, replace the cylinder head.

Engine hanger x Cylinder head sub-assembly 38 N*m (387 kgf*cm, 28 ft.*lbf)
Radio setting condenser x Cylinder head sub-assembly 10 N*m (102 kgf*cm, 7 ft.*lbf)
Engine coolant temperature sensor x Cylinder head sub-assembly 19.6 N*m (200 kgf*cm, 14 ft.*lbf)
Camshaft position sensor x Cylinder head sub-assembly 9.0 N*m (92 kgf*cm, 80 in.*lbf)
Water by-pass pipe No. 1 x Cylinder head sub-assembly 9.0 N*m (92 kgf*cm, 80 in.*lbf)
Camshaft bearing cap No. 1 x Cylinder head sub-assembly 23 N*m (235 kgf*cm, 17 ft.*lbf)
Camshaft bearing cap No. 3 x Cylinder head sub-assembly 13 N*m (133 kgf*cm, 10 ft.*lbf)
Oil control valve filter x Cylinder head sub-assembly 30 N*m (306 kgf*cm, 22 ft.*lbf)
Camshaft timing oil control valve assembly x Cylinder head sub-assembly 9.0 N*m (92 kgf*cm, 80 in.*lbf)
Chain vibration damper No. 1 x Cylinder head sub-assembly 9.0 N*m (92 kgf*cm, 80 in.*lbf)
Stud bolt x Cylinder head sub-assembly
A, D and E 9.5 N*m (97 84 in.*lbf)
B and C 5.0 N*m (51 kgf*cm, 44 in.*lbf)
W/ Head taper screw plug No. 2 x Cylinder head sub-assembly 44 N*m (449 kgf*cm, 33 ft.*lbf)

Intake Manifold
Intake manifold x Cylinder head sub-assembly 30 N*m (306 kgf*cm, 22 ft.*lbf)

Camshaft Bearing Cap





Examine the front marks and numbers and check that the sequence order is as shown in the illustration. Then tighten the bolts.
Torque:
Bearing cap No. 1 23 N*m (235 kgf*cm, 17 ft.*lbf)
Bearing cap No. 3 13 N*m (133 kgf*cm, 10 ft.*lbf)

HINT:
Bearing cap No. 1 is used for bearings numbered from 9 to 11 in the illustration.
Bearing cap No. 3 is used for bearings numbered from 1 to 8 in the illustration.

Camshaft Gear/Sprocket
Torque 54 N*m (551 kgf*cm, 40 ft.*lbf)

Exhaust Manifold
Exhaust manifold x Cylinder head sub-assembly 37 N*m (377 kgf*cm, 27 ft.*lbf)
Exhaust manifold heat insulator No. 1 x Exhaust manifold 18 N*m (184 kgf*cm, 13 ft.*lbf)
Manifold stay x Exhaust manifold 49 N*m (500 kgf*cm, 36 ft.*lbf)
Heated oxygen sensor x Exhaust manifold 44 N*m (450 kgf*cm, 33 ft.*lbf)