LEMON Manuals: Even more car manuals for everyone: 1960-2025
Home >> Toyota >> 2007 >> Prius Base >> Repair and Diagnosis >> Engine Performance >> Engine Control System >> SFI System >> DTC P0171 System Too Lean (Fuel Trim); DTC P0172 System Too Rich (Bank 1) >> Monitor Description
April 5, 2026: LEMON Manuals is launched! Read the announcement.

Monitor Description

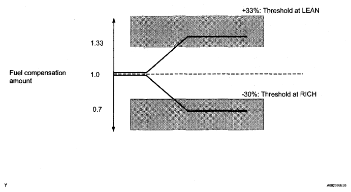
Fig 1: Fuel Compensation Graph
G05188684Courtesy of © TOYOTA, LICENSE AGREEMENT TMS1002

Under closed-loop fuel control, fuel injection amount that deviates from the ECM's estimated fuel amount will cause a change in the long-term fuel trim compensation value. This long-term fuel trim is adjusted when there are persistent deviations in the short-term fuel trim values. And the deviation from the simulated fuel injection amount by the ECM affects a smoothed fuel trim learning value. The smoothed fuel trim learning value is the combination of smoothed short-term fuel trim (fuel feedback compensation value) and smoothed long-term fuel trim (learning value of the air-fuel ratio). When the smoothed fuel trim learning value exceeds the DTC threshold, the ECM interprets this as a fault in the fuel system and sets a DTC.

Example:

The smoothed fuel trim leaning value is more than +33% or less than -30%.

The ECM interprets this as a failure in the fuel system.

DTC P0171 indicates that the air-fuel mixture is extremely LEAN, and P0172 indicates extremely RICH.