LEMON Manuals: Even more car manuals for everyone: 1960-2025
Home >> Toyota >> 2007 >> RAV4 Base, 2.4 D, AWD >> Repair and Diagnosis >> External Pages >> Different car >> Section 505 (Occupant Classification System (Diagnostic Codes)) >> Occupant Classification System >> DTC B1771: Passenger Side Buckle Switch Circuit Malfunction >> Procedure
April 5, 2026: LEMON Manuals is launched! Read the announcement.

DTC B1771: Passenger Side Buckle Switch Circuit Malfunction: Procedure

WARNING: This page is about a different car, the 2010 Toyota 4Runner. However, it is still accessible from the selected car via links, so may be relevant.
  1. CHECK FOR DTC 
    1. Turn the ignition switch to ON, and wait for at least 60 seconds.
    2. Clear the DTCs stored in memory. Refer to DTC CHECK / CLEAR .

      HINT: 

      First clear the DTCs stored in the occupant classification ECU, and then clear the DTCs stored in the center airbag sensor.

    3. Turn the ignition switch off.
    4. Turn the ignition switch to ON, and wait for at least 60 seconds.
    5. Check for DTCs. Refer to DTC CHECK / CLEAR .

      OK

      DTC B1771 is not output.

      HINT: 

      Codes other than DTC B1771 may be output at this time, but they are not related to this check.

    NG → See step   2 

    OK → See step   10 

  2. CHECK CONNECTION OF CONNECTOR 
    1. Turn the ignition switch off.
    2. Disconnect the cable from the negative (-) battery terminal, and wait for at least 90 seconds.
    3. Check that the connectors are properly connected to the occupant classification ECU and front seat inner belt RH.

      OK

      Connectors are properly connected.

    NG → CONNECT CONNECTOR 

    OK: Go to next step 

  3. CHECK CONNECTOR 
    1. Disconnect the connectors from the occupant classification ECU and front seat inner belt RH.
    2. Check that the connectors (on the occupant classification ECU side and front passenger side buckle switch side) are not damaged. Refer to ELECTRONIC CIRCUIT INSPECTION PROCEDURE .

      OK

      Connectors are not deformed or damaged.

    NG → REPLACE FRONT SEAT WIRE RH 

    OK: Go to next step 

  4. CHECK FRONT SEAT WIRE RH 
    1. Connect the cable to the negative (-) battery terminal, and wait for at least 2 seconds.
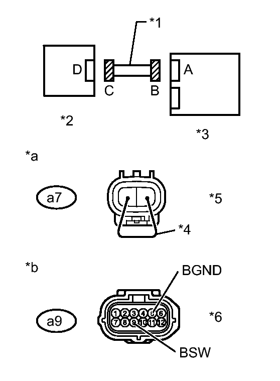
      Fig 1: Identifying Front Seat Wire RH
      GTY215702Courtesy of © TOYOTA, LICENSE AGREEMENT TMS1002
    2. Measure the voltage according to the value(s) in the table below.

      Standard Voltage

      Tester Connection Switch Condition Specified Condition
      a9-9 (BSW) - Body ground Ignition switch ON Below 1 V
      a9-5 (BGND) - Body ground
    3. Turn the ignition switch off.
    4. Disconnect the cable from the negative (-) battery terminal, and wait for at least 90 seconds.
    5. Using a service wire, connect terminals 2 (RBE+) and 1 (RBE-) of connector C.
      NOTE:

      Do not forcibly insert the service wire into the terminals of the connector.

    6. Measure the resistance according to the value(s) in the table below.

      Standard Resistance

      Tester Connection Condition Specified Condition
      a9-9 (BSW) - a9-5 (BGND) Always Below 1 Ω
    7. Disconnect the service wire from connector C.
    8. Measure the resistance according to the value(s) in the table below.

      Standard Resistance

      Tester Connection Condition Specified Condition
      a9-9 (BSW) - Body ground Always 1 MΩ or higher
      a9-5 (BGND) - Body ground
      a9-9 (BSW) - a9-5 (BGND)
      TEXT IN ILLUSTRATION

      *1 Front Seat Wire RH
      *2 Front Seat Inner Belt RH
      *3 Occupant Classification ECU
      *4 Service Wire
      *5 Connector C
      *6 Connector B
      *a Front view of wire harness connector
      (to Front Seat Inner Belt RH)
      *b Front view of wire harness connector
      (to Occupant Classification ECU)

    NG → REPLACE FRONT SEAT WIRE RH 

    OK: Go to next step 

  5. CHECK FOR DTC 
    1. Connect the connectors to the occupant classification ECU and front seat inner belt RH.
    2. Connect the cable to the negative (-) battery terminal, and wait for at least 2 seconds.
    3. Turn the ignition switch to ON, and wait for at least 60 seconds.
    4. Clear the DTCs stored in memory. Refer to DTC CHECK / CLEAR .

      HINT: 

      First clear the DTCs stored in the occupant classification ECU, and then clear the DTCs stored in the center airbag sensor.

    5. Turn the ignition switch off.
    6. Turn the ignition switch to ON, and wait for at least 60 seconds.
    7. Check for DTCs. Refer to DTC CHECK / CLEAR .

      OK

      DTC B1771 is not output.

      HINT: 

      Codes other than DTC B1771 may be output at this time, but they are not related to this check.

    NG → See step   6 

    OK → See step   11 

  6. REPLACE FRONT SEAT INNER BELT ASSEMBLY RH 
    1. Turn the ignition switch off.
    2. Disconnect the cable from the negative (-) battery terminal, and wait for at least 90 seconds.
    3. Replace the front seat inner belt RH. Refer to REMOVAL .

      HINT: 

      Perform the inspection using parts from a normal vehicle when possible.

    4. Connect the cable to the negative (-) battery terminal, and wait for at least 2 seconds.
    5. Turn the ignition switch to ON, and wait for at least 60 seconds.
    6. Clear the DTCs stored in memory. Refer to DTC CHECK / CLEAR .

      HINT: 

      First clear the DTCs stored in the occupant classification ECU, and then clear the DTCs stored in the center airbag sensor.

    7. Turn the ignition switch off.
    8. Turn the ignition switch to ON, and wait for at least 60 seconds.
    9. Check for DTCs. Refer to DTC CHECK / CLEAR .

      OK

      DTC B1771 is not output.

      HINT: 

      Codes other than DTC B1771 may be output at this time, but they are not related to this check.

    NG → See step   7 

    OK → END 

  7. REPLACE OCCUPANT CLASSIFICATION ECU 
    1. Turn the ignition switch off.
    2. Disconnect the cable from the negative (-) battery terminal, and wait for at least 90 seconds.
    3. Replace the occupant classification ECU. Refer to REMOVAL .

      HINT: 

      Perform the inspection using parts from a normal vehicle when possible.

    4. Connect the cable to the negative (-) battery terminal, and wait for at least 2 seconds.
    5. Turn the ignition switch to ON, and wait for at least 60 seconds.
    6. Clear the DTCs stored in memory. Refer to DTC CHECK / CLEAR .

      HINT: 

      If the DTCs are not cleared at this time, past DTCs will remain.

    NEXT: Go to next step 

  8. PERFORM ZERO POINT CALIBRATION 
    1. Turn the ignition switch to ON, and wait for at least 60 seconds.
    2. Using the Techstream, perform the zero point calibration. Refer to INITIALIZATION .

      OK

      "Zero Point Calibration is complete." is displayed.

    NEXT: Go to next step 

  9. PERFORM SENSITIVITY CHECK 
    1. Using the Techstream, perform the sensitivity check. Refer to INITIALIZATION .

      Standard range

      27 to 33 kg (59.5 to 72.8 lb)

    NEXT → END 

  10. USE SIMULATION METHOD TO CHECK. Refer to  DIAGNOSIS SYSTEM 
  11. USE SIMULATION METHOD TO CHECK. Refer to  DIAGNOSIS SYSTEM