LEMON Manuals: Even more car manuals for everyone: 1960-2025
Home >> Toyota >> 2007 >> RAV4 Base, 2.4 D, AWD >> Repair and Diagnosis >> External Pages >> Different car >> Section 505 (Occupant Classification System (Diagnostic Codes)) >> Occupant Classification System >> DTC B1790: Center Airbag Sensor Assembly Communication Circuit Malfunction >> Procedure
April 5, 2026: LEMON Manuals is launched! Read the announcement.

DTC B1790: Center Airbag Sensor Assembly Communication Circuit Malfunction: Procedure

WARNING: This page is about a different car, the 2010 Toyota 4Runner. However, it is still accessible from the selected car via links, so may be relevant.
  1. CHECK FOR DTC 
    1. Turn the ignition switch to ON, and wait for at least 60 seconds.
    2. Clear the DTCs stored in memory. Refer to DTC CHECK / CLEAR .

      HINT: 

      • First clear the DTCs stored in the occupant classification ECU, and then clear the DTCs stored in the center airbag sensor.
      • Use the Techstream to clear the DTCs of the occupant classification ECU, otherwise the DTCs cannot be cleared.
    3. Turn the ignition switch off.
    4. Turn the ignition switch to ON, and wait for at least 60 seconds.
    5. Using the Techstream, check for DTCs of the occupant classification ECU. Refer to DTC CHECK / CLEAR .

      OK

      DTC B1790 is not output.

      HINT: 

      DTCs other than DTC B1790 may be output at this time, but they are not related to this check.

    NG → See step   2 

    OK → See step   11 

  2. CHECK CONNECTION OF CONNECTOR 
    1. Turn the ignition switch off.
    2. Disconnect the cable from the negative (-) battery terminal, and wait for at least 90 seconds.
    3. Check that the connectors are properly connected to the occupant classification ECU and center airbag sensor.

      OK

      Connectors are properly connected.

    NG → CONNECT CONNECTOR 

    OK: Go to next step 

  3. CHECK CONNECTOR 
    1. Disconnect the connectors from the center airbag sensor and occupant classification ECU.
    2. Check that the connectors (on the center airbag sensor side and occupant classification ECU side) are not damaged. Refer to ELECTRONIC CIRCUIT INSPECTION PROCEDURE .

      OK

      Connectors are not deformed or damaged.

    NG → REPLACE HARNESS OR CONNECTOR 

    OK: Go to next step 

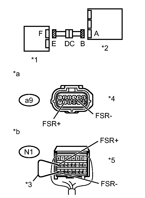
  4. CHECK OCCUPANT CLASSIFICATION SYSTEM CIRCUIT 
    1. Connect the cable to the negative (-) battery terminal, and wait for at least 2 seconds.
      Fig 1: Identifying Occupant Classification System Circuit Wiring Diagram
      GTY235452Courtesy of © TOYOTA, LICENSE AGREEMENT TMS1002
    2. Measure the voltage according to the value(s) in the table below.

      Standard Voltage

      Tester Connection Switch Condition Specified Condition
      a9-8 (FSR+) - Body ground Ignition switch ON Below 1 V
      a9-4 (FSR-) - Body ground
    3. Turn the ignition switch off.
    4. Disconnect the cable from the negative (-) battery terminal, and wait for at least 90 seconds.
    5. Using a service wire, connect terminals 16 (FSR+) and 24 (FSR-) of connector B.
      NOTE:

      Do not forcibly insert the service wire into the terminals of the connector.

    6. Measure the resistance according to the value(s) in the table below.

      Standard Resistance

      Tester Connection Condition Specified Condition
      a9-8 (FSR+) - a9-4 (FSR-) Always Below 1 Ω
    7. Disconnect the service wire from connector B.
    8. Measure the resistance according to the value(s) in the table below.

      Standard Resistance

      Tester Connection Condition Specified Condition
      a9-8 (FSR+) - a9-4 (FSR-) Always 1 MΩ or higher
      a9-8 (FSR+) - Body ground
      a9-4 (FSR-) - Body ground
      TEXT IN ILLUSTRATION

      *1 Occupant Classification ECU
      *2 Center Airbag Sensor
      *3 Service Wire
      *4 Connector E
      *5 Connector B
      *a Front view of wire harness connector
      (to Occupant Classification ECU)
      *b Front view of wire harness connector
      (to Center Airbag Sensor)

    NG → See step   10 

    OK: Go to next step 

  5. CHECK FOR DTC 
    1. Connect the connectors to the occupant classification ECU and center airbag sensor.
    2. Connect the cable to the negative (-) battery terminal, and wait for at least 2 seconds.
    3. Turn the ignition switch to ON, and wait for at least 60 seconds.
    4. Clear the DTCs stored in memory. Refer to DTC CHECK / CLEAR .

      HINT: 

      • First clear the DTCs stored in the occupant classification ECU, and then clear the DTCs stored in the center airbag sensor.
      • Use the Techstream to clear the DTCs of the occupant classification ECU, otherwise the DTCs cannot be cleared.
    5. Turn the ignition switch off.
    6. Turn the ignition switch to ON, and wait for at least 60 seconds.
    7. Using the Techstream, check for DTCs of the occupant classification ECU. Refer to DTC CHECK / CLEAR .

      OK

      DTC B1790 is not output.

      HINT: 

      DTCs other than DTC B1790 may be output at this time, but they are not related to this check.

    NG → See step   6 

    OK → See step   12 

  6. REPLACE OCCUPANT CLASSIFICATION ECU 
    1. Turn the ignition switch off.
    2. Disconnect the cable from the negative (-) battery terminal, and wait for at least 90 seconds.
    3. Replace the occupant classification ECU. Refer to REMOVAL .

      HINT: 

      Perform the inspection using parts from a normal vehicle when possible.

    NEXT: Go to next step 

  7. PERFORM ZERO POINT CALIBRATION 
    1. Connect the cable to the negative (-) battery terminal, and wait for at least 2 seconds.
    2. Turn the ignition switch to ON, and wait for at least 60 seconds.
    3. Using the Techstream, perform the zero point calibration. Refer to INITIALIZATION .

      OK

      "Zero Point Calibration is complete." is displayed.

    NEXT: Go to next step 

  8. PERFORM SENSITIVITY CHECK 
    1. Using the Techstream, perform the sensitivity check. Refer to INITIALIZATION .

      Standard range

      27 to 33 kg (59.5 to 72.8 lb)

    NEXT: Go to next step 

  9. CHECK FOR DTC 
    1. Clear the DTCs stored in memory. Refer to DTC CHECK / CLEAR .

      HINT: 

      • First clear the DTCs stored in the occupant classification ECU, and then clear the DTCs stored in the center airbag sensor.
      • Use the Techstream to clear the DTCs of the occupant classification ECU, otherwise the DTCs cannot be cleared.
    2. Turn the ignition switch off.
    3. Turn the ignition switch to ON, and wait for at least 60 seconds.
    4. Using the Techstream, check for DTCs of the occupant classification ECU. Refer to DTC CHECK / CLEAR .

      OK

      DTC B1790 is not output.

      HINT: 

      DTCs other than DTC B1790 may be output at this time, but they are not related to this check.

    NG → See step   13 

    OK → END 

  10. CHECK FRONT SEAT WIRE RH 
    1. Disconnect the front seat wire RH connector from the floor wire.
      Fig 2: Identifying Front Seat Wire RH Connector
      GTY220519Courtesy of © TOYOTA, LICENSE AGREEMENT TMS1002
    2. Connect the cable to the negative (-) battery terminal, and wait for at least 2 seconds.
    3. Measure the voltage according to the value(s) in the table below.

      Standard Voltage

      Tester Connection Switch Condition Specified Condition
      Na2-1 (FSR+) - Body ground Ignition switch ON Below 1 V
      Na2-4 (FSR-) - Body ground
    4. Turn the ignition switch off.
    5. Disconnect the connector from the occupant classification ECU.
    6. Using a service wire, connect terminals 8 (FSR+) and 4 (FSR-) of connector E.
      NOTE:

      Do not forcibly insert the service wire into the terminals of the connector.

    7. Measure the resistance according to the value(s) in the table below.

      Standard Resistance

      Tester Connection Condition Specified Condition
      Na2-1 (FSR+) - Na2-4 (FSR-) Always Below 1 Ω
    8. Disconnect the service wire from connector E.
    9. Measure the resistance according to the value(s) in the table below.

      Standard Resistance

      Tester Connection Condition Specified Condition
      Na2-1 (FSR+) - Na2-4 (FSR-) Always 1 MΩ or higher
      Na2-1 (FSR+) - Body ground
      Na2-4 (FSR-) - Body ground
      TEXT IN ILLUSTRATION

      *1 Front Seat Wire RH
      *2 Floor Wire
      *3 Occupant Classification ECU
      *4 Center Airbag Sensor
      *5 Service Wire
      *6 Connector E
      *7 Connector D
      *a Front view of wire harness connector
      (to Occupant Classification ECU)
      *b Front view of wire harness connector
      (to Front Seat Wire RH)

    NG → REPLACE FRONT SEAT WIRE RH 

    OK → REPLACE FLOOR WIRE 

  11. USE SIMULATION METHOD TO CHECK. Refer to  DIAGNOSIS SYSTEM 
  12. USE SIMULATION METHOD TO CHECK. Refer to  DIAGNOSIS SYSTEM 
  13. REPLACE CENTER AIRBAG SENSOR ASSEMBLY. Refer to  REMOVAL