LEMON Manuals: Even more car manuals for everyone: 1960-2025
Home >> Toyota >> 2007 >> RAV4 Base, 2.4 D, FWD >> Repair and Diagnosis >> External Pages >> Different variant/trim >> Section 15 (Engine Control System (2GR-FE)) >> SFI System >> EVAP System >> Inspection Procedure
April 5, 2026: LEMON Manuals is launched! Read the announcement.

Inspection Procedure

WARNING: This page is about a different variant/trim than selected.
NOTE: The intelligent tester is required to conduct the following diagnostic troubleshooting procedure.

HINT:

  1. CONFIRM DTC 
    1. Turn the ignition switch OFF and wait for 10 seconds.
    2. Turn the ignition switch ON.
    3. Turn the ignition switch OFF and wait for 10 seconds.
    4. Connect the intelligent tester to the DLC3.
    5. Turn the ignition switch ON and turn the tester ON.
    6. Select the following menu items: DIAGNOSIS / ENHANCED OBD II / DTC INFO / CURRENT CODES.
    7. Confirm DTCs and freeze frame data.

      If any EVAP system DTCs are set, the malfunctioning area can be determined using the table below.

      NOTE: If the reference pressure difference between the first and second checks is greater than the specification, all the DTCs relating to the reference pressure (P043E, P043F, P2401, P2402 and P2419) are stored.
      Fig 1: DTC Chart
      G04828290Courtesy of © TOYOTA, LICENSE AGREEMENT TMS1002
  2. PERFORM EVAP SYSTEM CHECK (AUTO OPERATION) 
    NOTE:
    • The EVAP SYSTEM CHECK (AUTO OPERATION) consists of 5 steps performed automatically by the intelligent tester. It takes a maximum of approximately 18 minutes.
    • Do not perform the EVAP SYSTEM CHECK when the fuel tank is more than 90% full because the cut-off valve may be closed, making the fuel tank leak check unavailable.
    • Do not run the engine during this operation.
    • When the temperature of the fuel is 35°C (95°F) or more, a large amount of vapor forms and any check results become inaccurate. When performing the EVAP SYSTEM CHECK, keep the temperature below 35°C (95°F).
    1. Clear DTCs (see DTC CHECK/CLEAR ).
    2. On the tester, select the following menu items: DIAGNOSIS / ENHANCED OBD II / SYSTEM CHECK / EVAP SYS CHECK / AUTO OPERATION.
    3. After the EVAP SYSTEM CHECK is completed, check for pending DTCs by selecting the following menu items: DIAGNOSIS / ENHANCED OBD II / DTC INFO / PENDING CODES.

    HINT:

    If no pending DTCs are displayed, perform the MONITOR CONFIRMATION (see "Diagnostic Help" menu). After this confirmation, check for pending DTCs. If no DTCs are displayed, the EVAP system is normal.

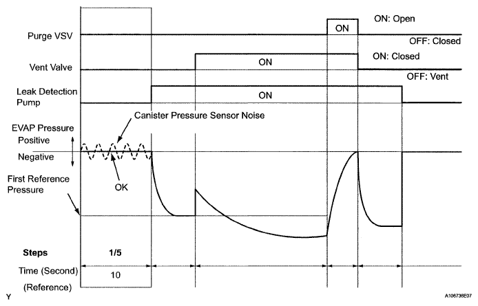
  3. PERFORM EVAP SYSTEM CHECK (MANUAL OPERATION) 
    Fig 2: Manual Operation - EVAP System
    G05184195Courtesy of © TOYOTA, LICENSE AGREEMENT TMS1002
    NOTE:
    • In the EVAP SYSTEM CHECK (MANUAL OPERATION), perform the series of 5 EVAP SYSTEM CHECK steps manually using the intelligent tester.
    • Do not perform the EVAP SYSTEM CHECK when the fuel tank is more than 90% full because the cut-off valve may be closed, making the fuel tank leak check unavailable.
    • Do not run the engine during this operation.
    • When the temperature of the fuel is 35°C (95°F) or more, a large amount of vapor forms and any check results become inaccurate. When performing the EVAP SYSTEM CHECK, keep the temperature below 35°C (95°F).
    1. Clear DTCs (see DTC CHECK/CLEAR ).
    2. Select the following menu items: DIAGNOSIS / ENHANCED OBD II / SYSTEM CHECK / EVAP SYS CHECK / MANUAL OPERATION.
  4. PERFORM EVAP SYSTEM CHECK (STEP 1/5) 
    Fig 3: EVAP System Graph - Step 1/5
    G05184196Courtesy of © TOYOTA, LICENSE AGREEMENT TMS1002
    1. Check the EVAP pressure in step 1/5.

      Result 

      RESULT CHART

      DTCs(1) Test Result Suspected Trouble Area Proceed to
      - Virtually no variation in EVAP pressure Not yet determined A
      P0451  EVAP pressure fluctuates by +-0.3 kPa-g (2.25 mmHg-g) or more Canister pressure sensor noise B
      (1) These DTCs are already present in the ECM when the vehicle arrives and are confirmed in the "CONFIRM DTC" procedures above.

      B: GO to step  29

      A: GO to Next Step 

  5. PERFORM EVAP SYSTEM CHECK (STEP 1/5 TO 2/5) 
    Fig 4: EVAP System Graph - Step 1/5 To 2/5
    G05184197Courtesy of © TOYOTA, LICENSE AGREEMENT TMS1002
    1. Check the EVAP pressure in steps 1/5 and 2/5.

    Result 

    RESULT CHART

    DTCs(1) Test Result Suspected Trouble Area Proceed to
    - Virtually no variation in EVAP pressure during step 1/5. Then decreases to reference pressure Not yet determined A
    P2402  Small difference between EVAP pressures during steps 1/5 and 2/5 Leak detection pump stuck ON B
    (1) These DTCs are already present in the ECM when the vehicle arrives and are confirmed in the "CONFIRM DTC" procedures above.

    HINT:

    The first reference pressure is the value determined in step 2/5.

    B: GO to step  22

    A: GO to Next Step 

  6. PERFORM EVAP SYSTEM CHECK (STEP 2/5) 
    Fig 5: EVAP System Graph - Step 2/5
    G05184198Courtesy of © TOYOTA, LICENSE AGREEMENT TMS1002

    HINT:

    Make a note of the pressures checked in steps (a) and (b) below.

    1. Check the EVAP pressure 4 seconds after the leak detection pump is activated*.

      *: The leak detection pump begins to operate as step 1/5 finishes and step 2/5 starts.

    2. Check the EVAP pressure again when it has stabilized. This pressure is the reference pressure.

    Result 

    RESULT CHART

    DTCs(1) Test Result Suspected Trouble Area Proceed to
    - EVAP pressure in step (b) between -4.85 kPa-g and -1.057 kPa-g (-36.4 mmHg-g and -7.93 mmHg-g) Not yet determined A
    P043F  and P2401  EVAP pressure in step (b) -1.057 kPa-g (-7.93 mmHg-g) or more
    • Reference orifice high-flow
    • Leak detection pump stuck OFF
    B
    P043E  EVAP pressure in step (b) below -4.85 kPa-g (-36.4 mmHg-g) Reference orifice clogged C
    P2419  EVAP pressure In step (a) more than -1.057 kPa-g (-7.93 mmHg-g) Vent valve stuck closed D
    (1) These DTCs are already present in the ECM when the vehicle arrives and are confirmed in the "CONFIRM DTC" procedures above.

    B: GO to step  11

    C: GO to step  29

    D: GO to step  20

    A: GO to Next Step 

  7. PERFORM EVAP SYSTEM CHECK (STEP 2/5 TO 3/5) 
    Fig 6: EVAP System Graph - Step 2/5 To 3/5
    G05184199Courtesy of © TOYOTA, LICENSE AGREEMENT TMS1002
    1. Check the EVAP pressure increase in step 3/5.

    Result 

    RESULT CHART

    DTCs(1) Test Result Suspected Trouble Area Proceed to
    - EVAP pressure increases by 0.3 kPa-g (2.25 mmHg-g) or more within 10 seconds of proceeding from step 2/5 to step 3/5 Not yet determined A
    P2420  No variation in EVAP pressure despite proceeding from step 2/5 to step 3/5 Vent valve stuck open (vent) B
    P0451  No variation in EVAP pressure during steps 1/ 5 through 3/5 Canister pressure sensor output value stuck C
    (1) These DTCs are already present in the ECM when the vehicle arrives and are confirmed in the "CONFIRM DTC" procedures above.

    B: GO to step  19

    C: GO to step  29

    A: GO to Next Step 

  8. PERFORM EVAP SYSTEM CHECK (STEP 3/5) 
    Fig 7: EVAP System Graph (Step 3/5)
    G04828304Courtesy of © TOYOTA, LICENSE AGREEMENT TMS1002
    1. Wait until the EVAP pressure change is less than 0.1 kPa-g (0.75 mmHg-g) for 30 seconds.
    2. Measure the EVAP pressure and record it.

    HINT:

    A few minutes are required for the EVAP pressure to become saturated. When there is little fuel in the fuel tank, it takes up to 15 minutes.

  9. PERFORM EVAP SYSTEM CHECK (STEP 4/5) 
    Fig 8: EVAP System Graph - Step 4/5
    G05184201Courtesy of © TOYOTA, LICENSE AGREEMENT TMS1002
    1. Check the EVAP pressure in step 4/5.

    Result 

    RESULT CHART

    DTCs(1) Test Result Suspected Trouble Area Proceed to
    - EVAP pressure Increases by 0.3 kPa-g (2.25 mmHg-g) or more within 10 seconds of proceeding from step 3/5 to step 4/5 Not yet determined A
    P0441  EVAP pressure increases by 0.3 kPa-g (2.25 mmHg-g) or more within 10 seconds of proceeding from step 3/5 to step 4/5 Problems in EVAP hose between purge VSV and intake manifold B
    P0441  Variation in EVAP pressure less than 0.3 kPa-g (2.25 mmHg-g) for 10 seconds, after proceeding from step 3/5 to step 4/5 Purge VSV stuck closed C
    (1) These DTCs are already present in the ECM when the vehicle arrives and are confirmed in the "CONFIRM DTC" procedures above.

    B: GO to step  15

    C: GO to step  12

    A: GO to Next Step 

  10. PERFORM EVAP SYSTEM CHECK (STEP 5/5) 
    Fig 9: EVAP System Graph - Step 5/5
    G05184202Courtesy of © TOYOTA, LICENSE AGREEMENT TMS1002
    1. Check the EVAP pressure in step 5/5.
    2. Compare the EVAP pressure in step 3/5 and the second reference pressure (step 5/5).

    Result 

    RESULT CHART

    DTCs(1) Test Result Suspected Trouble Area Proceed to
    - EVAP pressure (step 3/5) lower than second reference pressure (step 5/5) Not yet determined (no leakage from EVAP system) A
    P0441  and P0455  EVAP pressure (step 3/5) higher than [second reference pressure (step 5/5) x 0.2]
    • Purge VSV stuck open
    • EVAP gross leak
    B
    P0456  EVAP pressure (step 3/5) higher than second reference pressure (step 5/5) EVAP small leak B
    (1) These DTCs are already present in the ECM when the vehicle arrives and are confirmed in the "CONFIRM DTC" procedures above.

    A: GO to step  35

    B: GO to step  12

  11. PERFORM EVAP SYSTEM CHECK (STEP 3/5) 
    Fig 10: EVAP System Graph - Step 3/5
    G04828307Courtesy of © TOYOTA, LICENSE AGREEMENT TMS1002
    1. Check the EVAP pressure in step 3/5.

    Result 

    RESULT CHART

    DTCs(1) Test Result Suspected Trouble Area Proceed to
    P043F  EVAP pressure less than [reference pressure] measured at 2/5 Reference orifice high-flow A
    P2401  EVAP pressure almost same as [reference pressure] measured at 2/5 Leak detection pump stuck OFF B

    (1) These DTCs are already present in the ECM when the vehicle arrives and are confirmed in the "CONFIRM DTC" procedures above.

    HINT:

    The first reference pressure is the value determined in step 2/5.

    A: GO to step  29

    B: GO to step  22

  12. PERFORM ACTIVE TEST USING INTELLIGENT TESTER (PURGE VSV) 
    1. On the intelligent tester, select the following menu items: DIAGNOSIS / ENHANCED OBD II / ACTIVE TEST / EVAP VSV (ALONE).
    2. Disconnect the hose (connected to the canister) from the purge VSV.
    3. Start the engine.
    4. Using the tester, turn off the purge VSV (EVAP VSV: OFF).
    5. Use your finger to confirm that the purge VSV has no suction.
    6. Using the tester, turn on the purge VSV (EVAP VSV: ON).
    7. Use your finger to confirm that the purge VSV has suction.
      Fig 11: Locating Hose And Purge VSV
      G05183752Courtesy of © TOYOTA, LICENSE AGREEMENT TMS1002

      Result 

      RESULT CHART

      Test Result Suspected Trouble Area Proceed to
      No suction when purge VSV turned OFF, and suction applied when turned ON Purge VSV normal A
      Suction applied when purge VSV turned OFF Purge VSV stuck open B
      No suction when purge VSV turned ON
      • Purge VSV stuck closed
      • Problems with EVAP hose between purge VSV and intake manifold
      C
    8. Reconnect the hose.

    B: GO to step  14

    C: GO to step  15

    A: GO to Next Step 

  13. CHECK FUEL CAP ASSEMBLY 
    1. Check that the fuel cap is correctly installed and confirm the fuel cap meets OEM specifications.
    2. Tighten the fuel cap until a few click sounds are heard.

      HINT:

      If an EVAP tester is available, check the fuel cap using the tester.

      1. Remove the fuel cap and install it onto a fuel cap adapter.
      2. Connect an EVAP tester pump hose to the adapter, and pressurize the cap to 3.2 to 3.7 kPa (24 to 28 mmHg) using an EVAP tester pump.
      3. Seal the adapter and wait for 2 minutes.
      4. Check the pressure. If the pressure is 2 kPa (15 mmHg) or more, the fuel cap is normal.

      Result 

      RESULT CHART

      Test Result Suspected Trouble Area Proceed to
      Fuel cap correctly installed - A
      Fuel cap loose
      • Fuel cap Improperly installed
      • Defective fuel cap
      • Fuel cap does not meet OEM specifications
      B
      Defective fuel cap - B
      No fuel cap - C
    3. Reinstall the fuel cap. A

    A: GO to step  28

    B: GO to step  26

    C: GO to step  27

  14. INSPECT PURGE VSV 
    1. Turn the ignition switch OFF.
    2. Disconnect the B34 purge VSV connector.
    3. Disconnect the hose (connected to the canister) from the purge VSV.
    4. Start the engine.
    5. Use your finger to confirm that the purge VSV has no suction.
      Fig 12: Locating Hose And Purge VSV
      G05183753Courtesy of © TOYOTA, LICENSE AGREEMENT TMS1002

      Result 

      RESULT CHART

      Test Result Suspected Trouble Area Proceed to
      No suction ECM A
      Suction applied Purge VSV B
    6. Reconnect the purge VSV connector.
    7. Reconnect the hose.

    A: GO to step  34

    B: GO to step  30

  15. CHECK EVAP HOSE (PURGE VSV - INTAKE MANIFOLD) 
    1. Disconnect the hose (connected to the intake manifold) from the purge VSV.
    2. Start the engine.
    3. Use your finger to confirm that the hose has suction.
      Fig 13: Identifying EVAP Hose And Purge VSV
      G05183754Courtesy of © TOYOTA, LICENSE AGREEMENT TMS1002

      Result 

      RESULT CHART

      Test Result Suspected Trouble Area Proceed to
      Suction applied EVAP hose between purge VSV and intake manifold normal A
      No suction
      • Intake manifold port
      • EVAP hose between purge VSV and intake manifold
      B
    4. Reconnect the hose.

    B: GO to step  25

    A: GO to Next Step 

  16. INSPECT PURGE VSV 
    1. Remove the purge VSV.
    2. Apply the battery voltage to the terminals of the purge VSV.
    3. Using an air gun, confirm that air flows from port A to port B.
      Fig 14: Applying Battery Voltage To Terminals Of Purge VSV
      G04828311Courtesy of © TOYOTA, LICENSE AGREEMENT TMS1002

      Result 

      RESULT CHART

      Test Result Suspected Trouble Area Proceed to
      Air flows - A
      No air flow Purge VSV B
    4. Install the purge VSV.

    B: GO to step  30

    A: GO to Next Step 

  17. CHECK WIRE HARNESS (POWER SOURCE OF PURGE VSV) 
    1. Disconnect the B34 purge VSV connector.
    2. Turn the ignition switch ON.
    3. Measure the voltage between terminal 1 of the purge VSV connector and the body ground.
      Fig 15: Identifying B34 Purge VSV Connector Terminals
      G05184208Courtesy of © TOYOTA, LICENSE AGREEMENT TMS1002

      Result 

      RESULT CHART

      Test Result Suspected Trouble Area Proceed to
      9 to 14 V Normal A
      Other than result above Wire harness or connectors between purge VSV and ECM B
    4. Reconnect the purge VSV connector.

    B: GO to step  31

    A: GO to Next Step 

  18. CHECK WIRE HARNESS (PURGE VSV - ECM) 
    1. Disconnect the B30 ECM connector and the B34 purge VSV connector.
    2. Measure the resistance.

      Standard resistance 

      TESTER CONNECTION SPECIFIED CONDITION

      Tester Connection Specified Condition
      B30-108 (PRG) - B34-2 (Purge VSV) Below 1 Ω
      B30-108 (PRG) - Body ground 10 kΩ or higher
      B34-2 (Purge VSV) - Body ground 10 kΩ or higher
    3. Reconnect the purge VSV connector.
    4. Reconnect the ECM connector.

    OK: GO to step  34

    NG: GO to step  31

    Fig 16: Identifying B30 ECM Connector And B34 Purge VSV Connector Terminals
    G05184209Courtesy of © TOYOTA, LICENSE AGREEMENT TMS1002
  19. INSPECT CANISTER PUMP MODULE (POWER SOURCE FOR VENT VALVE) 
    1. Turn the ignition switch OFF.
    2. Disconnect the S3 canister pump module connector.
    3. Turn the ignition switch ON.
    4. Measure the voltage between VLVB terminal of the canister pump module connector and the body ground.
      Fig 17: Identifying S3 Canister Pump Module Connector
      G05184210Courtesy of © TOYOTA, LICENSE AGREEMENT TMS1002

      Result 

      RESULT CHART

      Test Result Suspected Trouble Area Proceed to
      9 to 14 V
      • Wire harness between vent valve and ECM
      • Vent valve
      • ECM
      A
      Below 3 V Power source wire harness of vent valve B
    5. Reconnect the canister pump module connector.

    B: GO to step  31

    A: GO to Next Step 

  20. INSPECT CANISTER PUMP MODULE (VENT VALVE OPERATION) 
    1. Turn the ignition switch OFF.
    2. Disconnect the S3 canister pump module connector.
    3. Apply the battery voltage to VLVB and VGND terminals of the canister pump module.
    4. Touch the canister pump module to confirm the vent valve operation.
      Fig 18: Identifying S3 Canister Pump Module Connector Terminals
      G04828315Courtesy of © TOYOTA, LICENSE AGREEMENT TMS1002

      Result 

      RESULT CHART

      Test Result Suspected Trouble Area Proceed to
      Operating 1. Wire harness between vent valve and ECM 2. ECM A
      Not operating Vent valve B
    5. Reconnect the canister connector.

    B: GO to step  29

    A: GO to Next Step 

  21. CHECK WIRE HARNESS (ECM - CANISTER PUMP MODULE) 
    1. Disconnect the A9 ECM connector.
    2. Disconnect the S3 canister pump module connector.
    3. Measure the resistance between VPMP terminal of the ECM connector and VGND terminal of the canister pump module connector.
      Fig 19: Identifying Terminals Of A9 ECM Connector
      G05184212Courtesy of © TOYOTA, LICENSE AGREEMENT TMS1002

      Result 

      RESULT CHART

      Test Result Suspected Trouble Area Proceed to
      Below 1 Ω ECM A
      10 kΩ or higher Wire harness between ECM and canister pump module B
    4. Reconnect the ECM connector.
    5. Reconnect the canister pump module connector.

    A: GO to step  34

    B: GO to step  31

  22. PERFORM ACTIVE TEST USING INTELLIGENT TESTER (VACUUM PUMP (ALONE)) 
    1. Turn the ignition switch OFF.
    2. Disconnect the S3 canister pump module connector.
    3. Turn the ignition switch ON.
    4. On the intelligent tester, select the following menu items: DIAGNOSIS / ENHANCED OBD II / ACTIVE TEST / VACUUM PUMP.
    5. Measure the voltage between MTRB terminal 1 of the canister pump module connector and the body ground when the leak detection pump is turned ON and OFF using the tester.
    Fig 20: Identifying S3 Canister Pump Module Connector
    G05184213Courtesy of © TOYOTA, LICENSE AGREEMENT TMS1002

    Result 

    RESULT CHART

    Test Result Suspected Trouble Area Proceed to
    Below 3 V when OFF 9 to 14 V when ON
    • Wire harness between leak detection pump and body ground
    • Leak detection pump
    A
    Below 3 V when OFF and ON
    • Wire harness between leak detection pump and ECM
    • ECM
    B

    B: GO to step  24

    A: GO to Next Step 

  23. CHECK WIRE HARNESS (CANISTER PUMP MODULE - BODY GROUND) 
    1. Turn the ignition switch OFF.
    2. Disconnect the S3 canister pump module connector.
    3. Check the resistance between MGND terminal of the canister pump module connector and the body ground.
      Fig 21: Identifying S3 Canister Pump Module Connector
      G05184214Courtesy of © TOYOTA, LICENSE AGREEMENT TMS1002

      Result 

      RESULT CHART

      Test Result Suspected Trouble Area Proceed to
      Below 1 Ω Leak detection pump A
      10 kΩ or higher Wire harness between canister pump module and body ground B
    4. Reconnect the canister pump module connector.

    A: GO to step  29

    B: GO to step  31

  24. CHECK WIRE HARNESS (ECM - CANISTER PUMP MODULE) 
    1. Turn the ignition switch OFF.
    2. Disconnect the S3 canister pump module connector.
    3. Disconnect the A9 ECM connector.
    4. Measure the resistance between MPMP terminal of the ECM connector and MTRB terminal of the canister pump module connector.
      Fig 22: Identifying S3 Canister Pump Module Connector
      G05184215Courtesy of © TOYOTA, LICENSE AGREEMENT TMS1002

      Result 

      RESULT CHART

      Test Result Suspected Trouble Area Proceed to
      Below 1 Ω ECM A
      10 kΩ or higher Wire harness between ECM and canister pump module B
    5. Reconnect the canister pump module connector.
    6. Reconnect the ECM connector.

    A: GO to step  34

    B: GO to step  31

  25. INSPECT INTAKE MANIFOLD (EVAP PURGE PORT) 
    1. Stop the engine.
    2. Disconnect the EVAP hose from the intake manifold.
    3. Start the engine.
    4. Use your finger to confirm that the port of the intake manifold has suction.

      Result 

      RESULT CHART

      Test Result Suspected Trouble Area Proceed to
      Suction applied EVAP hose between intake manifold and purge VSV A
      No suction Intake manifold B
    5. Reconnect the EVAP hose.

    A: GO to step  32

    B: GO to step  33

  26. CORRECTLY REINSTALL OR REPLACE FUEL CAP 

    HINT:

    • When reinstalling the fuel cap, tighten it until a few click sounds are heard.
    • When replacing the fuel cap, use a fuel cap that meets OEM specifications, and install it until a few click sounds are heard.

    NEXT: GO to step  36

  27. REPLACE FUEL CAP 

    HINT:

    When installing the fuel cap, tighten it until a few click sounds are heard.

    NEXT: GO to step  36

  28. LOCATE EVAP LEAK PART 
    Fig 23: Connecting EVAP Tester To Canister Pump Module With Adapter
    G05184216Courtesy of © TOYOTA, LICENSE AGREEMENT TMS1002
    1. Disconnect the vent hose.
    2. Connect the EVAP tester to the canister pump module with the adapter.
    3. Pressurize the EVAP system to 3.2 to 3.7 kPa (24 to 28 mmHg).
    4. Apply soapy water to the piping and connecting parts of the EVAP system.
    5. Look for areas where bubbles appear. This indicates the leak point.
    6. Repair or replace the leak point.

    HINT:

    Disconnect the hose between the canister and the fuel tank from the canister. Block the canister side and conduct an inspection. In this way, the fuel tank can be excluded as an area suspected of causing fuel leaks.

    NEXT: GO to step  36

  29. REPLACE CHARCOAL CANISTER ASSEMBLY 
    1. Replace the canister assembly (See ).
    NOTE: When replacing the canister, check the canister pump module interior and related pipes for water, fuel and other liquids. If liquids are present, check for disconnections and/or cracks in the following: 1) the pipe from the air inlet port to the canister pump module; 2) the canister filter; and 3) the fuel tank vent hose.
    Fig 24: Checking Canister Pump Module Interior And Related Pipes
    G05183619Courtesy of © TOYOTA, LICENSE AGREEMENT TMS1002

    NEXT: GO to step  36

  30. REPLACE PURGE VSV 
    1. Disconnect the connector and the hoses from the purge VSV.
    2. Remove the purge VSV.
    3. Install a new purge VSV.
    4. Reconnect the connector and hoses.

    NEXT: GO to step  36

    Fig 25: Identifying Connector And Hoses And Purge VSV
    G05183766Courtesy of © TOYOTA, LICENSE AGREEMENT TMS1002
  31. REPAIR OR REPLACE HARNESS AND CONNECTOR 

    NEXT: GO to step  36

  32. REPLACE EVAP HOSE (INTAKE MANIFOLD - PURGE VSV) 

    NEXT: GO to step  36

  33. INSPECT INTAKE MANIFOLD (EVAP PURGE PORT) 
    1. Check that the EVAP purge port of the intake manifold is not clogged. If necessary, replace the intake manifold.

    NEXT: GO to step  36

  34. REPLACE ECM 
    1. Replace the ECM (see INSPECTION PROCEDURE ).

    NEXT: GO to step  36

  35. REPAIR OR REPLACE PARTS AND COMPONENTS INDICATED BY OUTPUT DTCS 
    1. Repair the malfunctioning areas indicated by the DTCs that had been confirmed when the vehicle was brought in.

    NEXT: GO to step  36

  36. PERFORM EVAP SYSTEM CHECK (AUTO OPERATION) 
    NOTE:
    • The EVAP SYSTEM CHECK (AUTO OPERATION) consists of 5 steps performed automatically by the intelligent tester. It takes a maximum of approximately 18 minutes.
    • Do not perform the EVAP SYSTEM CHECK when the fuel tank is more than 90% full because the cut-off valve may be closed, making the fuel tank leak check unavailable.
    • Do not run the engine in this step.
    • When the temperature of the fuel is 35°C (95°F) or more, a large amount of vapor forms and any check results become inaccurate. When performing an EVAP SYSTEM CHECK, keep the temperature below 35°C (95°F).
    1. Clear DTCs (see DTC CHECK/CLEAR ).
    2. On the intelligent tester, select the following menu items: DIAGNOSIS / ENHANCED OBD II / SYSTEM CHECK / EVAP SYS CHECK / AUTO OPERATION.
    3. After the SYSTEM CHECK is completed, check for pending DTCs by selecting the following menu items: DIAGNOSIS / ENHANCED OBD II / DTC INFO / PENDING CODES.

    HINT:

    If no pending DTCs are found, the repair has been successfully completed.

    NEXT: COMPLETED