LEMON Manuals: Even more car manuals for everyone: 1960-2025
Home >> Toyota >> 2007 >> Tundra Base, 4.0 U >> Repair and Diagnosis >> Engine Performance >> Engine Control Systems >> Engine Control System (1GR-FE) - System Testing, On-Vehicle Inspection, Removal, Inspection & Installation >> ACIS Control Circuit >> Wiring Diagram
April 5, 2026: LEMON Manuals is launched! Read the announcement.

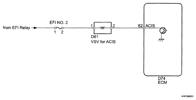
ACIS Control Circuit: Wiring Diagram

Fig 1: ACIS Control - Wiring Diagram
G05149533Courtesy of © TOYOTA, LICENSE AGREEMENT TMS1002