LEMON Manuals: Even more car manuals for everyone: 1960-2025
Home >> Toyota >> 2008 >> Avalon XLS >> Repair and Diagnosis >> Engine Performance >> Engine Control Systems >> Engine Control System (2GR-FE) - System And Circuit Testing, On-Vehicle Inspection, Removal, Inspection, Installation >> Camshaft Timing Oil Control Valve Assembly >> Inspection
April 5, 2026: LEMON Manuals is launched! Read the announcement.

Camshaft Timing Oil Control Valve Assembly: Inspection

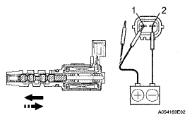
  1. INSPECT CAMSHAFT TIMING OIL CONTROL VALVE ASSEMBLY 
    1. Using an ohmmeter, measure the resistance between the terminals.
    2. Connect the battery's positive (+) lead to terminal 1 and negative (-) lead to terminal 2. Check the movement of the valve.

      OK: 

      RESISTANCE SPECIFICATION CHART

      Condition Result
      Battery positive voltage is applied Valve moves in left arrow direction shown in illustration
      Battery positive voltage is cut off Valve moves in right arrow direction shown in illustration

      If operation is not as specified, replace the valve.

      Fig 1: Connecting Battery's Positive (+) Lead To Terminal 1 And Negative (-) Lead To Terminal
      G04996534Courtesy of © TOYOTA, LICENSE AGREEMENT TMS1002